
Grevinkweg 2-TR is gelegen in de plaats Aalten, de gemeente Aalten en de provincie Gelderland. De oppervlakte van het object bedraagt 9 m². Dat is klein vergeleken met het Nederlandse gemiddelde. Het perceel waarop het adres ligt is 25 m² groot. In de straat is dit het kleinste object. Het grootste verblijfsobject heeft een oppervlakte van 347 m². De gemiddelde grootte is er 146 m². De gemiddelde bouwperiode van gebouwen in Nederland ligt tussen de jaren 1965-1984. Dat geldt ook voor het bouwjaar van Grevinkweg 2-TR: het is gebouwd in het jaar 1975. Veel andere gebouwen in de straat zijn ouder dan dit pand. Het oudste pand komt uit het jaar 1900 en het nieuwste uit 2024. Voor het verblijfsobject gelden deze gebruiksdoelen: 'overige gebruiksfunctie'.
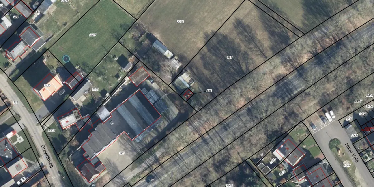
Het perceel waarop het adres ligt is ATN02-L-586. De afkorting 'ATN02' staat voor kadastrale gemeente Aalten. De gemiddelde perceelgrootte in Aalten is 5793,09 m². Dit perceel is kleiner: de perceeloppervlakte bedraagt 25 m². Het kleinste perceel in de kadastrale gemeente is 0 m² groot. De grootste perceeloppervlakte is 36,2 ha. Er zijn geen andere adressen aanwezig op het perceel. De laatste wijziging in het de Basisregistratie Kadaster (BRK) was op 22-01-1998.
Er is geen energielabel geregistreerd voor het adres. Het hoogste energielabel in de straat is A; het laagste is G. Het gemiddelde energielabel is er E. Het adres Grevinkweg 2-TR heeft als status: 'verblijfsobject in gebruik'. Het pand waarin dit adres ligt heeft als status: 'pand in gebruik'.
Grevinkweg 2-TR is een adres gelegen in de gemeente Aalten, provincie Gelderland. Dit adres is geregistreerd in de Basisregistratie Adressen en Gebouwen (BAG) met als unieke identificatie 0197010000034726.
Het pand op Grevinkweg 2-TR is gebouwd in 1975, wat betekent dat het 51 jaar oud is. Dit is een ouder pand. Het pand heeft mogelijk aanzienlijke renovaties nodig om aan de huidige standaarden te voldoen.
De woning op Grevinkweg 2-TR heeft een gebruiksoppervlakte van 9 m². Dit is relatief klein vergeleken met de gemiddelde Nederlandse woning, die een oppervlakte heeft van ongeveer 119 m². De gebruiksoppervlakte is de maat die wordt gebruikt in de BAG-registratie, de landelijke registratie van de Nederlandse overheid.
Grevinkweg 2-TR heeft als functie: overige doeleinden. Deze gebruiksfunctie(s) zijn vastgelegd in de BAG-registratie en geven aan waarvoor het adres officieel mag worden gebruikt.
Grevinkweg 2-TR is gelegen op kadastraal perceel ATN02L586. Deze kadastrale aanduiding is uniek en wordt gebruikt door het Kadaster om eigendomsrechten en andere zakelijke rechten vast te leggen. Het perceel maakt onderdeel uit van de kadastrale gemeente Aalten.
Het perceel waarop Grevinkweg 2-TR staat heeft een oppervlakte van 25 m². Dit is een klein perceel. De perceeloppervlakte wordt geregistreerd door het Kadaster. Gedetailleerde informatie over de maten van dit perceel kunt u vinden in het rapport Kadastrale kaart met maatvoering van Grevinkweg 2-TR.
De eigenaar van Grevinkweg 2-TR is op te vragen op deze pagina
De informatie over dit adres is afkomstig uit officiële overheidsregistraties, voornamelijk de Basisregistratie Adressen en Gebouwen (BAG) en de Basisregistratie Kadaster (BRK). Deze gegevens worden beheerd door respectievelijk gemeenten en het Kadaster, en worden regelmatig bijgewerkt. Energielabelgegevens komen uit de database van de Rijksdienst voor Ondernemend Nederland (RVO).
