
Eedeweg 15 is een adres in Aardenburg, dat zich bevindt binnen de gemeentegrenzen van Aardenburg en de grenzen van de provincie Zeeland. De oppervlakte van het verblijfsobject is met 2248 m² aan de grote kant. Het perceel heeft een oppervlakte van 1850 m². Dit is het grootste verblijfsobject. Gemiddeld hebben de objecten in de straat een oppervlakte van 289 m². Het kleinste verblijfsobject is er 8 m². In Nederland komt het grootste deel van de gebouwen uit de periode 1965-1984. Ook het bouwjaar van Eedeweg 15 is afkomstig uit die periode: het betreft namelijk een pand uit 1965. Dit object is relatief nieuw in de straat. Het nieuwste gebouw komt er uit het jaar 2024 en het oudste uit het jaar 1908. Voor het verblijfsobject gelden deze gebruiksdoelen: 'industriefunctie'.
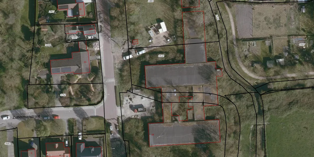
Het adres is gelegen op perceel 2532 in de sectie E en de kadastrale gemeente Aardenburg. De kadastrale aanduiding is aldus ADB00-E-2532. De gemiddelde perceelgrootte in Aardenburg is 9081,96 m². Dit perceel is kleiner: de perceeloppervlakte bedraagt 1850 m². Het grootste perceel in de kadastrale gemeente is 34,3 ha. Het kleinste perceel heeft een oppervlakte van 1 m². Op het perceel bevinden zich geen andere adressen. De huidige grenzen van het perceel zijn digitaal in de Basisregistratie Kadaster (BRK) geregistreerd op 31-03-2010.
Er is geen energielabel geregistreerd voor het adres. Het hoogste energielabel in de straat is A; het laagste is G. Het gemiddelde energielabel is er C. Het adres Eedeweg 15 heeft als status: 'verblijfsobject in gebruik'. Het pand waarin dit adres ligt heeft als status: 'pand in gebruik'.
Eedeweg 15 is een adres gelegen in de gemeente Sluis, provincie Zeeland. Dit adres is geregistreerd in de Basisregistratie Adressen en Gebouwen (BAG) met als unieke identificatie 1714010000747218.
Het pand op Eedeweg 15 is gebouwd in 1965, wat betekent dat het 61 jaar oud is. Dit is een ouder pand. Het pand heeft mogelijk aanzienlijke renovaties nodig om aan de huidige standaarden te voldoen.
De woning op Eedeweg 15 heeft een gebruiksoppervlakte van 2248 m². Dit is ruim vergeleken met de gemiddelde Nederlandse woning, die een oppervlakte heeft van ongeveer 119 m². De gebruiksoppervlakte is de maat die wordt gebruikt in de BAG-registratie, de landelijke registratie van de Nederlandse overheid.
Eedeweg 15 heeft als functie: industrie. Deze gebruiksfunctie(s) zijn vastgelegd in de BAG-registratie en geven aan waarvoor het adres officieel mag worden gebruikt.
Eedeweg 15 is gelegen op kadastraal perceel ADB00E2532. Deze kadastrale aanduiding is uniek en wordt gebruikt door het Kadaster om eigendomsrechten en andere zakelijke rechten vast te leggen. Het perceel maakt onderdeel uit van de kadastrale gemeente Aardenburg.
Het perceel waarop Eedeweg 15 staat heeft een oppervlakte van 1850 m². Dit is een zeer groot perceel. De perceeloppervlakte wordt geregistreerd door het Kadaster. Gedetailleerde informatie over de maten van dit perceel kunt u vinden in het rapport Kadastrale kaart met maatvoering van Eedeweg 15.
De eigenaar van Eedeweg 15 is op te vragen op deze pagina.
De informatie over dit adres is afkomstig uit officiële overheidsregistraties, voornamelijk de Basisregistratie Adressen en Gebouwen (BAG) en de Basisregistratie Kadaster (BRK). Deze gegevens worden beheerd door respectievelijk gemeenten en het Kadaster, en worden regelmatig bijgewerkt. Energielabelgegevens komen uit de database van de Rijksdienst voor Ondernemend Nederland (RVO).
