
Eckeltsedijk 2 is een adres in Afferden L, dat zich bevindt binnen de gemeentegrenzen van Afferden L en de grenzen van de provincie Limburg. Het object heeft een oppervlakte van 322 m², wat relatief groot is. Het perceel waarop het adres ligt is 2020 m² groot. Dit is het grootste verblijfsobject. Gemiddeld hebben de objecten in de straat een oppervlakte van 217 m². Het kleinste verblijfsobject is er 117 m². Eckeltsedijk 2 bevindt zich in een pand uit het jaar 1870. Daarmee behoort het tot de groep relatief oude panden in Nederland die gebouwd zijn vóór 1965. Het gemiddelde bouwjaar in de straat is 1935 en dat van het nieuwste object 2020. In de straat is dit het oudste pand. Het verblijfsobject heeft de volgende gebruiksdoelen: 'woonfunctie'.
Deze woning is voor het laatst verkocht op 1 september 2005. Meer informatie over deze transactie? Bestel het Woningtransactierapport om de verkoopprijs en andere informatie te zien.
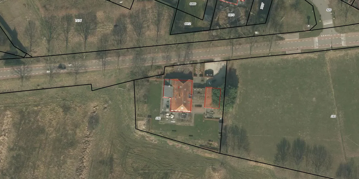
Het adres is gelegen op perceel 192 in de sectie T en de kadastrale gemeente Bergen Limburg. De kadastrale aanduiding is aldus BGN02-T-192. Het perceel is kleiner dan gemiddeld in Bergen Limburg. Het perceel is 2020 m² groot, terwijl het gemiddelde ligt op 9521,29 m². Het grootste perceel in de kadastrale gemeente is 1,62 km². Het kleinste perceel heeft een oppervlakte van 0 m². Dit is het enige adres dat aanwezig is op het perceel. De huidige grenzen van het perceel zijn digitaal in de Basisregistratie Kadaster (BRK) geregistreerd op 31-03-2011.
Er is geen energielabel geregistreerd voor het adres. Het hoogste energielabel in de straat is A; het laagste is G. Het gemiddelde energielabel is er E. Het adres Eckeltsedijk 2 heeft als status: 'verblijfsobject in gebruik'. Het pand waarin dit adres ligt heeft als status: 'pand in gebruik'.
Eckeltsedijk 2 is een adres gelegen in de gemeente Bergen (L.), provincie Limburg. Dit adres is geregistreerd in de Basisregistratie Adressen en Gebouwen (BAG) met als unieke identificatie 0893010000143045.
Het pand op Eckeltsedijk 2 is gebouwd in 1870, wat betekent dat het 156 jaar oud is. Dit is een ouder pand. Het pand heeft mogelijk aanzienlijke renovaties nodig om aan de huidige standaarden te voldoen.
De woning op Eckeltsedijk 2 heeft een gebruiksoppervlakte van 322 m². Dit is ruim vergeleken met de gemiddelde Nederlandse woning, die een oppervlakte heeft van ongeveer 119 m². De gebruiksoppervlakte is de maat die wordt gebruikt in de BAG-registratie, de landelijke registratie van de Nederlandse overheid.
Eckeltsedijk 2 heeft als functie: wonen. Deze gebruiksfunctie(s) zijn vastgelegd in de BAG-registratie en geven aan waarvoor het adres officieel mag worden gebruikt.
Eckeltsedijk 2 is gelegen op kadastraal perceel BGN02T192. Deze kadastrale aanduiding is uniek en wordt gebruikt door het Kadaster om eigendomsrechten en andere zakelijke rechten vast te leggen. Het perceel maakt onderdeel uit van de kadastrale gemeente Bergen Limburg.
Het perceel waarop Eckeltsedijk 2 staat heeft een oppervlakte van 2020 m². Dit is een zeer groot perceel. De perceeloppervlakte wordt geregistreerd door het Kadaster. Gedetailleerde informatie over de maten van dit perceel kunt u vinden in het rapport Kadastrale kaart met maatvoering van Eckeltsedijk 2.
De eigenaar van Eckeltsedijk 2 is op te vragen op deze pagina.
De informatie over dit adres is afkomstig uit officiële overheidsregistraties, voornamelijk de Basisregistratie Adressen en Gebouwen (BAG) en de Basisregistratie Kadaster (BRK). Deze gegevens worden beheerd door respectievelijk gemeenten en het Kadaster, en worden regelmatig bijgewerkt. Energielabelgegevens komen uit de database van de Rijksdienst voor Ondernemend Nederland (RVO).
