
Heukelom 21 is een adres in Afferden L, dat zich bevindt binnen de gemeentegrenzen van Afferden L en de grenzen van de provincie Limburg. De oppervlakte bedraagt 343 m², waarmee het adres groter dan gemiddeld is. De grootte van het perceel waarop het adres ligt is 1130 m². In vergelijking met de andere adressen in de straat is de oppervlakte van dit object relatief groot. Het grootste verblijfsobject heeft een oppervlakte van 605 m², de oppervlakte van het kleinste object bedraagt 7 m². Heukelom 21 bevindt zich in een pand uit het jaar 1918. Daarmee behoort het tot de groep relatief oude panden in Nederland die gebouwd zijn vóór 1965. In de straat komt het nieuwste gebouw uit het jaar 2018 en het oudste uit 1859. Het bouwjaar van dit object is relatief oud. De volgende gebruiksdoelen zijn geregistreerd voor dit adres: 'woonfunctie' en 'bijeenkomstfunctie'.
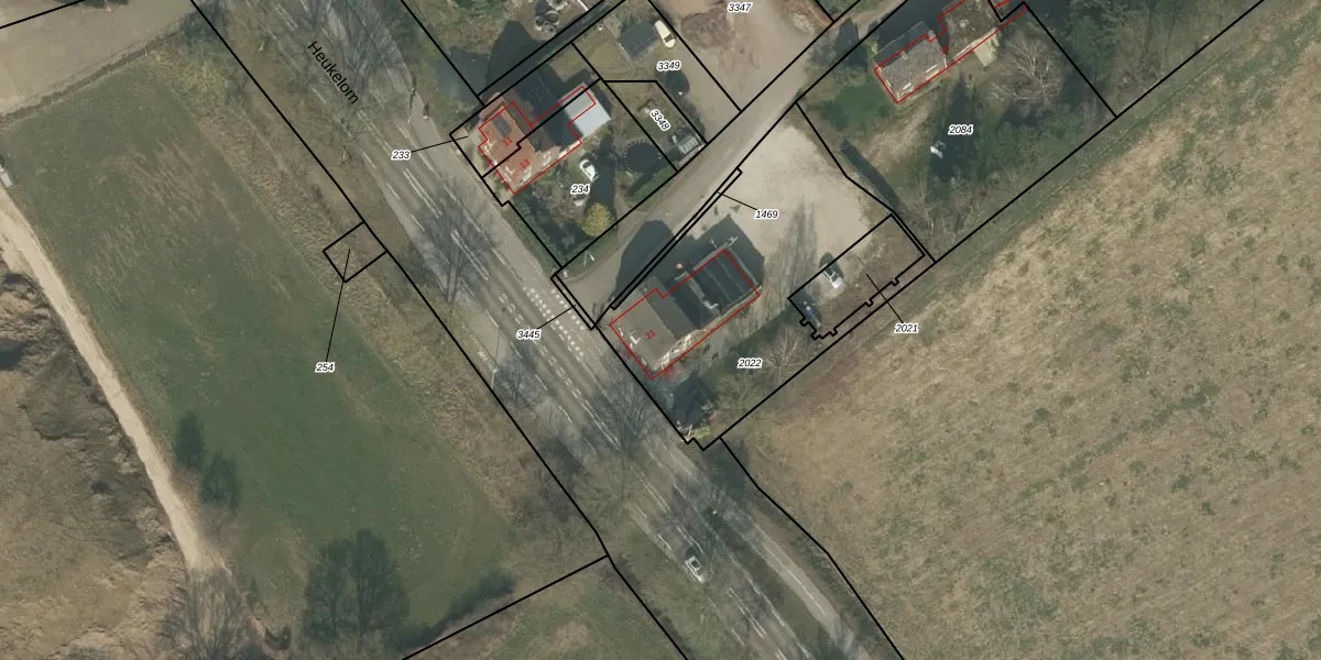
Het perceel waarop het adres ligt is BGN02-T-2022. De afkorting 'BGN02' staat voor kadastrale gemeente Bergen Limburg. Het perceel is 1130 m² groot. Dat is kleiner dan de gemiddelde perceeloppervlakte in Bergen Limburg, dat op 9563,25 m² ligt. Het grootste perceel in de kadastrale gemeente is 1,61 km². Het kleinste perceel heeft een oppervlakte van 0 m². Er zijn geen andere adressen aanwezig op het perceel. De huidige grenzen van het perceel zijn digitaal in de Basisregistratie Kadaster (BRK) geregistreerd op 13-06-2022.
Bij de laatste meting is voor het adres het energielabel A geregistreerd. Het hoogste energielabel in de straat is A; het laagste is G. Het gemiddelde energielabel is er D. Het adres Heukelom 21 heeft als status: 'verblijfsobject in gebruik'. Het pand waarin dit adres ligt heeft als status: 'pand in gebruik'.
Heukelom 21 is een adres gelegen in de gemeente Bergen (L.), provincie Limburg. Dit adres is geregistreerd in de Basisregistratie Adressen en Gebouwen (BAG) met als unieke identificatie 0893010000136051.
Het pand op Heukelom 21 is gebouwd in 1918, wat betekent dat het 108 jaar oud is. Dit is een ouder pand. Het pand heeft mogelijk aanzienlijke renovaties nodig om aan de huidige standaarden te voldoen.
De woning op Heukelom 21 heeft een gebruiksoppervlakte van 343 m². Dit is ruim vergeleken met de gemiddelde Nederlandse woning, die een oppervlakte heeft van ongeveer 119 m². De gebruiksoppervlakte is de maat die wordt gebruikt in de BAG-registratie, de landelijke registratie van de Nederlandse overheid.
Heukelom 21 heeft als functie: wonen en bijeenkomsten. Deze gebruiksfunctie(s) zijn vastgelegd in de BAG-registratie en geven aan waarvoor het adres officieel mag worden gebruikt.
Heukelom 21 is gelegen op kadastraal perceel BGN02T2022. Deze kadastrale aanduiding is uniek en wordt gebruikt door het Kadaster om eigendomsrechten en andere zakelijke rechten vast te leggen. Het perceel maakt onderdeel uit van de kadastrale gemeente Bergen Limburg.
Het perceel waarop Heukelom 21 staat heeft een oppervlakte van 1130 m². Dit is een zeer groot perceel. De perceeloppervlakte wordt geregistreerd door het Kadaster. Gedetailleerde informatie over de maten van dit perceel kunt u vinden in het rapport Kadastrale kaart met maatvoering van Heukelom 21.
De eigenaar van Heukelom 21 is op te vragen op deze pagina.
De informatie over dit adres is afkomstig uit officiële overheidsregistraties, voornamelijk de Basisregistratie Adressen en Gebouwen (BAG) en de Basisregistratie Kadaster (BRK). Deze gegevens worden beheerd door respectievelijk gemeenten en het Kadaster, en worden regelmatig bijgewerkt. Energielabelgegevens komen uit de database van de Rijksdienst voor Ondernemend Nederland (RVO).
