
Rimpelt 29 is gelegen in de plaats Afferden L, de gemeente Bergen (L.) en de provincie Limburg. Het object heeft een oppervlakte van 297 m², wat relatief groot is. Het perceel waarop het adres ligt is 1091 m² groot. Vergeleken met de andere verblijfsobjecten in de straat is dit object groot. De oppervlakte van het grootste object in de straat is 537 m², die van het kleinste bedraagt 10 m². In Nederland komt het grootste deel van de gebouwen uit de periode 1965-1984. Ook het bouwjaar van Rimpelt 29 is afkomstig uit die periode: het betreft namelijk een pand uit 1976. Vergeleken met de andere panden in de straat is dit gebouw nieuw. Het vroegste bouwjaar is er 1880 en het laatste is 2013. Het verblijfsobject heeft de volgende gebruiksdoelen: 'woonfunctie'.
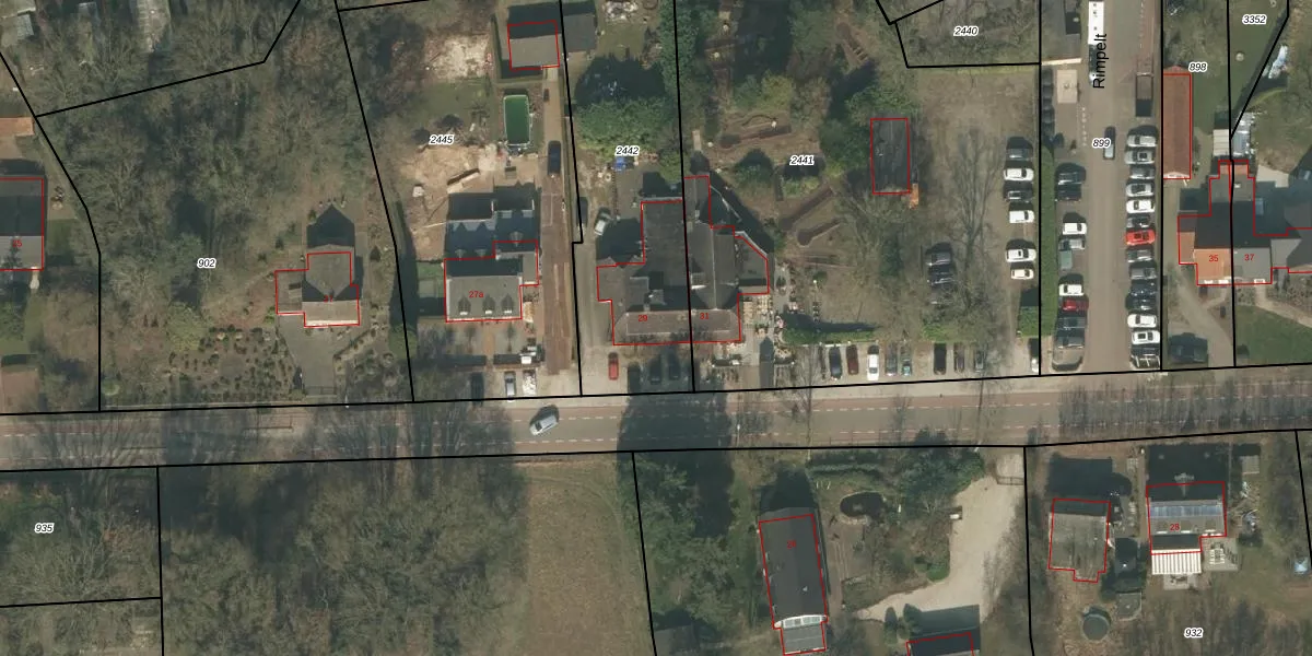
Het adres is gelegen op perceel 2442 in de sectie T en de kadastrale gemeente Bergen Limburg. De kadastrale aanduiding is aldus BGN02-T-2442. Het perceel is kleiner dan gemiddeld in Bergen Limburg. Het perceel is 1091 m² groot, terwijl het gemiddelde ligt op 9539,71 m². Het grootste perceel in de kadastrale gemeente is 1,61 km². Het kleinste perceel heeft een oppervlakte van 0 m². Dit is het enige adres dat aanwezig is op het perceel. De laatste wijziging in het de Basisregistratie Kadaster (BRK) was op 07-12-2009.
Er is geen energielabel geregistreerd voor het adres. Het hoogste energielabel in de straat is A; het laagste is G. Het gemiddelde energielabel is er D. Het adres Rimpelt 29 heeft als status: 'verblijfsobject in gebruik'. Het pand waarin dit adres ligt heeft als status: 'pand in gebruik'.
Rimpelt 29 is een adres gelegen in de gemeente Bergen (L.), provincie Limburg. Dit adres is geregistreerd in de Basisregistratie Adressen en Gebouwen (BAG) met als unieke identificatie 0893010000140349.
Het pand op Rimpelt 29 is gebouwd in 1976, wat betekent dat het 50 jaar oud is. Dit is een ouder pand. Het pand heeft mogelijk aanzienlijke renovaties nodig om aan de huidige standaarden te voldoen.
De woning op Rimpelt 29 heeft een gebruiksoppervlakte van 297 m². Dit is ruim vergeleken met de gemiddelde Nederlandse woning, die een oppervlakte heeft van ongeveer 119 m². De gebruiksoppervlakte is de maat die wordt gebruikt in de BAG-registratie, de landelijke registratie van de Nederlandse overheid.
Rimpelt 29 heeft als functie: wonen. Deze gebruiksfunctie(s) zijn vastgelegd in de BAG-registratie en geven aan waarvoor het adres officieel mag worden gebruikt.
Rimpelt 29 is gelegen op kadastraal perceel BGN02T2442. Deze kadastrale aanduiding is uniek en wordt gebruikt door het Kadaster om eigendomsrechten en andere zakelijke rechten vast te leggen. Het perceel maakt onderdeel uit van de kadastrale gemeente Bergen Limburg.
Het perceel waarop Rimpelt 29 staat heeft een oppervlakte van 1091 m². Dit is een zeer groot perceel. De perceeloppervlakte wordt geregistreerd door het Kadaster. Gedetailleerde informatie over de maten van dit perceel kunt u vinden in het rapport Kadastrale kaart met maatvoering van Rimpelt 29.
De eigenaar van Rimpelt 29 is op te vragen op deze pagina.
De informatie over dit adres is afkomstig uit officiële overheidsregistraties, voornamelijk de Basisregistratie Adressen en Gebouwen (BAG) en de Basisregistratie Kadaster (BRK). Deze gegevens worden beheerd door respectievelijk gemeenten en het Kadaster, en worden regelmatig bijgewerkt. Energielabelgegevens komen uit de database van de Rijksdienst voor Ondernemend Nederland (RVO).
