
Rimpelt 37 is gelegen in de plaats Afferden L, de gemeente Bergen (L.) en de provincie Limburg. De oppervlakte van het verblijfsobject is met 184 m² aan de grote kant. Het perceel heeft een oppervlakte van 3539 m². Het object is klein ten opzichte van de andere adressen in de straat. Het grootste verblijfsobject is 537 m² groot en het kleinste is 10 m². Rimpelt 37 bevindt zich in een pand uit het jaar 1935. Daarmee behoort het tot de groep relatief oude panden in Nederland die gebouwd zijn vóór 1965. Het nieuwste gebouw in de straat komt uit 2013 en het oudste uit 1880. Dit object is relatief oud. Voor het verblijfsobject gelden deze gebruiksdoelen: 'woonfunctie'.
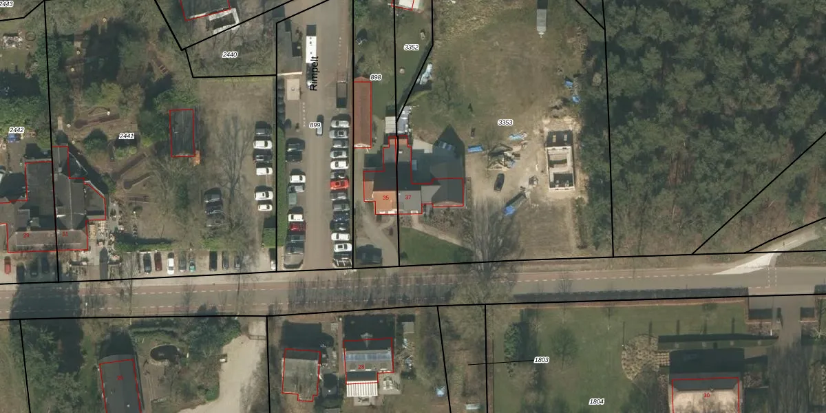
Het perceel waarop het adres ligt is BGN02-T-3353. De afkorting 'BGN02' staat voor kadastrale gemeente Bergen Limburg. De gemiddelde perceelgrootte in Bergen Limburg is 9539,71 m². Dit perceel is kleiner: de perceeloppervlakte bedraagt 3539 m². Het grootste perceel in de kadastrale gemeente is 1,61 km². Het kleinste perceel heeft een oppervlakte van 0 m². Op het perceel bevinden zich geen andere adressen. De laatste wijziging in het de Basisregistratie Kadaster (BRK) was op 07-08-2020.
Er is geen energielabel geregistreerd voor het adres. Het hoogste energielabel in de straat is A; het laagste is G. Het gemiddelde energielabel is er D. Het adres Rimpelt 37 heeft als status: 'verblijfsobject in gebruik'. Het pand waarin dit adres ligt heeft als status: 'pand in gebruik'.
Rimpelt 37 is een adres gelegen in de gemeente Bergen (L.), provincie Limburg. Dit adres is geregistreerd in de Basisregistratie Adressen en Gebouwen (BAG) met als unieke identificatie 0893010000138125.
Het pand op Rimpelt 37 is gebouwd in 1935, wat betekent dat het 91 jaar oud is. Dit is een ouder pand. Het pand heeft mogelijk aanzienlijke renovaties nodig om aan de huidige standaarden te voldoen.
De woning op Rimpelt 37 heeft een gebruiksoppervlakte van 184 m². Dit is ruim vergeleken met de gemiddelde Nederlandse woning, die een oppervlakte heeft van ongeveer 119 m². De gebruiksoppervlakte is de maat die wordt gebruikt in de BAG-registratie, de landelijke registratie van de Nederlandse overheid.
Rimpelt 37 heeft als functie: wonen. Deze gebruiksfunctie(s) zijn vastgelegd in de BAG-registratie en geven aan waarvoor het adres officieel mag worden gebruikt.
Rimpelt 37 is gelegen op kadastraal perceel BGN02T3353. Deze kadastrale aanduiding is uniek en wordt gebruikt door het Kadaster om eigendomsrechten en andere zakelijke rechten vast te leggen. Het perceel maakt onderdeel uit van de kadastrale gemeente Bergen Limburg.
Het perceel waarop Rimpelt 37 staat heeft een oppervlakte van 3539 m². Dit is een zeer groot perceel. De perceeloppervlakte wordt geregistreerd door het Kadaster. Gedetailleerde informatie over de maten van dit perceel kunt u vinden in het rapport Kadastrale kaart met maatvoering van Rimpelt 37.
De eigenaar van Rimpelt 37 is op te vragen op deze pagina.
De informatie over dit adres is afkomstig uit officiële overheidsregistraties, voornamelijk de Basisregistratie Adressen en Gebouwen (BAG) en de Basisregistratie Kadaster (BRK). Deze gegevens worden beheerd door respectievelijk gemeenten en het Kadaster, en worden regelmatig bijgewerkt. Energielabelgegevens komen uit de database van de Rijksdienst voor Ondernemend Nederland (RVO).
