
Polderstraat 9-g-73 is gelegen in de plaats Alblasserdam, de gemeente Alblasserdam en de provincie Zuid-Holland. De oppervlakte van het object bedraagt 18 m². Dat is klein vergeleken met het Nederlandse gemiddelde. Het perceel waarop het adres ligt is 1,1 ha groot. Er zijn geen kleinere objecten in deze straat. De gemiddelde oppervlakte is er 79 m². Het grootste verblijfsobject is 1455 m². Het gebouw waarin Polderstraat 9-g-73 ligt komt uit het jaar 1941. Objecten die gebouwd zijn vóór 1965 classificeren we hier als oud. In de straat komt het nieuwste gebouw uit het jaar 2025 en het oudste uit 1885. Het bouwjaar van dit object is relatief oud. Voor het verblijfsobject gelden deze gebruiksdoelen: 'overige gebruiksfunctie'.
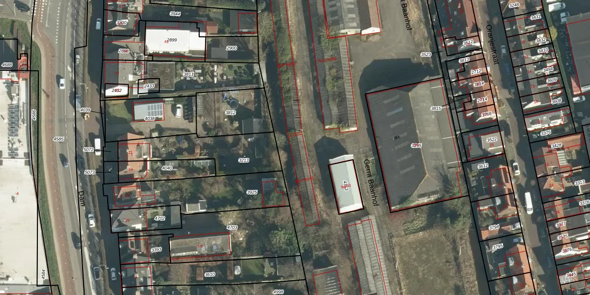
Het adres ligt op het perceel ABS01-B-4314, dat zich in de kadastrale gemeente Alblasserdam bevindt. Het perceel is met 1,1 ha relatief groot. Het gemiddelde ligt in de kadastrale gemeente Alblasserdam op 1314,18 m². Het kleinste perceel in de kadastrale gemeente is 0 m² groot. De grootste perceeloppervlakte is 19,4 ha. Op het perceel zijn 89 adressen aanwezig. De laatste wijziging in het de Basisregistratie Kadaster (BRK) was op 14-03-2024.
Er is geen energielabel geregistreerd voor het adres. Het hoogste energielabel in de straat is A+; het laagste is G. Het gemiddelde energielabel is er C. Het adres Polderstraat 9-g-73 heeft als status: 'verblijfsobject in gebruik'. Het pand waarin dit adres ligt heeft als status: 'pand in gebruik'.
Polderstraat 9-g-73 is een adres gelegen in de gemeente Alblasserdam, provincie Zuid-Holland. Dit adres is geregistreerd in de Basisregistratie Adressen en Gebouwen (BAG) met als unieke identificatie 0482010001262495.
Het pand op Polderstraat 9-g-73 is gebouwd in 1941, wat betekent dat het 85 jaar oud is. Dit is een ouder pand. Het pand heeft mogelijk aanzienlijke renovaties nodig om aan de huidige standaarden te voldoen.
De woning op Polderstraat 9-g-73 heeft een gebruiksoppervlakte van 18 m². Dit is relatief klein vergeleken met de gemiddelde Nederlandse woning, die een oppervlakte heeft van ongeveer 119 m². De gebruiksoppervlakte is de maat die wordt gebruikt in de BAG-registratie, de landelijke registratie van de Nederlandse overheid.
Polderstraat 9-g-73 heeft als functie: overige doeleinden. Deze gebruiksfunctie(s) zijn vastgelegd in de BAG-registratie en geven aan waarvoor het adres officieel mag worden gebruikt.
Polderstraat 9-g-73 is gelegen op kadastraal perceel ABS01B4314. Deze kadastrale aanduiding is uniek en wordt gebruikt door het Kadaster om eigendomsrechten en andere zakelijke rechten vast te leggen. Het perceel maakt onderdeel uit van de kadastrale gemeente Alblasserdam.
Het perceel waarop Polderstraat 9-g-73 staat heeft een oppervlakte van 1,1 ha. Dit is een zeer groot perceel. De perceeloppervlakte wordt geregistreerd door het Kadaster. Gedetailleerde informatie over de maten van dit perceel kunt u vinden in het rapport Kadastrale kaart met maatvoering van Polderstraat 9-g-73.
De eigenaar van Polderstraat 9-g-73 is op te vragen op deze pagina.
De informatie over dit adres is afkomstig uit officiële overheidsregistraties, voornamelijk de Basisregistratie Adressen en Gebouwen (BAG) en de Basisregistratie Kadaster (BRK). Deze gegevens worden beheerd door respectievelijk gemeenten en het Kadaster, en worden regelmatig bijgewerkt. Energielabelgegevens komen uit de database van de Rijksdienst voor Ondernemend Nederland (RVO).
