
Het adres Jan Binneswei 23 bevindt zich in de plaats Aldwâld, in de gemeente Aldwâld en de provincie Friesland. Het verblijfsobject is 137 m² groot en bevindt zich op een perceel met een oppervlakte van 2006 m². Gemiddeld hebben adressen in Nederland een oppervlakte van 119 m². Het object is klein ten opzichte van de andere adressen in de straat. Het grootste verblijfsobject is 435 m² groot en het kleinste is 86 m². Het gebouw waarin Jan Binneswei 23 ligt komt uit het jaar 1928. Objecten die gebouwd zijn vóór 1965 classificeren we hier als oud. Het bouwjaar is oud vergeleken met dat van de andere panden in de straat. Het oudste bouwjaar is er 1790 en de nieuwste is 2025. De volgende gebruiksdoelen zijn geregistreerd voor dit adres: 'woonfunctie'.
Deze woning is voor het laatst verkocht op 1 mei 2018. Meer informatie over deze transactie? Bestel het Woningtransactierapport om de verkoopprijs en andere informatie te zien.
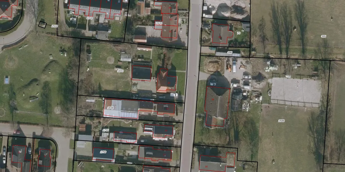
Het perceel waarop het adres ligt is WTG01-B-1833. De afkorting 'WTG01' staat voor kadastrale gemeente Westergeest. Het perceel is 2006 m² groot. Dat is kleiner dan de gemiddelde perceeloppervlakte in Westergeest, dat op 8417,21 m² ligt. Het kleinste perceel in de kadastrale gemeente is 0 m² groot. De grootste perceeloppervlakte is 47,5 ha. Dit is het enige adres dat aanwezig is op het perceel. In de Basisregistratie Kadaster (BRK) werden de grenzen van het perceel geregistreerd op 07-05-2008.
Het adres ligt in een gebouw van het type 'vrijstaande woning'. Bij de laatste meting is voor het adres het energielabel G geregistreerd. Het hoogste energielabel in de straat is A++++; het laagste is G. Het gemiddelde energielabel is er C. Het adres Jan Binneswei 23 heeft als status: 'verblijfsobject in gebruik'. Het pand waarin dit adres ligt heeft als status: 'pand in gebruik'.
Jan Binneswei 23 is een adres gelegen in de gemeente Noardeast-Fryslân, provincie Friesland. Dit adres is geregistreerd in de Basisregistratie Adressen en Gebouwen (BAG) met als unieke identificatie 0079010000375289.
Het pand op Jan Binneswei 23 is gebouwd in 1928, wat betekent dat het 98 jaar oud is. Dit is een ouder pand. Het pand heeft mogelijk aanzienlijke renovaties nodig om aan de huidige standaarden te voldoen.
De woning op Jan Binneswei 23 heeft een gebruiksoppervlakte van 137 m². Dit is gemiddeld vergeleken met de gemiddelde Nederlandse woning, die een oppervlakte heeft van ongeveer 119 m². De gebruiksoppervlakte is de maat die wordt gebruikt in de BAG-registratie, de landelijke registratie van de Nederlandse overheid.
Jan Binneswei 23 heeft als functie: wonen. Deze gebruiksfunctie(s) zijn vastgelegd in de BAG-registratie en geven aan waarvoor het adres officieel mag worden gebruikt.
Jan Binneswei 23 is gelegen op kadastraal perceel WTG01B1833. Deze kadastrale aanduiding is uniek en wordt gebruikt door het Kadaster om eigendomsrechten en andere zakelijke rechten vast te leggen. Het perceel maakt onderdeel uit van de kadastrale gemeente Westergeest.
Het perceel waarop Jan Binneswei 23 staat heeft een oppervlakte van 2006 m². Dit is een zeer groot perceel. De perceeloppervlakte wordt geregistreerd door het Kadaster. Gedetailleerde informatie over de maten van dit perceel kunt u vinden in het rapport Kadastrale kaart met maatvoering van Jan Binneswei 23.
De eigenaar van Jan Binneswei 23 is op te vragen op deze pagina.
De informatie over dit adres is afkomstig uit officiële overheidsregistraties, voornamelijk de Basisregistratie Adressen en Gebouwen (BAG) en de Basisregistratie Kadaster (BRK). Deze gegevens worden beheerd door respectievelijk gemeenten en het Kadaster, en worden regelmatig bijgewerkt. Energielabelgegevens komen uit de database van de Rijksdienst voor Ondernemend Nederland (RVO).
