
Blauwedijk 22 is een adres in Almen, dat zich bevindt binnen de gemeentegrenzen van Almen en de grenzen van de provincie Gelderland. De oppervlakte van het verblijfsobject is met 231 m² aan de grote kant. Het perceel heeft een oppervlakte van 9185 m². De oppervlakte van dit adres is groot vergeleken met de oppervlaktes van andere adressen in de straat. De kleinste oppervlakte bedraagt er 7 m², de grootste 295 m². Het gebouw waarin Blauwedijk 22 ligt komt uit het jaar 1912. Objecten die gebouwd zijn vóór 1965 classificeren we hier als oud. Het nieuwste gebouw in de straat komt uit 2025 en het oudste uit 1811. Dit object is relatief oud. De volgende gebruiksdoelen zijn geregistreerd voor dit adres: 'woonfunctie'.
Deze woning is voor het laatst verkocht op 1 april 2020. Meer informatie over deze transactie? Bestel het Woningtransactierapport om de verkoopprijs en andere informatie te zien.
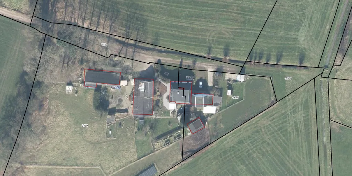
Het adres ligt op het perceel AMN00-D-3489, dat zich in de kadastrale gemeente Almen bevindt. De oppervlakte van het perceel is 9185 m². Dat is groter dan gemiddeld in Almen, waar de gemiddelde perceeloppervlakte op 8304,22 m² ligt. Het kleinste perceel in de kadastrale gemeente is 0 m² groot. De grootste perceeloppervlakte is 88,8 ha. Op het perceel bevinden zich geen andere adressen. De huidige grenzen van het perceel zijn digitaal in de Basisregistratie Kadaster (BRK) geregistreerd op 10-01-2020.
Het adres ligt in een gebouw van het type 'twee-onder-een-kap / rijwoning hoek met het subtype twee-onder-een-kap'. Bij de laatste meting is voor het adres het energielabel F geregistreerd. Het hoogste energielabel in de straat is B; het laagste is G. Het gemiddelde energielabel is er D. Het adres Blauwedijk 22 heeft als status: 'verblijfsobject in gebruik'. Het pand waarin dit adres ligt heeft als status: 'pand in gebruik'.
Blauwedijk 22 is een adres gelegen in de gemeente Lochem, provincie Gelderland. Dit adres is geregistreerd in de Basisregistratie Adressen en Gebouwen (BAG) met als unieke identificatie 0262010000000156.
Het pand op Blauwedijk 22 is gebouwd in 1912, wat betekent dat het 114 jaar oud is. Dit is een ouder pand. Het pand heeft mogelijk aanzienlijke renovaties nodig om aan de huidige standaarden te voldoen.
De woning op Blauwedijk 22 heeft een gebruiksoppervlakte van 231 m². Dit is ruim vergeleken met de gemiddelde Nederlandse woning, die een oppervlakte heeft van ongeveer 119 m². De gebruiksoppervlakte is de maat die wordt gebruikt in de BAG-registratie, de landelijke registratie van de Nederlandse overheid.
Blauwedijk 22 heeft als functie: wonen. Deze gebruiksfunctie(s) zijn vastgelegd in de BAG-registratie en geven aan waarvoor het adres officieel mag worden gebruikt.
Blauwedijk 22 is gelegen op kadastraal perceel AMN00D3489. Deze kadastrale aanduiding is uniek en wordt gebruikt door het Kadaster om eigendomsrechten en andere zakelijke rechten vast te leggen. Het perceel maakt onderdeel uit van de kadastrale gemeente Almen.
Het perceel waarop Blauwedijk 22 staat heeft een oppervlakte van 9185 m². Dit is een zeer groot perceel. De perceeloppervlakte wordt geregistreerd door het Kadaster. Gedetailleerde informatie over de maten van dit perceel kunt u vinden in het rapport Kadastrale kaart met maatvoering van Blauwedijk 22.
De eigenaar van Blauwedijk 22 is op te vragen op deze pagina.
De informatie over dit adres is afkomstig uit officiële overheidsregistraties, voornamelijk de Basisregistratie Adressen en Gebouwen (BAG) en de Basisregistratie Kadaster (BRK). Deze gegevens worden beheerd door respectievelijk gemeenten en het Kadaster, en worden regelmatig bijgewerkt. Energielabelgegevens komen uit de database van de Rijksdienst voor Ondernemend Nederland (RVO).
