
Het adres Scheggertdijk 106 bevindt zich in de plaats Almen, in de gemeente Almen en de provincie Gelderland. De oppervlakte van het object bedraagt 78 m². Dat is klein vergeleken met het Nederlandse gemiddelde. Het perceel waarop het adres ligt is 1,9 ha groot. Het object is klein ten opzichte van de andere adressen in de straat. Het grootste verblijfsobject is 1758 m² groot en het kleinste is 2 m². In het jaar 2019 is het pand waarin Scheggertdijk 106 ligt gebouwd. Dat is relatief recent: de meeste gebouwen in Nederland zijn gebouwd in de periode 1965-1984. Veel andere gebouwen in de straat zijn ouder dan dit pand. Het oudste pand komt uit het jaar 1863 en het nieuwste uit 2026. Het verblijfsobject heeft de volgende gebruiksdoelen: 'logiesfunctie'.
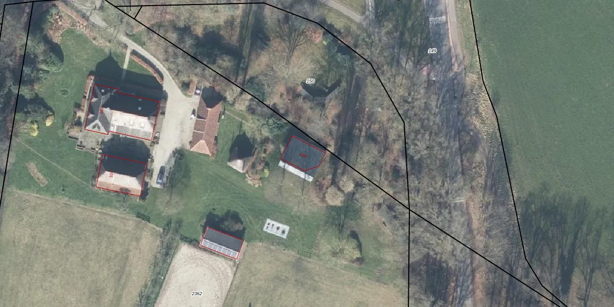
Het perceel waarop het adres ligt is AMN00-D-2362. De afkorting 'AMN00' staat voor kadastrale gemeente Almen. De gemiddelde perceeloppervlakte in de kadastrale gemeente Almen is 8310,76 m². Dit perceel is met zijn 1,9 ha dus groter dan gemiddeld. De grootste perceeloppervlakte in de kadastrale gemeente is 88,8 ha. De kleinste oppervlakte bedraagt 0 m². Op het perceel zijn 3 adressen aanwezig. In de Basisregistratie Kadaster (BRK) werden de grenzen van het perceel geregistreerd op 28-09-2005.
Er is geen energielabel geregistreerd voor het adres. Het hoogste energielabel in de straat is B; het laagste is G. Het gemiddelde energielabel is er E. Het adres Scheggertdijk 106 heeft als status: 'verblijfsobject in gebruik'. Het pand waarin dit adres ligt heeft als status: 'pand in gebruik'.
Scheggertdijk 106 is een adres gelegen in de gemeente Lochem, provincie Gelderland. Dit adres is geregistreerd in de Basisregistratie Adressen en Gebouwen (BAG) met als unieke identificatie 0262010000019253.
Het pand op Scheggertdijk 106 is gebouwd in 2019, wat betekent dat het 7 jaar oud is. Dit is een vrij nieuw pand. Het pand is dus waarschijnlijk goed geïsoleerd, geluidsdicht en voldoet aan de huidige bouwstandaarden. Op korte termijn zijn er waarschijnlijk weinig onderhoudskosten.
De woning op Scheggertdijk 106 heeft een gebruiksoppervlakte van 78 m². Dit is onder het gemiddelde vergeleken met de gemiddelde Nederlandse woning, die een oppervlakte heeft van ongeveer 119 m². De gebruiksoppervlakte is de maat die wordt gebruikt in de BAG-registratie, de landelijke registratie van de Nederlandse overheid.
Scheggertdijk 106 heeft als functie: logies/verblijf. Deze gebruiksfunctie(s) zijn vastgelegd in de BAG-registratie en geven aan waarvoor het adres officieel mag worden gebruikt.
Scheggertdijk 106 is gelegen op kadastraal perceel AMN00D2362. Deze kadastrale aanduiding is uniek en wordt gebruikt door het Kadaster om eigendomsrechten en andere zakelijke rechten vast te leggen. Het perceel maakt onderdeel uit van de kadastrale gemeente Almen.
Het perceel waarop Scheggertdijk 106 staat heeft een oppervlakte van 1,9 ha. Dit is een zeer groot perceel. De perceeloppervlakte wordt geregistreerd door het Kadaster. Gedetailleerde informatie over de maten van dit perceel kunt u vinden in het rapport Kadastrale kaart met maatvoering van Scheggertdijk 106.
De eigenaar van Scheggertdijk 106 is op te vragen op deze pagina.
De informatie over dit adres is afkomstig uit officiële overheidsregistraties, voornamelijk de Basisregistratie Adressen en Gebouwen (BAG) en de Basisregistratie Kadaster (BRK). Deze gegevens worden beheerd door respectievelijk gemeenten en het Kadaster, en worden regelmatig bijgewerkt. Energielabelgegevens komen uit de database van de Rijksdienst voor Ondernemend Nederland (RVO).
