
Belsebaan 3-a is een adres in Alphen, dat zich bevindt binnen de gemeentegrenzen van Alphen en de grenzen van de provincie Noord-Brabant. Het object heeft een oppervlakte van 703 m², wat relatief groot is. Het perceel waarop het adres ligt is 695 m² groot. Het adres is klein vergeleken met andere objecten in de straat. Het grootste object in de straat heeft een oppervlakte van 3505 m², het kleinste is 226 m² groot. Het pand waarin Belsebaan 3-a ligt is gebouwd in het jaar 1993. Panden die gebouwd zijn na het jaar 1984 noemen we hier relatief nieuw. Het gemiddelde bouwjaar in de straat is 2001 en dat van het nieuwste object 2020. In de straat is dit het oudste pand. Voor het verblijfsobject gelden deze gebruiksdoelen: 'industriefunctie'.
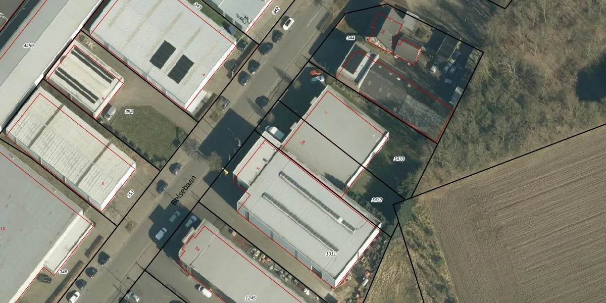
Het adres ligt op het perceel APN03-M-1432, dat zich in de kadastrale gemeente Alphen en Riel bevindt. De gemiddelde perceelgrootte in Alphen en Riel is 1,0 ha. Dit perceel is kleiner: de perceeloppervlakte bedraagt 695 m². Het kleinste perceel in de kadastrale gemeente is 0 m² groot. De grootste perceeloppervlakte is 1,72 km². Dit is het enige adres dat aanwezig is op het perceel. De huidige grenzen van het perceel zijn digitaal in de Basisregistratie Kadaster (BRK) geregistreerd op 31-01-2025.
Bij de laatste meting is voor het adres het energielabel A geregistreerd. Het hoogste energielabel in de straat is A++; het laagste is G. Het gemiddelde energielabel is er A. Het adres Belsebaan 3-a heeft als status: 'verblijfsobject in gebruik'. Het pand waarin dit adres ligt heeft als status: 'pand in gebruik'.
Belsebaan 3-a is een adres gelegen in de gemeente Alphen-Chaam, provincie Noord-Brabant. Dit adres is geregistreerd in de Basisregistratie Adressen en Gebouwen (BAG) met als unieke identificatie 1723010000005814.
Het pand op Belsebaan 3-a is gebouwd in 1993, wat betekent dat het 33 jaar oud is. Dit is een pand van middelbare leeftijd. Het pand is van gemiddelde leeftijd en zal waarschijnlijk verouderde elementen bevatten.
De woning op Belsebaan 3-a heeft een gebruiksoppervlakte van 703 m². Dit is ruim vergeleken met de gemiddelde Nederlandse woning, die een oppervlakte heeft van ongeveer 119 m². De gebruiksoppervlakte is de maat die wordt gebruikt in de BAG-registratie, de landelijke registratie van de Nederlandse overheid.
Belsebaan 3-a heeft als functie: industrie. Deze gebruiksfunctie(s) zijn vastgelegd in de BAG-registratie en geven aan waarvoor het adres officieel mag worden gebruikt.
Belsebaan 3-a is gelegen op kadastraal perceel APN03M1432. Deze kadastrale aanduiding is uniek en wordt gebruikt door het Kadaster om eigendomsrechten en andere zakelijke rechten vast te leggen. Het perceel maakt onderdeel uit van de kadastrale gemeente Alphen en Riel.
Het perceel waarop Belsebaan 3-a staat heeft een oppervlakte van 695 m². Dit is een groot perceel. De perceeloppervlakte wordt geregistreerd door het Kadaster. Gedetailleerde informatie over de maten van dit perceel kunt u vinden in het rapport Kadastrale kaart met maatvoering van Belsebaan 3-a.
De eigenaar van Belsebaan 3-a is op te vragen op deze pagina.
De informatie over dit adres is afkomstig uit officiële overheidsregistraties, voornamelijk de Basisregistratie Adressen en Gebouwen (BAG) en de Basisregistratie Kadaster (BRK). Deze gegevens worden beheerd door respectievelijk gemeenten en het Kadaster, en worden regelmatig bijgewerkt. Energielabelgegevens komen uit de database van de Rijksdienst voor Ondernemend Nederland (RVO).
