
Zandstraat 6 is gelegen in de plaats Alphen, de gemeente Alphen-Chaam en de provincie Noord-Brabant. De oppervlakte bedraagt 4067 m², waarmee het adres groter dan gemiddeld is. De grootte van het perceel waarop het adres ligt is 2134 m². Dit is het adres met de grootste oppervlakte van alle adressen in de straat. Gemiddeld hebben de objecten in de straat een oppervlakte van 325 m². De kleinste oppervlakte is er 9 m². Het gebouw waarin Zandstraat 6 ligt komt uit het jaar 1964. Objecten die gebouwd zijn vóór 1965 classificeren we hier als oud. In de straat komt het nieuwste gebouw uit het jaar 2023 en het oudste uit 1909. Het bouwjaar van dit object is relatief oud. Het verblijfsobject heeft de volgende gebruiksdoelen: 'bijeenkomstfunctie'.
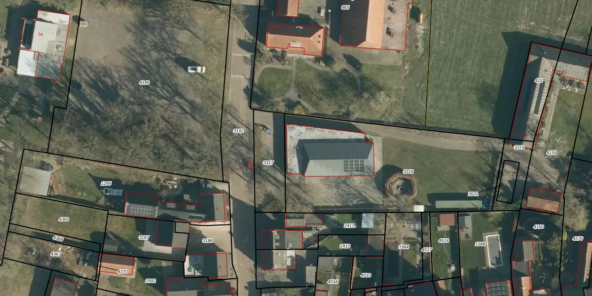
Het adres ligt op het perceel APN03-H-3318, dat zich in de kadastrale gemeente Alphen en Riel bevindt. Het perceel is kleiner dan gemiddeld in Alphen en Riel. Het perceel is 2134 m² groot, terwijl het gemiddelde ligt op 1,0 ha. Het kleinste perceel in de kadastrale gemeente is 0 m² groot. De grootste perceeloppervlakte is 1,72 km². Er zijn geen andere adressen aanwezig op het perceel. De laatste wijziging in het de Basisregistratie Kadaster (BRK) was op 22-12-2025.
Er is geen energielabel geregistreerd voor het adres. Het hoogste energielabel in de straat is A+; het laagste is G. Het gemiddelde energielabel is er C. Het adres Zandstraat 6 heeft als status: 'verblijfsobject in gebruik'. Het pand waarin dit adres ligt heeft als status: 'pand in gebruik'.
Zandstraat 6 is een adres gelegen in de gemeente Alphen-Chaam, provincie Noord-Brabant. Dit adres is geregistreerd in de Basisregistratie Adressen en Gebouwen (BAG) met als unieke identificatie 1723010000004621.
Het pand op Zandstraat 6 is gebouwd in 1964, wat betekent dat het 62 jaar oud is. Dit is een ouder pand. Het pand heeft mogelijk aanzienlijke renovaties nodig om aan de huidige standaarden te voldoen.
De woning op Zandstraat 6 heeft een gebruiksoppervlakte van 4067 m². Dit is ruim vergeleken met de gemiddelde Nederlandse woning, die een oppervlakte heeft van ongeveer 119 m². De gebruiksoppervlakte is de maat die wordt gebruikt in de BAG-registratie, de landelijke registratie van de Nederlandse overheid.
Zandstraat 6 heeft als functie: bijeenkomsten. Deze gebruiksfunctie(s) zijn vastgelegd in de BAG-registratie en geven aan waarvoor het adres officieel mag worden gebruikt.
Zandstraat 6 is gelegen op kadastraal perceel APN03H3318. Deze kadastrale aanduiding is uniek en wordt gebruikt door het Kadaster om eigendomsrechten en andere zakelijke rechten vast te leggen. Het perceel maakt onderdeel uit van de kadastrale gemeente Alphen en Riel.
Het perceel waarop Zandstraat 6 staat heeft een oppervlakte van 2134 m². Dit is een zeer groot perceel. De perceeloppervlakte wordt geregistreerd door het Kadaster. Gedetailleerde informatie over de maten van dit perceel kunt u vinden in het rapport Kadastrale kaart met maatvoering van Zandstraat 6.
De eigenaar van Zandstraat 6 is op te vragen op deze pagina.
De informatie over dit adres is afkomstig uit officiële overheidsregistraties, voornamelijk de Basisregistratie Adressen en Gebouwen (BAG) en de Basisregistratie Kadaster (BRK). Deze gegevens worden beheerd door respectievelijk gemeenten en het Kadaster, en worden regelmatig bijgewerkt. Energielabelgegevens komen uit de database van de Rijksdienst voor Ondernemend Nederland (RVO).
