
Alteveer 13 is een adres in Alteveer, dat zich bevindt binnen de gemeentegrenzen van Alteveer en de grenzen van de provincie Drenthe. Het object heeft een oppervlakte van 156 m², wat relatief groot is. Het perceel waarop het adres ligt is 778 m² groot. Het adres is klein vergeleken met andere objecten in de straat. Het grootste object in de straat heeft een oppervlakte van 1701 m², het kleinste is 5 m² groot. Het adres Alteveer 13 ligt in een relatief oud pand uit het jaar 1920. Panden van vóór het jaar 1965 hebben we hier geclassificeerd als oud. Het bouwjaar is oud vergeleken met dat van de andere panden in de straat. Het oudste bouwjaar is er 1870 en de nieuwste is 2020. Voor het verblijfsobject gelden deze gebruiksdoelen: 'woonfunctie'.
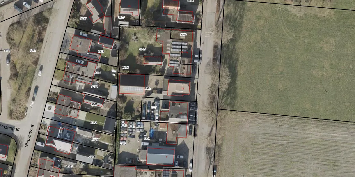
Het adres ligt op het perceel ZWD02-C-7972, dat zich in de kadastrale gemeente Zuidwolde bevindt. De gemiddelde perceelgrootte in Zuidwolde is 1,0 ha. Dit perceel is kleiner: de perceeloppervlakte bedraagt 778 m². De grootste perceeloppervlakte in de kadastrale gemeente is 1,26 km². De kleinste oppervlakte bedraagt 0 m². Dit is het enige adres dat aanwezig is op het perceel. De huidige grenzen van het perceel zijn digitaal in de Basisregistratie Kadaster (BRK) geregistreerd op 30-03-2010.
Er is geen energielabel geregistreerd voor het adres. Het hoogste energielabel in de straat is A++++; het laagste is G. Het gemiddelde energielabel is er D. Het adres Alteveer 13 heeft als status: 'verblijfsobject in gebruik'. Het pand waarin dit adres ligt heeft als status: 'pand in gebruik'.
Alteveer 13 is een adres gelegen in de gemeente De Wolden, provincie Drenthe. Dit adres is geregistreerd in de Basisregistratie Adressen en Gebouwen (BAG) met als unieke identificatie 1690010000002074.
Het pand op Alteveer 13 is gebouwd in 1920, wat betekent dat het 106 jaar oud is. Dit is een ouder pand. Het pand heeft mogelijk aanzienlijke renovaties nodig om aan de huidige standaarden te voldoen.
De woning op Alteveer 13 heeft een gebruiksoppervlakte van 156 m². Dit is ruim vergeleken met de gemiddelde Nederlandse woning, die een oppervlakte heeft van ongeveer 119 m². De gebruiksoppervlakte is de maat die wordt gebruikt in de BAG-registratie, de landelijke registratie van de Nederlandse overheid.
Alteveer 13 heeft als functie: wonen. Deze gebruiksfunctie(s) zijn vastgelegd in de BAG-registratie en geven aan waarvoor het adres officieel mag worden gebruikt.
Alteveer 13 is gelegen op kadastraal perceel ZWD02C7972. Deze kadastrale aanduiding is uniek en wordt gebruikt door het Kadaster om eigendomsrechten en andere zakelijke rechten vast te leggen. Het perceel maakt onderdeel uit van de kadastrale gemeente Zuidwolde.
Het perceel waarop Alteveer 13 staat heeft een oppervlakte van 778 m². Dit is een groot perceel. De perceeloppervlakte wordt geregistreerd door het Kadaster. Gedetailleerde informatie over de maten van dit perceel kunt u vinden in het rapport Kadastrale kaart met maatvoering van Alteveer 13.
De eigenaar van Alteveer 13 is op te vragen op deze pagina.
De informatie over dit adres is afkomstig uit officiële overheidsregistraties, voornamelijk de Basisregistratie Adressen en Gebouwen (BAG) en de Basisregistratie Kadaster (BRK). Deze gegevens worden beheerd door respectievelijk gemeenten en het Kadaster, en worden regelmatig bijgewerkt. Energielabelgegevens komen uit de database van de Rijksdienst voor Ondernemend Nederland (RVO).
