
Bankrasweg 24 is een adres in Amstelveen, dat zich bevindt binnen de gemeentegrenzen van Amstelveen en de grenzen van de provincie Noord-Holland. De oppervlakte bedraagt 175 m², waarmee het adres groter dan gemiddeld is. De grootte van het perceel waarop het adres ligt is 3880 m². Het adres is klein vergeleken met andere objecten in de straat. Het grootste object in de straat heeft een oppervlakte van 569 m², het kleinste is 48 m² groot. In Nederland komt het grootste deel van de gebouwen uit de periode 1965-1984. Ook het bouwjaar van Bankrasweg 24 is afkomstig uit die periode: het betreft namelijk een pand uit 1973. Veel andere gebouwen in de straat zijn ouder dan dit pand. Het oudste pand komt uit het jaar 1900 en het nieuwste uit 2021. Voor het verblijfsobject gelden deze gebruiksdoelen: 'woonfunctie'.
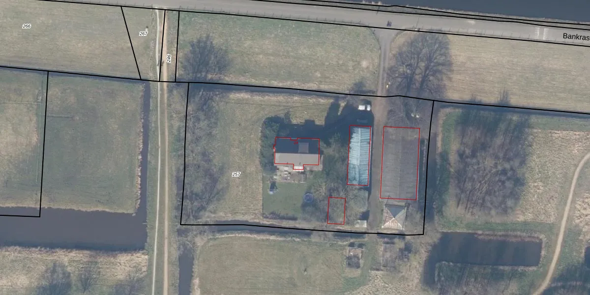
Het adres ligt op het perceel ASV00-W-257, dat zich in de kadastrale gemeente Amstelveen bevindt. Het perceel is met 3880 m² relatief groot. Het gemiddelde ligt in de kadastrale gemeente Amstelveen op 1598,55 m². Het grootste perceel in de kadastrale gemeente is 1,78 km². Het kleinste perceel heeft een oppervlakte van 0 m². Er zijn geen andere adressen aanwezig op het perceel. De huidige grenzen van het perceel zijn digitaal in de Basisregistratie Kadaster (BRK) geregistreerd op 03-11-2006.
Er is geen energielabel geregistreerd voor het adres. Het hoogste energielabel in de straat is A+++; het laagste is G. Het gemiddelde energielabel is er B. Het adres Bankrasweg 24 heeft als status: 'verblijfsobject in gebruik'. Het pand waarin dit adres ligt heeft als status: 'pand in gebruik'.
Bankrasweg 24 is een adres gelegen in de gemeente Amstelveen, provincie Noord-Holland. Dit adres is geregistreerd in de Basisregistratie Adressen en Gebouwen (BAG) met als unieke identificatie 0362010002002141.
Het pand op Bankrasweg 24 is gebouwd in 1973, wat betekent dat het 53 jaar oud is. Dit is een ouder pand. Het pand heeft mogelijk aanzienlijke renovaties nodig om aan de huidige standaarden te voldoen.
De woning op Bankrasweg 24 heeft een gebruiksoppervlakte van 175 m². Dit is ruim vergeleken met de gemiddelde Nederlandse woning, die een oppervlakte heeft van ongeveer 119 m². De gebruiksoppervlakte is de maat die wordt gebruikt in de BAG-registratie, de landelijke registratie van de Nederlandse overheid.
Bankrasweg 24 heeft als functie: wonen. Deze gebruiksfunctie(s) zijn vastgelegd in de BAG-registratie en geven aan waarvoor het adres officieel mag worden gebruikt.
Bankrasweg 24 is gelegen op kadastraal perceel ASV00W257. Deze kadastrale aanduiding is uniek en wordt gebruikt door het Kadaster om eigendomsrechten en andere zakelijke rechten vast te leggen. Het perceel maakt onderdeel uit van de kadastrale gemeente Amstelveen.
Het perceel waarop Bankrasweg 24 staat heeft een oppervlakte van 3880 m². Dit is een zeer groot perceel. De perceeloppervlakte wordt geregistreerd door het Kadaster. Gedetailleerde informatie over de maten van dit perceel kunt u vinden in het rapport Kadastrale kaart met maatvoering van Bankrasweg 24.
De eigenaar van Bankrasweg 24 is op te vragen op deze pagina.
De informatie over dit adres is afkomstig uit officiële overheidsregistraties, voornamelijk de Basisregistratie Adressen en Gebouwen (BAG) en de Basisregistratie Kadaster (BRK). Deze gegevens worden beheerd door respectievelijk gemeenten en het Kadaster, en worden regelmatig bijgewerkt. Energielabelgegevens komen uit de database van de Rijksdienst voor Ondernemend Nederland (RVO).
