
Wamelplein 193 is een adres in Amsterdam, dat zich bevindt binnen de gemeentegrenzen van Amsterdam en de grenzen van de provincie Noord-Holland. Het verblijfsobject is vergeleken met het Nederlandse gemiddelde aan de kleine kant: de oppervlakte is 58 m². Het perceel waarop het adres zich bevindt heeft een oppervlakte van 1110 m². Het adres is klein vergeleken met andere objecten in de straat. Het grootste object in de straat heeft een oppervlakte van 101 m², het kleinste is 13 m² groot. De meeste Nederlandse gebouwen zijn gebouwd in de periode 1965-1984. Zo ook het pand waarin Wamelplein 193 ligt, dat gebouwd is in 1983. Het nieuwste gebouw in de straat komt uit 1984 en het oudste uit 1982. Dit object is relatief oud. Voor het verblijfsobject gelden deze gebruiksdoelen: 'woonfunctie'.
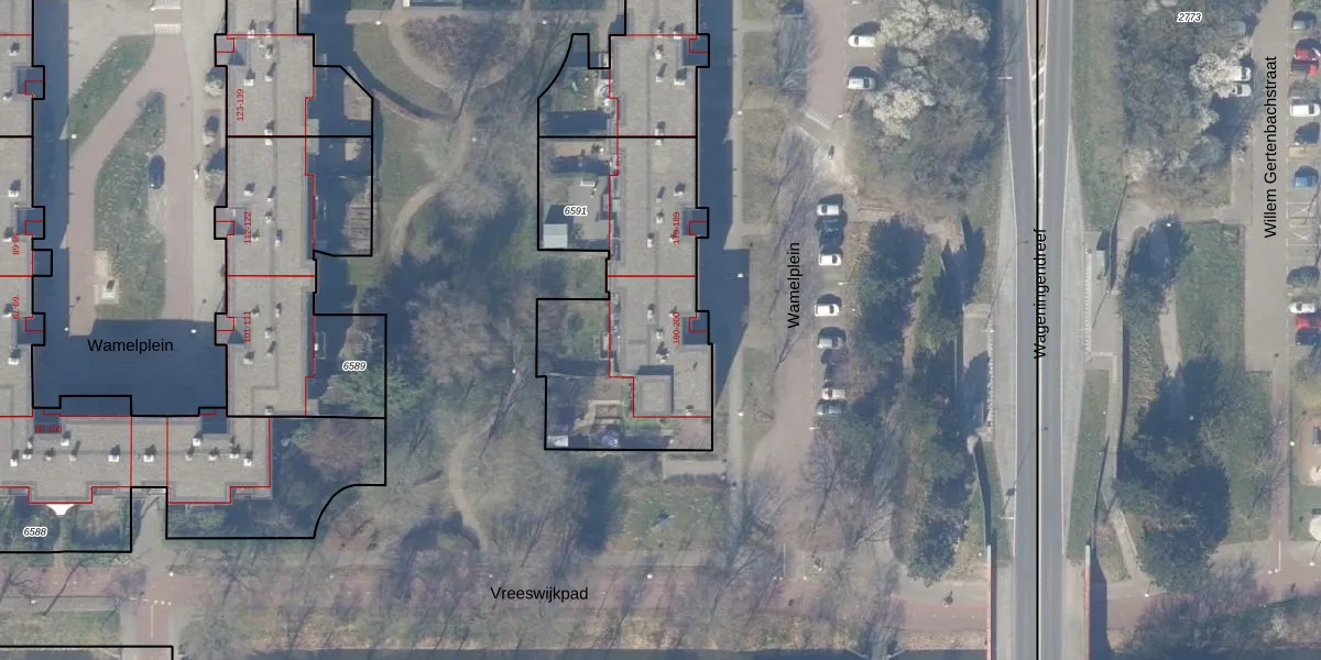
Het adres ligt op het perceel WPK02-L-6591, dat zich in de kadastrale gemeente Weesperkarspel bevindt. De gemiddelde perceelgrootte in Weesperkarspel is 1744,39 m². Dit perceel is kleiner: de perceeloppervlakte bedraagt 1110 m². De grootste perceeloppervlakte in de kadastrale gemeente is 1,04 km². De kleinste oppervlakte bedraagt 0 m². Op het perceel liggen in totaal 22 adressen. De huidige grenzen van het perceel zijn digitaal in de Basisregistratie Kadaster (BRK) geregistreerd op 10-05-2006.
Het adres ligt in een gebouw van het type 'flatwoning (overig) met het subtype tussenmidden'. Bij de laatste meting is voor het adres het energielabel C geregistreerd. Het hoogste energielabel in de straat is A; het laagste is G. Het gemiddelde energielabel is er B. Het adres Wamelplein 193 heeft als status: 'verblijfsobject in gebruik'. Het pand waarin dit adres ligt heeft als status: 'pand in gebruik'.
Wamelplein 193 is een adres gelegen in de gemeente Amsterdam, provincie Noord-Holland. Dit adres is geregistreerd in de Basisregistratie Adressen en Gebouwen (BAG) met als unieke identificatie 0363010000908114.
Het pand op Wamelplein 193 is gebouwd in 1983, wat betekent dat het 43 jaar oud is. Dit is een pand van middelbare leeftijd. Het pand is van gemiddelde leeftijd en zal waarschijnlijk verouderde elementen bevatten.
De woning op Wamelplein 193 heeft een gebruiksoppervlakte van 58 m². Dit is relatief klein vergeleken met de gemiddelde Nederlandse woning, die een oppervlakte heeft van ongeveer 119 m². De gebruiksoppervlakte is de maat die wordt gebruikt in de BAG-registratie, de landelijke registratie van de Nederlandse overheid.
Wamelplein 193 heeft als functie: wonen. Deze gebruiksfunctie(s) zijn vastgelegd in de BAG-registratie en geven aan waarvoor het adres officieel mag worden gebruikt.
Wamelplein 193 is gelegen op kadastraal perceel WPK02L6591. Deze kadastrale aanduiding is uniek en wordt gebruikt door het Kadaster om eigendomsrechten en andere zakelijke rechten vast te leggen. Het perceel maakt onderdeel uit van de kadastrale gemeente Weesperkarspel.
Het perceel waarop Wamelplein 193 staat heeft een oppervlakte van 1110 m². Dit is een zeer groot perceel. De perceeloppervlakte wordt geregistreerd door het Kadaster. Gedetailleerde informatie over de maten van dit perceel kunt u vinden in het rapport Kadastrale kaart met maatvoering van Wamelplein 193.
De eigenaar van Wamelplein 193 is op te vragen op deze pagina.
De informatie over dit adres is afkomstig uit officiële overheidsregistraties, voornamelijk de Basisregistratie Adressen en Gebouwen (BAG) en de Basisregistratie Kadaster (BRK). Deze gegevens worden beheerd door respectievelijk gemeenten en het Kadaster, en worden regelmatig bijgewerkt. Energielabelgegevens komen uit de database van de Rijksdienst voor Ondernemend Nederland (RVO).
