
Arnhemseweg 383 is gelegen in de plaats Apeldoorn, de gemeente Apeldoorn en de provincie Gelderland. De oppervlakte van het adres is 127 m². Dat is vergelijkbaar met het gemiddelde Nederlandse oppervlakte van 119 m². De oppervlakte van het perceel waarin het adres ligt is 1305 m². Het adres is klein vergeleken met andere objecten in de straat. Het grootste object in de straat heeft een oppervlakte van 8199 m², het kleinste is 9 m² groot. Het adres Arnhemseweg 383 ligt in een relatief oud pand uit het jaar 1925. Panden van vóór het jaar 1965 hebben we hier geclassificeerd als oud. Het nieuwste gebouw in de straat komt uit 2024 en het oudste uit 1843. Dit object is relatief oud. De volgende gebruiksdoelen zijn geregistreerd voor dit adres: 'woonfunctie'.
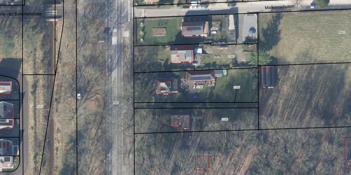
Het adres ligt op het perceel APD03-AD-1158, dat zich in de kadastrale gemeente Apeldoorn bevindt. Het perceel is 1305 m² groot. Dat is kleiner dan de gemiddelde perceeloppervlakte in Apeldoorn, dat op 1444,98 m² ligt. De grootste perceeloppervlakte in de kadastrale gemeente is 21,4 ha. De kleinste oppervlakte bedraagt 0 m². Op het perceel bevinden zich geen andere adressen. De laatste wijziging in het de Basisregistratie Kadaster (BRK) was op 03-06-2003.
Het adres ligt in een gebouw van het type 'vrijstaande woning'. Bij de laatste meting is voor het adres het energielabel F geregistreerd. Het hoogste energielabel in de straat is A++++; het laagste is G. Het gemiddelde energielabel is er C. Het adres Arnhemseweg 383 heeft als status: 'verblijfsobject in gebruik'. Het pand waarin dit adres ligt heeft als status: 'pand in gebruik'.
Arnhemseweg 383 is een adres gelegen in de gemeente Apeldoorn, provincie Gelderland. Dit adres is geregistreerd in de Basisregistratie Adressen en Gebouwen (BAG) met als unieke identificatie 0200010000015263.
Het pand op Arnhemseweg 383 is gebouwd in 1925, wat betekent dat het 101 jaar oud is. Dit is een ouder pand. Het pand heeft mogelijk aanzienlijke renovaties nodig om aan de huidige standaarden te voldoen.
De woning op Arnhemseweg 383 heeft een gebruiksoppervlakte van 127 m². Dit is gemiddeld vergeleken met de gemiddelde Nederlandse woning, die een oppervlakte heeft van ongeveer 119 m². De gebruiksoppervlakte is de maat die wordt gebruikt in de BAG-registratie, de landelijke registratie van de Nederlandse overheid.
Arnhemseweg 383 heeft als functie: wonen. Deze gebruiksfunctie(s) zijn vastgelegd in de BAG-registratie en geven aan waarvoor het adres officieel mag worden gebruikt.
Arnhemseweg 383 is gelegen op kadastraal perceel APD03AD1158. Deze kadastrale aanduiding is uniek en wordt gebruikt door het Kadaster om eigendomsrechten en andere zakelijke rechten vast te leggen. Het perceel maakt onderdeel uit van de kadastrale gemeente Apeldoorn.
Het perceel waarop Arnhemseweg 383 staat heeft een oppervlakte van 1305 m². Dit is een zeer groot perceel. De perceeloppervlakte wordt geregistreerd door het Kadaster. Gedetailleerde informatie over de maten van dit perceel kunt u vinden in het rapport Kadastrale kaart met maatvoering van Arnhemseweg 383.
De eigenaar van Arnhemseweg 383 is op te vragen op deze pagina.
De informatie over dit adres is afkomstig uit officiële overheidsregistraties, voornamelijk de Basisregistratie Adressen en Gebouwen (BAG) en de Basisregistratie Kadaster (BRK). Deze gegevens worden beheerd door respectievelijk gemeenten en het Kadaster, en worden regelmatig bijgewerkt. Energielabelgegevens komen uit de database van de Rijksdienst voor Ondernemend Nederland (RVO).
