
Drentseweg 41 is een adres in Appelscha, dat zich bevindt binnen de gemeentegrenzen van Appelscha en de grenzen van de provincie Friesland. De oppervlakte van het adres is 144 m². Dat is vergelijkbaar met het gemiddelde Nederlandse oppervlakte van 119 m². De oppervlakte van het perceel waarin het adres ligt is 1900 m². Vergeleken met de andere verblijfsobjecten in de straat is dit object groot. De oppervlakte van het grootste object in de straat is 588 m², die van het kleinste bedraagt 3 m². De gemiddelde bouwperiode van gebouwen in Nederland ligt tussen de jaren 1965-1984. Dat geldt ook voor het bouwjaar van Drentseweg 41: het is gebouwd in het jaar 1972. Dit object is relatief nieuw in de straat. Het nieuwste gebouw komt er uit het jaar 2024 en het oudste uit het jaar 1900. Het verblijfsobject heeft de volgende gebruiksdoelen: 'woonfunctie'.
Deze woning is voor het laatst verkocht op 1 maart 2021. Meer informatie over deze transactie? Bestel het Woningtransactierapport om de verkoopprijs en andere informatie te zien.
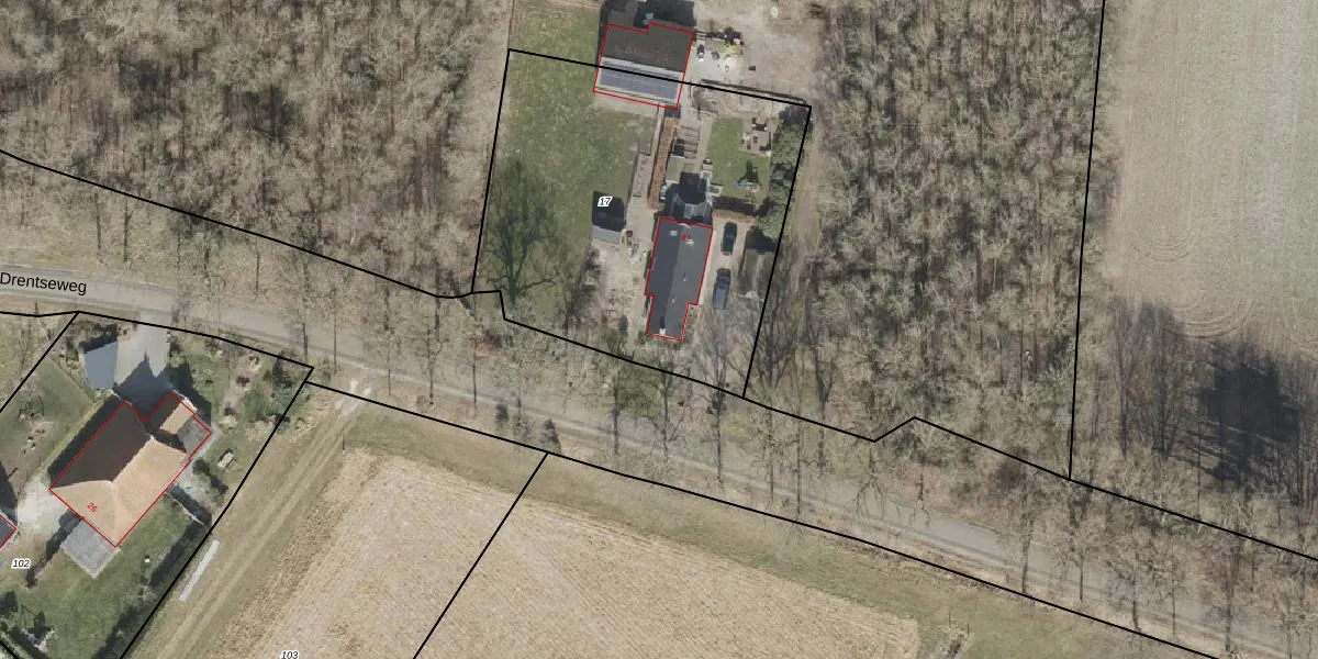
Het adres is gelegen op perceel 17 in de sectie L en de kadastrale gemeente Makkinga. De kadastrale aanduiding is aldus MKG00-L-17. Het perceel is kleiner dan gemiddeld in Makkinga. Het perceel is 1900 m² groot, terwijl het gemiddelde ligt op 1,3 ha. Het kleinste perceel in de kadastrale gemeente is 0 m² groot. De grootste perceeloppervlakte is 4,94 km². Op het perceel bevinden zich geen andere adressen. De huidige grenzen van het perceel zijn digitaal in de Basisregistratie Kadaster (BRK) geregistreerd op 06-02-2002.
Het adres ligt in een gebouw van het type 'vrijstaande woning'. Bij de laatste meting is voor het adres het energielabel D geregistreerd. Het hoogste energielabel in de straat is A+++; het laagste is G. Het gemiddelde energielabel is er D. Het adres Drentseweg 41 heeft als status: 'verblijfsobject in gebruik'. Het pand waarin dit adres ligt heeft als status: 'pand in gebruik'.
Drentseweg 41 is een adres gelegen in de gemeente Ooststellingwerf, provincie Friesland. Dit adres is geregistreerd in de Basisregistratie Adressen en Gebouwen (BAG) met als unieke identificatie 0085010000000447.
Het pand op Drentseweg 41 is gebouwd in 1972, wat betekent dat het 54 jaar oud is. Dit is een ouder pand. Het pand heeft mogelijk aanzienlijke renovaties nodig om aan de huidige standaarden te voldoen.
De woning op Drentseweg 41 heeft een gebruiksoppervlakte van 144 m². Dit is gemiddeld vergeleken met de gemiddelde Nederlandse woning, die een oppervlakte heeft van ongeveer 119 m². De gebruiksoppervlakte is de maat die wordt gebruikt in de BAG-registratie, de landelijke registratie van de Nederlandse overheid.
Drentseweg 41 heeft als functie: wonen. Deze gebruiksfunctie(s) zijn vastgelegd in de BAG-registratie en geven aan waarvoor het adres officieel mag worden gebruikt.
Drentseweg 41 is gelegen op kadastraal perceel MKG00L17. Deze kadastrale aanduiding is uniek en wordt gebruikt door het Kadaster om eigendomsrechten en andere zakelijke rechten vast te leggen. Het perceel maakt onderdeel uit van de kadastrale gemeente Makkinga.
Het perceel waarop Drentseweg 41 staat heeft een oppervlakte van 1900 m². Dit is een zeer groot perceel. De perceeloppervlakte wordt geregistreerd door het Kadaster. Gedetailleerde informatie over de maten van dit perceel kunt u vinden in het rapport Kadastrale kaart met maatvoering van Drentseweg 41.
De eigenaar van Drentseweg 41 is op te vragen op deze pagina.
De informatie over dit adres is afkomstig uit officiële overheidsregistraties, voornamelijk de Basisregistratie Adressen en Gebouwen (BAG) en de Basisregistratie Kadaster (BRK). Deze gegevens worden beheerd door respectievelijk gemeenten en het Kadaster, en worden regelmatig bijgewerkt. Energielabelgegevens komen uit de database van de Rijksdienst voor Ondernemend Nederland (RVO).
