
Bronbeeklaan 66-12 is gelegen in de plaats Arnhem, de gemeente Arnhem en de provincie Gelderland. Het verblijfsobject is vergeleken met het Nederlandse gemiddelde aan de kleine kant: de oppervlakte is 27 m². Het perceel waarop het adres zich bevindt heeft een oppervlakte van 8508 m². Dit is het kleinste object van de straat. De gemiddelde oppervlakte van verblijfsobjecten is er 96 m². De grootste oppervlakte in de straat is 2003 m². In Nederland komt het grootste deel van de gebouwen uit de periode 1965-1984. Ook het bouwjaar van Bronbeeklaan 66-12 is afkomstig uit die periode: het betreft namelijk een pand uit 1966. Dit object is relatief nieuw in de straat. Het nieuwste gebouw komt er uit het jaar 2008 en het oudste uit het jaar 1926. De volgende gebruiksdoelen zijn geregistreerd voor dit adres: 'woonfunctie' en 'gezondheidszorgfunctie'.
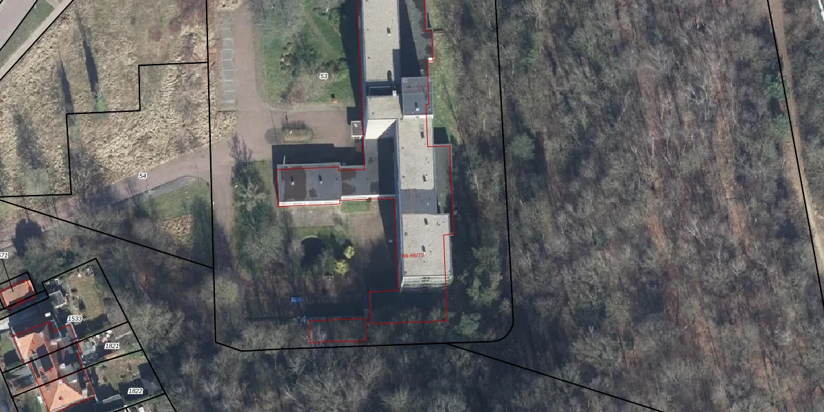
Het adres is gelegen op perceel 53 in de sectie U en de kadastrale gemeente Arnhem. De kadastrale aanduiding is aldus AHM01-U-53. De oppervlakte van het perceel is 8508 m². Dat is groter dan gemiddeld in Arnhem, waar de gemiddelde perceeloppervlakte op 2515,94 m² ligt. Het grootste perceel in de kadastrale gemeente is 1,57 km². Het kleinste perceel heeft een oppervlakte van 0 m². Op het perceel liggen in totaal 74 adressen. De laatste wijziging in het de Basisregistratie Kadaster (BRK) was op 29-07-2010.
Het adres ligt in een gebouw van het type 'flatwoning (overig) met het subtype tussenmidden'. Bij de laatste meting is voor het adres het energielabel F geregistreerd. Het hoogste energielabel in de straat is A+; het laagste is G. Het gemiddelde energielabel is er E. Het adres Bronbeeklaan 66-12 heeft als status: 'verblijfsobject in gebruik'. Het pand waarin dit adres ligt heeft als status: 'pand in gebruik'.
Bronbeeklaan 66-12 is een adres gelegen in de gemeente Arnhem, provincie Gelderland. Dit adres is geregistreerd in de Basisregistratie Adressen en Gebouwen (BAG) met als unieke identificatie 0202010000839089.
Het pand op Bronbeeklaan 66-12 is gebouwd in 1966, wat betekent dat het 60 jaar oud is. Dit is een ouder pand. Het pand heeft mogelijk aanzienlijke renovaties nodig om aan de huidige standaarden te voldoen.
De woning op Bronbeeklaan 66-12 heeft een gebruiksoppervlakte van 27 m². Dit is relatief klein vergeleken met de gemiddelde Nederlandse woning, die een oppervlakte heeft van ongeveer 119 m². De gebruiksoppervlakte is de maat die wordt gebruikt in de BAG-registratie, de landelijke registratie van de Nederlandse overheid.
Bronbeeklaan 66-12 heeft als functie: wonen en gezondheidszorg. Deze gebruiksfunctie(s) zijn vastgelegd in de BAG-registratie en geven aan waarvoor het adres officieel mag worden gebruikt.
Bronbeeklaan 66-12 is gelegen op kadastraal perceel AHM01U53. Deze kadastrale aanduiding is uniek en wordt gebruikt door het Kadaster om eigendomsrechten en andere zakelijke rechten vast te leggen. Het perceel maakt onderdeel uit van de kadastrale gemeente Arnhem.
Het perceel waarop Bronbeeklaan 66-12 staat heeft een oppervlakte van 8508 m². Dit is een zeer groot perceel. De perceeloppervlakte wordt geregistreerd door het Kadaster. Gedetailleerde informatie over de maten van dit perceel kunt u vinden in het rapport Kadastrale kaart met maatvoering van Bronbeeklaan 66-12.
De eigenaar van Bronbeeklaan 66-12 is op te vragen op deze pagina.
De informatie over dit adres is afkomstig uit officiële overheidsregistraties, voornamelijk de Basisregistratie Adressen en Gebouwen (BAG) en de Basisregistratie Kadaster (BRK). Deze gegevens worden beheerd door respectievelijk gemeenten en het Kadaster, en worden regelmatig bijgewerkt. Energielabelgegevens komen uit de database van de Rijksdienst voor Ondernemend Nederland (RVO).
