
Huissensedijk 8-A is gelegen in de plaats Arnhem, de gemeente Arnhem en de provincie Gelderland. Het verblijfsobject is 150 m² groot en bevindt zich op een perceel met een oppervlakte van 510 m². Gemiddeld hebben adressen in Nederland een oppervlakte van 119 m². De oppervlakte van het adres is klein vergeleken met de andere objecten in de straat. De oppervlakte van het kleinste object in de straat bedraagt 51 m², terwijl het grootste object 700 m² groot is. Huissensedijk 8-A bevindt zich in een pand uit het jaar 1906. Daarmee behoort het tot de groep relatief oude panden in Nederland die gebouwd zijn vóór 1965. Het bouwjaar is oud vergeleken met dat van de andere panden in de straat. Het oudste bouwjaar is er 1850 en de nieuwste is 2019. Het verblijfsobject heeft de volgende gebruiksdoelen: 'woonfunctie'.
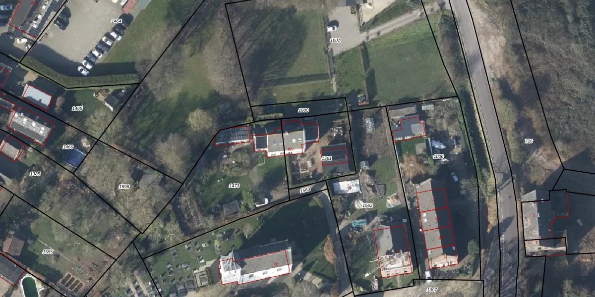
Het adres is gelegen op perceel 1561 in de sectie AB en de kadastrale gemeente Arnhem. De kadastrale aanduiding is aldus AHM01-AB-1561. Het perceel is kleiner dan gemiddeld in Arnhem. Het perceel is 510 m² groot, terwijl het gemiddelde ligt op 2523,41 m². Het grootste perceel in de kadastrale gemeente is 1,57 km². Het kleinste perceel heeft een oppervlakte van 0 m². Dit is het enige adres dat aanwezig is op het perceel. De laatste wijziging in het de Basisregistratie Kadaster (BRK) was op 10-05-2007.
Er is geen energielabel geregistreerd voor het adres. Het hoogste energielabel in de straat is A+; het laagste is G. Het gemiddelde energielabel is er C. Het adres Huissensedijk 8-A heeft als status: 'verblijfsobject in gebruik'. Het pand waarin dit adres ligt heeft als status: 'pand in gebruik'.
Huissensedijk 8-A is een adres gelegen in de gemeente Arnhem, provincie Gelderland. Dit adres is geregistreerd in de Basisregistratie Adressen en Gebouwen (BAG) met als unieke identificatie 0202010000294222.
Het pand op Huissensedijk 8-A is gebouwd in 1906, wat betekent dat het 120 jaar oud is. Dit is een ouder pand. Het pand heeft mogelijk aanzienlijke renovaties nodig om aan de huidige standaarden te voldoen.
De woning op Huissensedijk 8-A heeft een gebruiksoppervlakte van 150 m². Dit is ruim vergeleken met de gemiddelde Nederlandse woning, die een oppervlakte heeft van ongeveer 119 m². De gebruiksoppervlakte is de maat die wordt gebruikt in de BAG-registratie, de landelijke registratie van de Nederlandse overheid.
Huissensedijk 8-A heeft als functie: wonen. Deze gebruiksfunctie(s) zijn vastgelegd in de BAG-registratie en geven aan waarvoor het adres officieel mag worden gebruikt.
Huissensedijk 8-A is gelegen op kadastraal perceel AHM01AB1561. Deze kadastrale aanduiding is uniek en wordt gebruikt door het Kadaster om eigendomsrechten en andere zakelijke rechten vast te leggen. Het perceel maakt onderdeel uit van de kadastrale gemeente Arnhem.
Het perceel waarop Huissensedijk 8-A staat heeft een oppervlakte van 510 m². Dit is een groot perceel. De perceeloppervlakte wordt geregistreerd door het Kadaster. Gedetailleerde informatie over de maten van dit perceel kunt u vinden in het rapport Kadastrale kaart met maatvoering van Huissensedijk 8-A.
De eigenaar van Huissensedijk 8-A is op te vragen op deze pagina.
De informatie over dit adres is afkomstig uit officiële overheidsregistraties, voornamelijk de Basisregistratie Adressen en Gebouwen (BAG) en de Basisregistratie Kadaster (BRK). Deze gegevens worden beheerd door respectievelijk gemeenten en het Kadaster, en worden regelmatig bijgewerkt. Energielabelgegevens komen uit de database van de Rijksdienst voor Ondernemend Nederland (RVO).
