
Het adres Beekseweg 28-F bevindt zich in de plaats Babberich, in de gemeente Babberich en de provincie Gelderland. Het perceel waarop het adres gelegen is heeft een oppervlakte van 712 m². Het verblijfsobject is met 30 m² relatief klein. Het adres is klein vergeleken met andere objecten in de straat. Het grootste object in de straat heeft een oppervlakte van 1050 m², het kleinste is 15 m² groot. De gemiddelde bouwperiode van gebouwen in Nederland ligt tussen de jaren 1965-1984. Dat geldt ook voor het bouwjaar van Beekseweg 28-F: het is gebouwd in het jaar 1966. Vergeleken met de andere panden in de straat is dit gebouw nieuw. Het vroegste bouwjaar is er 1750 en het laatste is 2020. Voor het verblijfsobject gelden deze gebruiksdoelen: 'woonfunctie'.
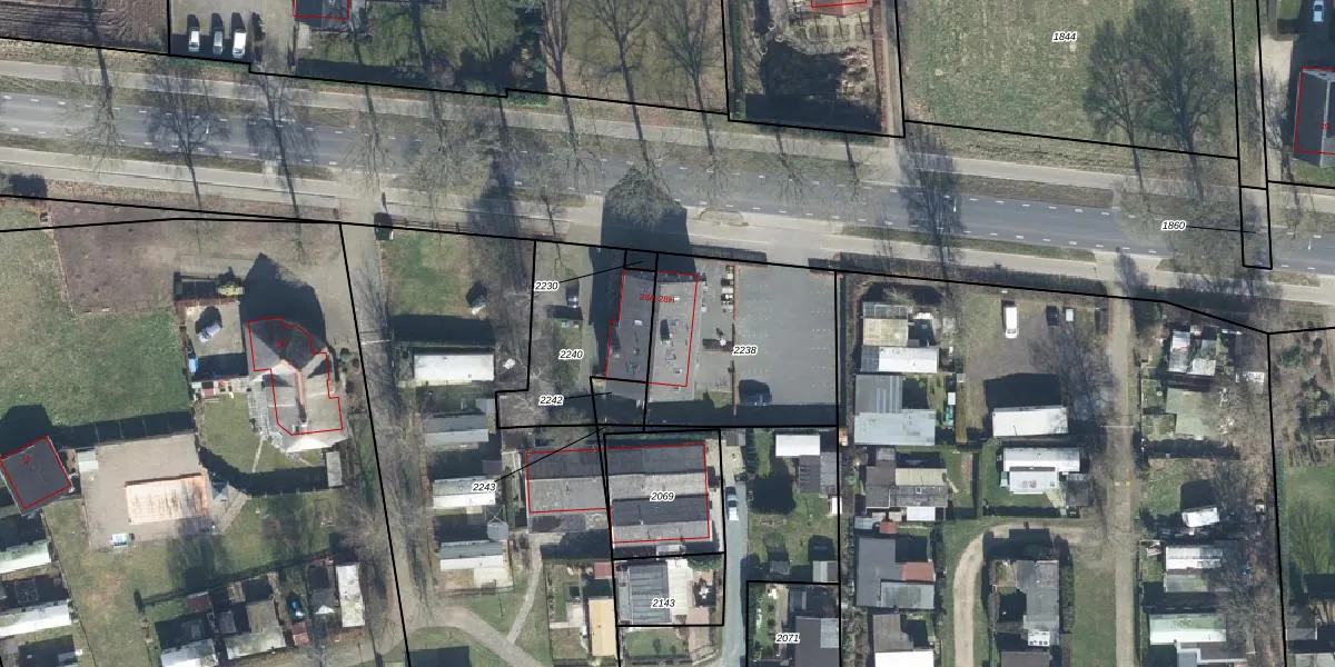
Het adres ligt op het perceel ZVN02-D-2238, dat zich in de kadastrale gemeente Oud-Zevenaar bevindt. De gemiddelde perceelgrootte in Oud-Zevenaar is 1871,89 m². Dit perceel is kleiner: de perceeloppervlakte bedraagt 712 m². Het kleinste perceel in de kadastrale gemeente is 0 m² groot. De grootste perceeloppervlakte is 23,9 ha. Er zijn 4 adressen aanwezig op het perceel. In de Basisregistratie Kadaster (BRK) werden de grenzen van het perceel geregistreerd op 27-09-2001.
Er is geen energielabel geregistreerd voor het adres. Het hoogste energielabel in de straat is A+; het laagste is G. Het gemiddelde energielabel is er D. Het adres Beekseweg 28-F heeft als status: 'verblijfsobject in gebruik'. Het pand waarin dit adres ligt heeft als status: 'pand in gebruik'.
Beekseweg 28-F is een adres gelegen in de gemeente Zevenaar, provincie Gelderland. Dit adres is geregistreerd in de Basisregistratie Adressen en Gebouwen (BAG) met als unieke identificatie 0299010000453106.
Het pand op Beekseweg 28-F is gebouwd in 1966, wat betekent dat het 60 jaar oud is. Dit is een ouder pand. Het pand heeft mogelijk aanzienlijke renovaties nodig om aan de huidige standaarden te voldoen.
De woning op Beekseweg 28-F heeft een gebruiksoppervlakte van 30 m². Dit is relatief klein vergeleken met de gemiddelde Nederlandse woning, die een oppervlakte heeft van ongeveer 119 m². De gebruiksoppervlakte is de maat die wordt gebruikt in de BAG-registratie, de landelijke registratie van de Nederlandse overheid.
Beekseweg 28-F heeft als functie: wonen. Deze gebruiksfunctie(s) zijn vastgelegd in de BAG-registratie en geven aan waarvoor het adres officieel mag worden gebruikt.
Beekseweg 28-F is gelegen op kadastraal perceel ZVN02D2238. Deze kadastrale aanduiding is uniek en wordt gebruikt door het Kadaster om eigendomsrechten en andere zakelijke rechten vast te leggen. Het perceel maakt onderdeel uit van de kadastrale gemeente Oud-Zevenaar.
Het perceel waarop Beekseweg 28-F staat heeft een oppervlakte van 712 m². Dit is een groot perceel. De perceeloppervlakte wordt geregistreerd door het Kadaster. Gedetailleerde informatie over de maten van dit perceel kunt u vinden in het rapport Kadastrale kaart met maatvoering van Beekseweg 28-F.
De eigenaar van Beekseweg 28-F is op te vragen op deze pagina.
De informatie over dit adres is afkomstig uit officiële overheidsregistraties, voornamelijk de Basisregistratie Adressen en Gebouwen (BAG) en de Basisregistratie Kadaster (BRK). Deze gegevens worden beheerd door respectievelijk gemeenten en het Kadaster, en worden regelmatig bijgewerkt. Energielabelgegevens komen uit de database van de Rijksdienst voor Ondernemend Nederland (RVO).
