
Het adres Tjalke de Boerstrjitte 18 bevindt zich in de plaats Balk, in de gemeente Balk en de provincie Friesland. De oppervlakte van het verblijfsobject is met 490 m² aan de grote kant. Het perceel heeft een oppervlakte van 2105 m². Het object is klein ten opzichte van de andere adressen in de straat. Het grootste verblijfsobject is 4640 m² groot en het kleinste is 115 m². Tjalke de Boerstrjitte 18 ligt in een gebouw uit het jaar 1985. Daarmee behoort het tot de groep panden van na 1984, die we als relatief nieuw bestempelen. Het nieuwste gebouw in de straat komt uit 2025 en het oudste uit 1970. Dit object is relatief oud. De volgende gebruiksdoelen zijn geregistreerd voor dit adres: 'woonfunctie' en 'bijeenkomstfunctie'.
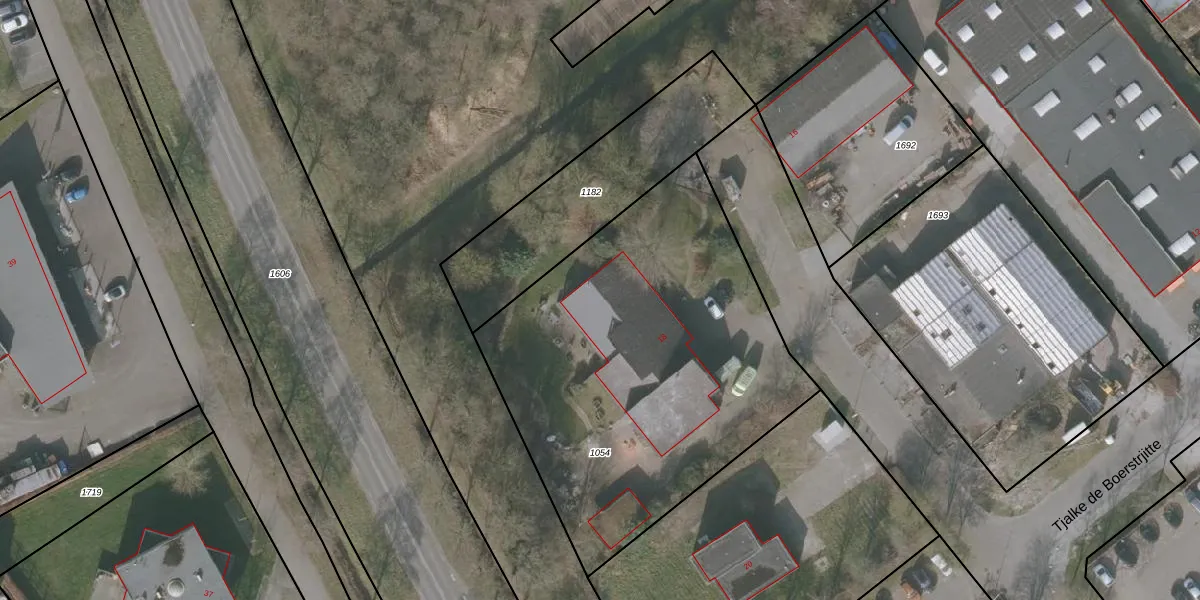
Het perceel waarop het adres ligt is BAL00-L-1054. De afkorting 'BAL00' staat voor kadastrale gemeente Balk. Het perceel is 2105 m² groot. Dat is kleiner dan de gemiddelde perceeloppervlakte in Balk, dat op 2,0 ha ligt. Het grootste perceel in de kadastrale gemeente is 62,29 km². Het kleinste perceel heeft een oppervlakte van 0 m². Op het perceel bevinden zich geen andere adressen. In de Basisregistratie Kadaster (BRK) werden de grenzen van het perceel geregistreerd op 22-07-2008.
Het adres ligt in een gebouw van het type 'vrijstaande woning'. Bij de laatste meting is voor het adres het energielabel C geregistreerd. Het hoogste energielabel in de straat is A; het laagste is G. Het gemiddelde energielabel is er C. Het adres Tjalke de Boerstrjitte 18 heeft als status: 'verblijfsobject in gebruik'. Het pand waarin dit adres ligt heeft als status: 'pand in gebruik'.
Tjalke de Boerstrjitte 18 is een adres gelegen in de gemeente De Fryske Marren, provincie Friesland. Dit adres is geregistreerd in de Basisregistratie Adressen en Gebouwen (BAG) met als unieke identificatie 0653010000160092.
Het pand op Tjalke de Boerstrjitte 18 is gebouwd in 1985, wat betekent dat het 41 jaar oud is. Dit is een pand van middelbare leeftijd. Het pand is van gemiddelde leeftijd en zal waarschijnlijk verouderde elementen bevatten.
De woning op Tjalke de Boerstrjitte 18 heeft een gebruiksoppervlakte van 490 m². Dit is ruim vergeleken met de gemiddelde Nederlandse woning, die een oppervlakte heeft van ongeveer 119 m². De gebruiksoppervlakte is de maat die wordt gebruikt in de BAG-registratie, de landelijke registratie van de Nederlandse overheid.
Tjalke de Boerstrjitte 18 heeft als functie: wonen en bijeenkomsten. Deze gebruiksfunctie(s) zijn vastgelegd in de BAG-registratie en geven aan waarvoor het adres officieel mag worden gebruikt.
Tjalke de Boerstrjitte 18 is gelegen op kadastraal perceel BAL00L1054. Deze kadastrale aanduiding is uniek en wordt gebruikt door het Kadaster om eigendomsrechten en andere zakelijke rechten vast te leggen. Het perceel maakt onderdeel uit van de kadastrale gemeente Balk.
Het perceel waarop Tjalke de Boerstrjitte 18 staat heeft een oppervlakte van 2105 m². Dit is een zeer groot perceel. De perceeloppervlakte wordt geregistreerd door het Kadaster. Gedetailleerde informatie over de maten van dit perceel kunt u vinden in het rapport Kadastrale kaart met maatvoering van Tjalke de Boerstrjitte 18.
De eigenaar van Tjalke de Boerstrjitte 18 is op te vragen op deze pagina.
De informatie over dit adres is afkomstig uit officiële overheidsregistraties, voornamelijk de Basisregistratie Adressen en Gebouwen (BAG) en de Basisregistratie Kadaster (BRK). Deze gegevens worden beheerd door respectievelijk gemeenten en het Kadaster, en worden regelmatig bijgewerkt. Energielabelgegevens komen uit de database van de Rijksdienst voor Ondernemend Nederland (RVO).
