
Basserweg 17 is gelegen in de plaats Basse, de gemeente Steenwijkerland en de provincie Overijssel. Het perceel waarop het verblijfsobject staat is 1380 m² groot. De oppervlakte van het adres is 138 m², wat zich rond het Nederlandse gemiddelde van 119 m² bevindt. Het adres is klein vergeleken met andere objecten in de straat. Het grootste object in de straat heeft een oppervlakte van 545 m², het kleinste is 4 m² groot. Het gebouw waarin Basserweg 17 ligt komt uit het jaar 1900. Objecten die gebouwd zijn vóór 1965 classificeren we hier als oud. In de straat komt het nieuwste gebouw uit het jaar 2024 en het oudste uit 1800. Het bouwjaar van dit object is relatief oud. De volgende gebruiksdoelen zijn geregistreerd voor dit adres: 'woonfunctie' en 'industriefunctie'.
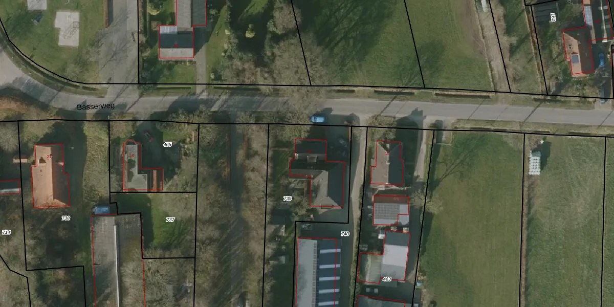
Het adres ligt op het perceel SWK01-L-739, dat zich in de kadastrale gemeente Steenwijk bevindt. Het perceel is 1380 m² groot. Dat is kleiner dan de gemiddelde perceeloppervlakte in Steenwijk, dat op 5005,75 m² ligt. Het kleinste perceel in de kadastrale gemeente is 0 m² groot. De grootste perceeloppervlakte is 2,01 km². Er zijn geen andere adressen aanwezig op het perceel. De laatste wijziging in het de Basisregistratie Kadaster (BRK) was op 16-07-2007.
Er is geen energielabel geregistreerd voor het adres. Het hoogste energielabel in de straat is A++++; het laagste is G. Het gemiddelde energielabel is er C. Het adres Basserweg 17 heeft als status: 'verblijfsobject in gebruik'. Het pand waarin dit adres ligt heeft als status: 'pand in gebruik'.
Basserweg 17 is een adres gelegen in de gemeente Steenwijkerland, provincie Overijssel. Dit adres is geregistreerd in de Basisregistratie Adressen en Gebouwen (BAG) met als unieke identificatie 1708010000000140.
Het pand op Basserweg 17 is gebouwd in 1900, wat betekent dat het 126 jaar oud is. Dit is een ouder pand. Het pand heeft mogelijk aanzienlijke renovaties nodig om aan de huidige standaarden te voldoen.
De woning op Basserweg 17 heeft een gebruiksoppervlakte van 138 m². Dit is gemiddeld vergeleken met de gemiddelde Nederlandse woning, die een oppervlakte heeft van ongeveer 119 m². De gebruiksoppervlakte is de maat die wordt gebruikt in de BAG-registratie, de landelijke registratie van de Nederlandse overheid.
Basserweg 17 heeft als functie: wonen en industrie. Deze gebruiksfunctie(s) zijn vastgelegd in de BAG-registratie en geven aan waarvoor het adres officieel mag worden gebruikt.
Basserweg 17 is gelegen op kadastraal perceel SWK01L739. Deze kadastrale aanduiding is uniek en wordt gebruikt door het Kadaster om eigendomsrechten en andere zakelijke rechten vast te leggen. Het perceel maakt onderdeel uit van de kadastrale gemeente Steenwijk.
Het perceel waarop Basserweg 17 staat heeft een oppervlakte van 1380 m². Dit is een zeer groot perceel. De perceeloppervlakte wordt geregistreerd door het Kadaster. Gedetailleerde informatie over de maten van dit perceel kunt u vinden in het rapport Kadastrale kaart met maatvoering van Basserweg 17.
De eigenaar van Basserweg 17 is op te vragen op deze pagina.
De informatie over dit adres is afkomstig uit officiële overheidsregistraties, voornamelijk de Basisregistratie Adressen en Gebouwen (BAG) en de Basisregistratie Kadaster (BRK). Deze gegevens worden beheerd door respectievelijk gemeenten en het Kadaster, en worden regelmatig bijgewerkt. Energielabelgegevens komen uit de database van de Rijksdienst voor Ondernemend Nederland (RVO).
