
Het adres Kluisstraat 3 bevindt zich in de plaats Bavel, in de gemeente Bavel en de provincie Noord-Brabant. De oppervlakte van het verblijfsobject is met 191 m² aan de grote kant. Het perceel heeft een oppervlakte van 4127 m². De oppervlakte van dit adres is groot vergeleken met de oppervlaktes van andere adressen in de straat. De kleinste oppervlakte bedraagt er 88 m², de grootste 264 m². Het pand waarin Kluisstraat 3 ligt is gebouwd in het jaar 2002. Panden die gebouwd zijn na het jaar 1984 noemen we hier relatief nieuw. Gemiddeld zijn de gebouwen in de straat gebouwd in 2012. Dit is het oudste pand in de straat. Het meest recente komt uit het jaar 2024. Voor het verblijfsobject gelden deze gebruiksdoelen: 'woonfunctie'.
Deze woning is voor het laatst verkocht op 1 augustus 2001. Meer informatie over deze transactie? Bestel het Woningtransactierapport om de verkoopprijs en andere informatie te zien.
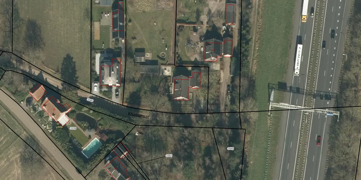
Het adres ligt op het perceel GNK01-K-5573, dat zich in de kadastrale gemeente Nieuw-Ginneken bevindt. Het perceel is met 4127 m² relatief groot. Het gemiddelde ligt in de kadastrale gemeente Nieuw-Ginneken op 2453,05 m². Het kleinste perceel in de kadastrale gemeente is 0 m² groot. De grootste perceeloppervlakte is 34,2 ha. Op het perceel bevinden zich geen andere adressen. In de Basisregistratie Kadaster (BRK) werden de grenzen van het perceel geregistreerd op 16-06-2020.
Er is geen energielabel geregistreerd voor het adres. Het hoogste energielabel in de straat is A; het laagste is G. Het gemiddelde energielabel is er A. Het adres Kluisstraat 3 heeft als status: 'verblijfsobject in gebruik'. Het pand waarin dit adres ligt heeft als status: 'pand in gebruik'.
Kluisstraat 3 is een adres gelegen in de gemeente Breda, provincie Noord-Brabant. Dit adres is geregistreerd in de Basisregistratie Adressen en Gebouwen (BAG) met als unieke identificatie 0758010000001435.
Het pand op Kluisstraat 3 is gebouwd in 2002, wat betekent dat het 24 jaar oud is. Dit is een relatief modern pand. Ten opzichte van de nationale woningvoorraad is het pand relatief modern, maar er kunnen enkele verouderde elementen zijn die aandacht nodig hebben.
De woning op Kluisstraat 3 heeft een gebruiksoppervlakte van 191 m². Dit is ruim vergeleken met de gemiddelde Nederlandse woning, die een oppervlakte heeft van ongeveer 119 m². De gebruiksoppervlakte is de maat die wordt gebruikt in de BAG-registratie, de landelijke registratie van de Nederlandse overheid.
Kluisstraat 3 heeft als functie: wonen. Deze gebruiksfunctie(s) zijn vastgelegd in de BAG-registratie en geven aan waarvoor het adres officieel mag worden gebruikt.
Kluisstraat 3 is gelegen op kadastraal perceel GNK01K5573. Deze kadastrale aanduiding is uniek en wordt gebruikt door het Kadaster om eigendomsrechten en andere zakelijke rechten vast te leggen. Het perceel maakt onderdeel uit van de kadastrale gemeente Nieuw-Ginneken.
Het perceel waarop Kluisstraat 3 staat heeft een oppervlakte van 4127 m². Dit is een zeer groot perceel. De perceeloppervlakte wordt geregistreerd door het Kadaster. Gedetailleerde informatie over de maten van dit perceel kunt u vinden in het rapport Kadastrale kaart met maatvoering van Kluisstraat 3.
De eigenaar van Kluisstraat 3 is op te vragen op deze pagina.
De informatie over dit adres is afkomstig uit officiële overheidsregistraties, voornamelijk de Basisregistratie Adressen en Gebouwen (BAG) en de Basisregistratie Kadaster (BRK). Deze gegevens worden beheerd door respectievelijk gemeenten en het Kadaster, en worden regelmatig bijgewerkt. Energielabelgegevens komen uit de database van de Rijksdienst voor Ondernemend Nederland (RVO).
