
Spelderholt 6 is gelegen in de plaats Beekbergen, de gemeente Apeldoorn en de provincie Gelderland. De oppervlakte van het adres is 114 m². Dat is vergelijkbaar met het gemiddelde Nederlandse oppervlakte van 119 m². De oppervlakte van het perceel waarin het adres ligt is 2310 m². De oppervlakte van het adres is klein vergeleken met de andere objecten in de straat. De oppervlakte van het kleinste object in de straat bedraagt 91 m², terwijl het grootste object 5111 m² groot is. Het adres Spelderholt 6 ligt in een relatief oud pand uit het jaar 1912. Panden van vóór het jaar 1965 hebben we hier geclassificeerd als oud. Het nieuwste gebouw in de straat komt uit 2025 en het oudste uit 1908. Dit object is relatief oud. Voor het verblijfsobject gelden deze gebruiksdoelen: 'woonfunctie'.
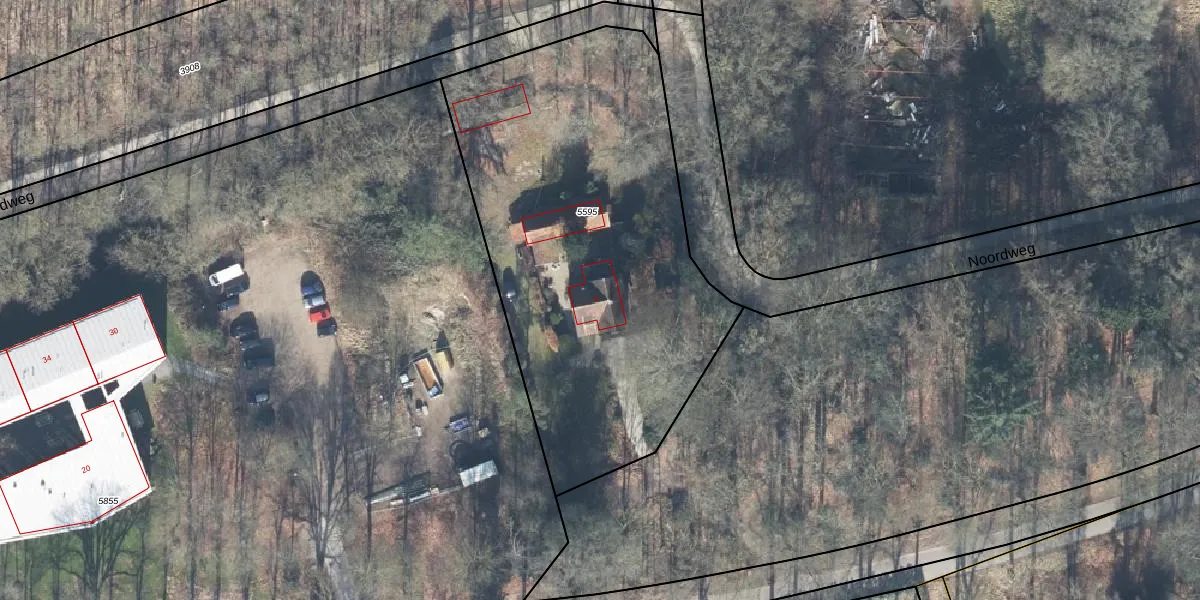
Het adres is gelegen op perceel 5595 in de sectie F en de kadastrale gemeente Beekbergen. De kadastrale aanduiding is aldus BBG01-F-5595. De gemiddelde perceelgrootte in Beekbergen is 9045,29 m². Dit perceel is kleiner: de perceeloppervlakte bedraagt 2310 m². De grootste perceeloppervlakte in de kadastrale gemeente is 1,65 km². De kleinste oppervlakte bedraagt 0 m². Op het perceel bevinden zich geen andere adressen. De laatste wijziging in het de Basisregistratie Kadaster (BRK) was op 19-05-2011.
Er is geen energielabel geregistreerd voor het adres. Het hoogste energielabel in de straat is A+++; het laagste is G. Het gemiddelde energielabel is er D. Het adres Spelderholt 6 heeft als status: 'verblijfsobject in gebruik'. Het pand waarin dit adres ligt heeft als status: 'pand in gebruik'.
Spelderholt 6 is een adres gelegen in de gemeente Apeldoorn, provincie Gelderland. Dit adres is geregistreerd in de Basisregistratie Adressen en Gebouwen (BAG) met als unieke identificatie 0200010000192060.
Het pand op Spelderholt 6 is gebouwd in 1912, wat betekent dat het 114 jaar oud is. Dit is een ouder pand. Het pand heeft mogelijk aanzienlijke renovaties nodig om aan de huidige standaarden te voldoen.
De woning op Spelderholt 6 heeft een gebruiksoppervlakte van 114 m². Dit is onder het gemiddelde vergeleken met de gemiddelde Nederlandse woning, die een oppervlakte heeft van ongeveer 119 m². De gebruiksoppervlakte is de maat die wordt gebruikt in de BAG-registratie, de landelijke registratie van de Nederlandse overheid.
Spelderholt 6 heeft als functie: wonen. Deze gebruiksfunctie(s) zijn vastgelegd in de BAG-registratie en geven aan waarvoor het adres officieel mag worden gebruikt.
Spelderholt 6 is gelegen op kadastraal perceel BBG01F5595. Deze kadastrale aanduiding is uniek en wordt gebruikt door het Kadaster om eigendomsrechten en andere zakelijke rechten vast te leggen. Het perceel maakt onderdeel uit van de kadastrale gemeente Beekbergen.
Het perceel waarop Spelderholt 6 staat heeft een oppervlakte van 2310 m². Dit is een zeer groot perceel. De perceeloppervlakte wordt geregistreerd door het Kadaster. Gedetailleerde informatie over de maten van dit perceel kunt u vinden in het rapport Kadastrale kaart met maatvoering van Spelderholt 6.
De eigenaar van Spelderholt 6 is op te vragen op deze pagina.
De informatie over dit adres is afkomstig uit officiële overheidsregistraties, voornamelijk de Basisregistratie Adressen en Gebouwen (BAG) en de Basisregistratie Kadaster (BRK). Deze gegevens worden beheerd door respectievelijk gemeenten en het Kadaster, en worden regelmatig bijgewerkt. Energielabelgegevens komen uit de database van de Rijksdienst voor Ondernemend Nederland (RVO).
