
Holthe 37-C-L1 is gelegen in de plaats Beilen, de gemeente Midden-Drenthe en de provincie Drenthe. De oppervlakte van het object bedraagt 62 m². Dat is klein vergeleken met het Nederlandse gemiddelde. Het perceel waarop het adres ligt is 9980 m² groot. Het adres is klein vergeleken met andere objecten in de straat. Het grootste object in de straat heeft een oppervlakte van 796 m², het kleinste is 5 m² groot. De gemiddelde bouwperiode van gebouwen in Nederland ligt tussen de jaren 1965-1984. Dat geldt ook voor het bouwjaar van Holthe 37-C-L1: het is gebouwd in het jaar 1970. Veel andere gebouwen in de straat zijn ouder dan dit pand. Het oudste pand komt uit het jaar 1800 en het nieuwste uit 2024. Het verblijfsobject heeft de volgende gebruiksdoelen: 'logiesfunctie'.
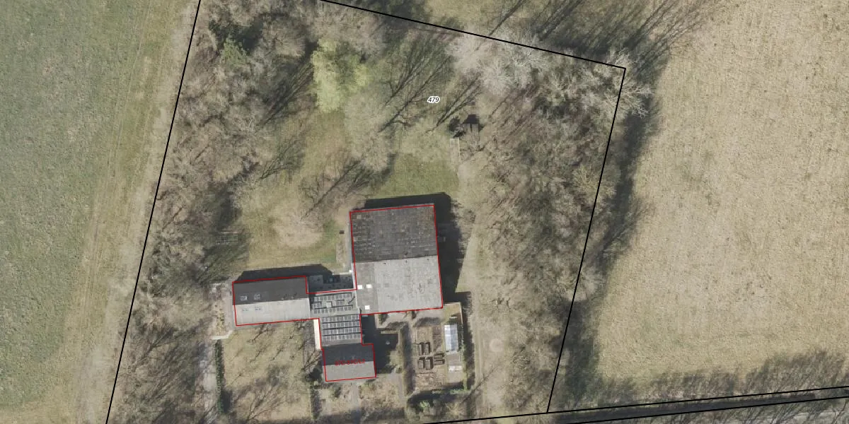
Het adres ligt op het perceel BLN00-T-479, dat zich in de kadastrale gemeente Beilen bevindt. Het perceel is kleiner dan gemiddeld in Beilen. Het perceel is 9980 m² groot, terwijl het gemiddelde ligt op 1,2 ha. Het kleinste perceel in de kadastrale gemeente is 0 m² groot. De grootste perceeloppervlakte is 4,30 km². Op het perceel zijn 3 adressen aanwezig. De laatste wijziging in het de Basisregistratie Kadaster (BRK) was op 02-05-2003.
Er is geen energielabel geregistreerd voor het adres. Het hoogste energielabel in de straat is A+++; het laagste is G. Het gemiddelde energielabel is er B. Het adres Holthe 37-C-L1 heeft als status: 'verblijfsobject in gebruik'. Het pand waarin dit adres ligt heeft als status: 'pand in gebruik'.
Holthe 37-C-L1 is een adres gelegen in de gemeente Midden-Drenthe, provincie Drenthe. Dit adres is geregistreerd in de Basisregistratie Adressen en Gebouwen (BAG) met als unieke identificatie 1731010041075356.
Het pand op Holthe 37-C-L1 is gebouwd in 1970, wat betekent dat het 56 jaar oud is. Dit is een ouder pand. Het pand heeft mogelijk aanzienlijke renovaties nodig om aan de huidige standaarden te voldoen.
De woning op Holthe 37-C-L1 heeft een gebruiksoppervlakte van 62 m². Dit is relatief klein vergeleken met de gemiddelde Nederlandse woning, die een oppervlakte heeft van ongeveer 119 m². De gebruiksoppervlakte is de maat die wordt gebruikt in de BAG-registratie, de landelijke registratie van de Nederlandse overheid.
Holthe 37-C-L1 heeft als functie: logies/verblijf. Deze gebruiksfunctie(s) zijn vastgelegd in de BAG-registratie en geven aan waarvoor het adres officieel mag worden gebruikt.
Holthe 37-C-L1 is gelegen op kadastraal perceel BLN00T479. Deze kadastrale aanduiding is uniek en wordt gebruikt door het Kadaster om eigendomsrechten en andere zakelijke rechten vast te leggen. Het perceel maakt onderdeel uit van de kadastrale gemeente Beilen.
Het perceel waarop Holthe 37-C-L1 staat heeft een oppervlakte van 9980 m². Dit is een zeer groot perceel. De perceeloppervlakte wordt geregistreerd door het Kadaster. Gedetailleerde informatie over de maten van dit perceel kunt u vinden in het rapport Kadastrale kaart met maatvoering van Holthe 37-C-L1.
De eigenaar van Holthe 37-C-L1 is op te vragen op deze pagina.
De informatie over dit adres is afkomstig uit officiële overheidsregistraties, voornamelijk de Basisregistratie Adressen en Gebouwen (BAG) en de Basisregistratie Kadaster (BRK). Deze gegevens worden beheerd door respectievelijk gemeenten en het Kadaster, en worden regelmatig bijgewerkt. Energielabelgegevens komen uit de database van de Rijksdienst voor Ondernemend Nederland (RVO).
