
Het adres Beekweg 9 bevindt zich in de plaats Belfeld, in de gemeente Belfeld en de provincie Limburg. De oppervlakte van het verblijfsobject is met 638 m² aan de grote kant. Het perceel heeft een oppervlakte van 2625 m². Het adres is klein vergeleken met andere objecten in de straat. Het grootste object in de straat heeft een oppervlakte van 2510 m², het kleinste is 174 m² groot. Het pand waarin Beekweg 9 ligt is gebouwd in het jaar 2024. Panden die gebouwd zijn na het jaar 1984 noemen we hier relatief nieuw. Dit pand is het meest recent exemplaar in de straat. Het oudste object komt er uit 1968 en het gemiddelde bouwjaar is 2009. Het verblijfsobject heeft de volgende gebruiksdoelen: 'woonfunctie'.
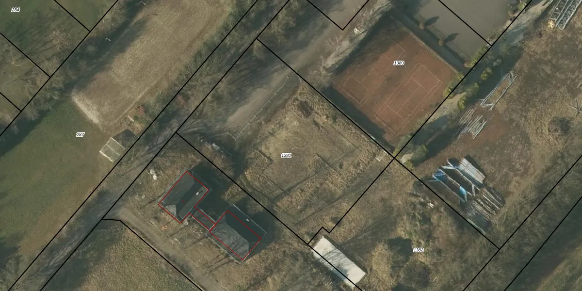
Het adres ligt op het perceel BFD00-E-1381, dat zich in de kadastrale gemeente Belfeld bevindt. Het perceel is kleiner dan gemiddeld in Belfeld. Het perceel is 2625 m² groot, terwijl het gemiddelde ligt op 3432,17 m². Het kleinste perceel in de kadastrale gemeente is 0 m² groot. De grootste perceeloppervlakte is 28,0 ha. Op het perceel bevinden zich geen andere adressen. In de Basisregistratie Kadaster (BRK) werden de grenzen van het perceel geregistreerd op 06-02-2026.
Er is geen energielabel geregistreerd voor het adres. Het hoogste energielabel in de straat is A+++++; het laagste is G. Het gemiddelde energielabel is er A+++++. Het adres Beekweg 9 heeft als status: 'verblijfsobject gevormd'. Het pand waarin dit adres ligt heeft als status: 'bouw gestart'.
Beekweg 9 is een adres gelegen in de gemeente Venlo, provincie Limburg. Dit adres is geregistreerd in de Basisregistratie Adressen en Gebouwen (BAG) met als unieke identificatie 0983010000158826.
Het pand op Beekweg 9 is gebouwd in 2024, wat betekent dat het 2 jaar oud is. Dit is een vrij nieuw pand. Het pand is dus waarschijnlijk goed geïsoleerd, geluidsdicht en voldoet aan de huidige bouwstandaarden. Op korte termijn zijn er waarschijnlijk weinig onderhoudskosten.
De woning op Beekweg 9 heeft een gebruiksoppervlakte van 638 m². Dit is ruim vergeleken met de gemiddelde Nederlandse woning, die een oppervlakte heeft van ongeveer 119 m². De gebruiksoppervlakte is de maat die wordt gebruikt in de BAG-registratie, de landelijke registratie van de Nederlandse overheid.
Beekweg 9 heeft als functie: wonen. Deze gebruiksfunctie(s) zijn vastgelegd in de BAG-registratie en geven aan waarvoor het adres officieel mag worden gebruikt.
Beekweg 9 is gelegen op kadastraal perceel BFD00E1381. Deze kadastrale aanduiding is uniek en wordt gebruikt door het Kadaster om eigendomsrechten en andere zakelijke rechten vast te leggen. Het perceel maakt onderdeel uit van de kadastrale gemeente Belfeld.
Het perceel waarop Beekweg 9 staat heeft een oppervlakte van 2625 m². Dit is een zeer groot perceel. De perceeloppervlakte wordt geregistreerd door het Kadaster. Gedetailleerde informatie over de maten van dit perceel kunt u vinden in het rapport Kadastrale kaart met maatvoering van Beekweg 9.
De eigenaar van Beekweg 9 is op te vragen op deze pagina.
De informatie over dit adres is afkomstig uit officiële overheidsregistraties, voornamelijk de Basisregistratie Adressen en Gebouwen (BAG) en de Basisregistratie Kadaster (BRK). Deze gegevens worden beheerd door respectievelijk gemeenten en het Kadaster, en worden regelmatig bijgewerkt. Energielabelgegevens komen uit de database van de Rijksdienst voor Ondernemend Nederland (RVO).
