
Elshoutweg 6-B is gelegen in de plaats Belfeld, de gemeente Venlo en de provincie Limburg. Het object heeft een oppervlakte van 329 m², wat relatief groot is. Het perceel waarop het adres ligt is 4300 m² groot. De oppervlakte van het adres is klein vergeleken met de andere objecten in de straat. De oppervlakte van het kleinste object in de straat bedraagt 50 m², terwijl het grootste object 6,3 ha groot is. De gemiddelde bouwperiode van gebouwen in Nederland ligt tussen de jaren 1965-1984. Dat geldt ook voor het bouwjaar van Elshoutweg 6-B: het is gebouwd in het jaar 1979. Het bouwjaar is oud vergeleken met dat van de andere panden in de straat. Het oudste bouwjaar is er 1930 en de nieuwste is 2022. Voor het verblijfsobject gelden deze gebruiksdoelen: 'woonfunctie'.
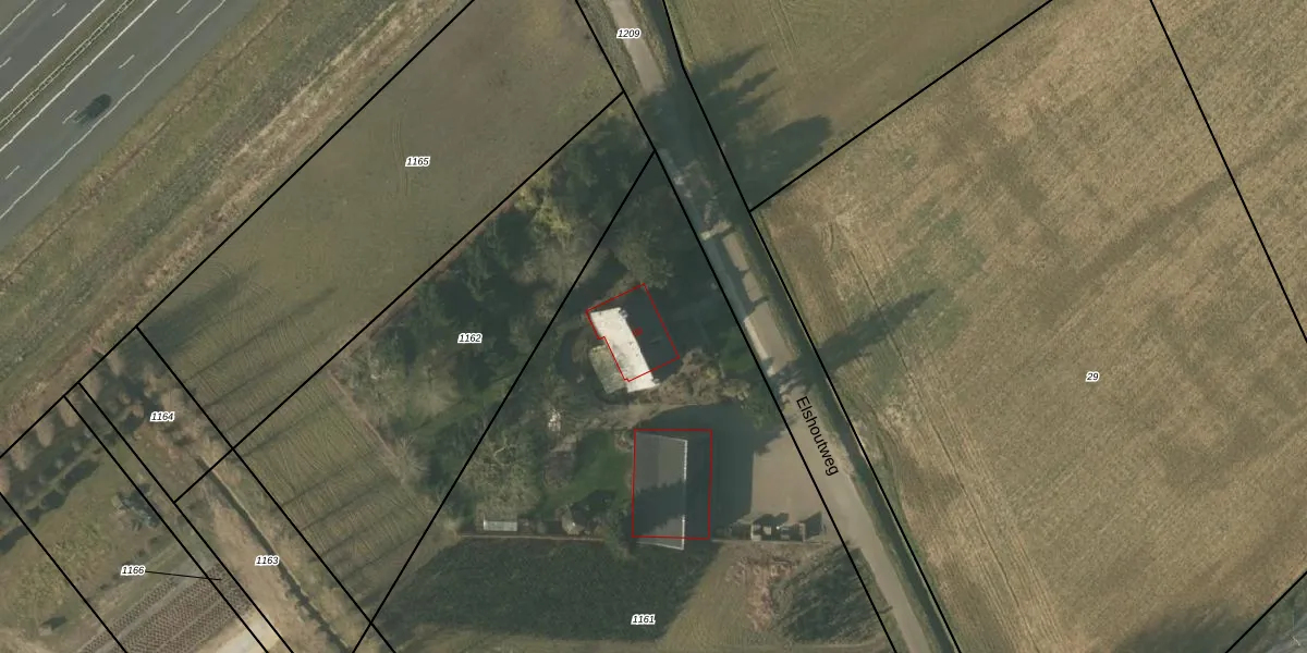
Het adres is gelegen op perceel 1161 in de sectie E en de kadastrale gemeente Belfeld. De kadastrale aanduiding is aldus BFD00-E-1161. Het perceel is met 4300 m² relatief groot. Het gemiddelde ligt in de kadastrale gemeente Belfeld op 3432,17 m². Het kleinste perceel in de kadastrale gemeente is 0 m² groot. De grootste perceeloppervlakte is 28,0 ha. Dit is het enige adres dat aanwezig is op het perceel. De laatste wijziging in het de Basisregistratie Kadaster (BRK) was op 28-08-2012.
Er is geen energielabel geregistreerd voor het adres. Het hoogste energielabel in de straat is E; het laagste is G. Het gemiddelde energielabel is er E. Het adres Elshoutweg 6-B heeft als status: 'verblijfsobject in gebruik'. Het pand waarin dit adres ligt heeft als status: 'pand in gebruik'.
Elshoutweg 6-B is een adres gelegen in de gemeente Venlo, provincie Limburg. Dit adres is geregistreerd in de Basisregistratie Adressen en Gebouwen (BAG) met als unieke identificatie 0983010000080133.
Het pand op Elshoutweg 6-B is gebouwd in 1979, wat betekent dat het 47 jaar oud is. Dit is een pand van middelbare leeftijd. Het pand is van gemiddelde leeftijd en zal waarschijnlijk verouderde elementen bevatten.
De woning op Elshoutweg 6-B heeft een gebruiksoppervlakte van 329 m². Dit is ruim vergeleken met de gemiddelde Nederlandse woning, die een oppervlakte heeft van ongeveer 119 m². De gebruiksoppervlakte is de maat die wordt gebruikt in de BAG-registratie, de landelijke registratie van de Nederlandse overheid.
Elshoutweg 6-B heeft als functie: wonen. Deze gebruiksfunctie(s) zijn vastgelegd in de BAG-registratie en geven aan waarvoor het adres officieel mag worden gebruikt.
Elshoutweg 6-B is gelegen op kadastraal perceel BFD00E1161. Deze kadastrale aanduiding is uniek en wordt gebruikt door het Kadaster om eigendomsrechten en andere zakelijke rechten vast te leggen. Het perceel maakt onderdeel uit van de kadastrale gemeente Belfeld.
Het perceel waarop Elshoutweg 6-B staat heeft een oppervlakte van 4300 m². Dit is een zeer groot perceel. De perceeloppervlakte wordt geregistreerd door het Kadaster. Gedetailleerde informatie over de maten van dit perceel kunt u vinden in het rapport Kadastrale kaart met maatvoering van Elshoutweg 6-B.
De eigenaar van Elshoutweg 6-B is op te vragen op deze pagina.
De informatie over dit adres is afkomstig uit officiële overheidsregistraties, voornamelijk de Basisregistratie Adressen en Gebouwen (BAG) en de Basisregistratie Kadaster (BRK). Deze gegevens worden beheerd door respectievelijk gemeenten en het Kadaster, en worden regelmatig bijgewerkt. Energielabelgegevens komen uit de database van de Rijksdienst voor Ondernemend Nederland (RVO).
