
Waaldijk 14-b-1 is gelegen in de plaats Bemmel, de gemeente Lingewaard en de provincie Gelderland. Het perceel waarop het adres gelegen is heeft een oppervlakte van 839 m². Het verblijfsobject is met 36 m² relatief klein. In de straat is dit het kleinste object. Het grootste verblijfsobject heeft een oppervlakte van 646 m². De gemiddelde grootte is er 234 m². In het jaar 2001 is het pand waarin Waaldijk 14-b-1 ligt gebouwd. Dat is relatief recent: de meeste gebouwen in Nederland zijn gebouwd in de periode 1965-1984. Vergeleken met de andere panden in de straat is dit gebouw nieuw. Het vroegste bouwjaar is er 1642 en het laatste is 2025. Het verblijfsobject heeft de volgende gebruiksdoelen: 'woonfunctie'.
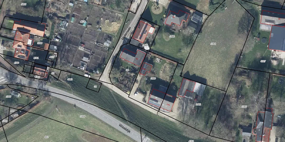
Het perceel waarop het adres ligt is BML02-H-2440. De afkorting 'BML02' staat voor kadastrale gemeente Bemmel. Het perceel is kleiner dan gemiddeld in Bemmel. Het perceel is 839 m² groot, terwijl het gemiddelde ligt op 2615,52 m². De grootste perceeloppervlakte in de kadastrale gemeente is 25,0 ha. De kleinste oppervlakte bedraagt 0 m². Er zijn 2 adressen aanwezig op het perceel. De laatste wijziging in het de Basisregistratie Kadaster (BRK) was op 28-01-2003.
Er is geen energielabel geregistreerd voor het adres. Het hoogste energielabel in de straat is A++; het laagste is G. Het gemiddelde energielabel is er C. Het adres Waaldijk 14-b-1 heeft als status: 'verblijfsobject in gebruik'. Het pand waarin dit adres ligt heeft als status: 'pand in gebruik'.
Waaldijk 14-b-1 is een adres gelegen in de gemeente Lingewaard, provincie Gelderland. Dit adres is geregistreerd in de Basisregistratie Adressen en Gebouwen (BAG) met als unieke identificatie 1705010000039520.
Het pand op Waaldijk 14-b-1 is gebouwd in 2001, wat betekent dat het 25 jaar oud is. Dit is een pand van middelbare leeftijd. Het pand is van gemiddelde leeftijd en zal waarschijnlijk verouderde elementen bevatten.
De woning op Waaldijk 14-b-1 heeft een gebruiksoppervlakte van 36 m². Dit is relatief klein vergeleken met de gemiddelde Nederlandse woning, die een oppervlakte heeft van ongeveer 119 m². De gebruiksoppervlakte is de maat die wordt gebruikt in de BAG-registratie, de landelijke registratie van de Nederlandse overheid.
Waaldijk 14-b-1 heeft als functie: wonen. Deze gebruiksfunctie(s) zijn vastgelegd in de BAG-registratie en geven aan waarvoor het adres officieel mag worden gebruikt.
Waaldijk 14-b-1 is gelegen op kadastraal perceel BML02H2440. Deze kadastrale aanduiding is uniek en wordt gebruikt door het Kadaster om eigendomsrechten en andere zakelijke rechten vast te leggen. Het perceel maakt onderdeel uit van de kadastrale gemeente Bemmel.
Het perceel waarop Waaldijk 14-b-1 staat heeft een oppervlakte van 839 m². Dit is een groot perceel. De perceeloppervlakte wordt geregistreerd door het Kadaster. Gedetailleerde informatie over de maten van dit perceel kunt u vinden in het rapport Kadastrale kaart met maatvoering van Waaldijk 14-b-1.
De eigenaar van Waaldijk 14-b-1 is op te vragen op deze pagina.
De informatie over dit adres is afkomstig uit officiële overheidsregistraties, voornamelijk de Basisregistratie Adressen en Gebouwen (BAG) en de Basisregistratie Kadaster (BRK). Deze gegevens worden beheerd door respectievelijk gemeenten en het Kadaster, en worden regelmatig bijgewerkt. Energielabelgegevens komen uit de database van de Rijksdienst voor Ondernemend Nederland (RVO).
