
Het adres Rijnsteeg 14-A bevindt zich in de plaats Bennekom, in de gemeente Bennekom en de provincie Gelderland. De oppervlakte bedraagt 187 m², waarmee het adres groter dan gemiddeld is. De grootte van het perceel waarop het adres ligt is 905 m². Het adres is klein vergeleken met andere objecten in de straat. Het grootste object in de straat heeft een oppervlakte van 2066 m², het kleinste is 61 m² groot. Het adres Rijnsteeg 14-A ligt in een relatief oud pand uit het jaar 1900. Panden van vóór het jaar 1965 hebben we hier geclassificeerd als oud. Dit is het oudste object in de straat. Het nieuwste pand komt uit 2025 en het gemiddelde bouwjaar in de straat is 1959. De volgende gebruiksdoelen zijn geregistreerd voor dit adres: 'logiesfunctie'.
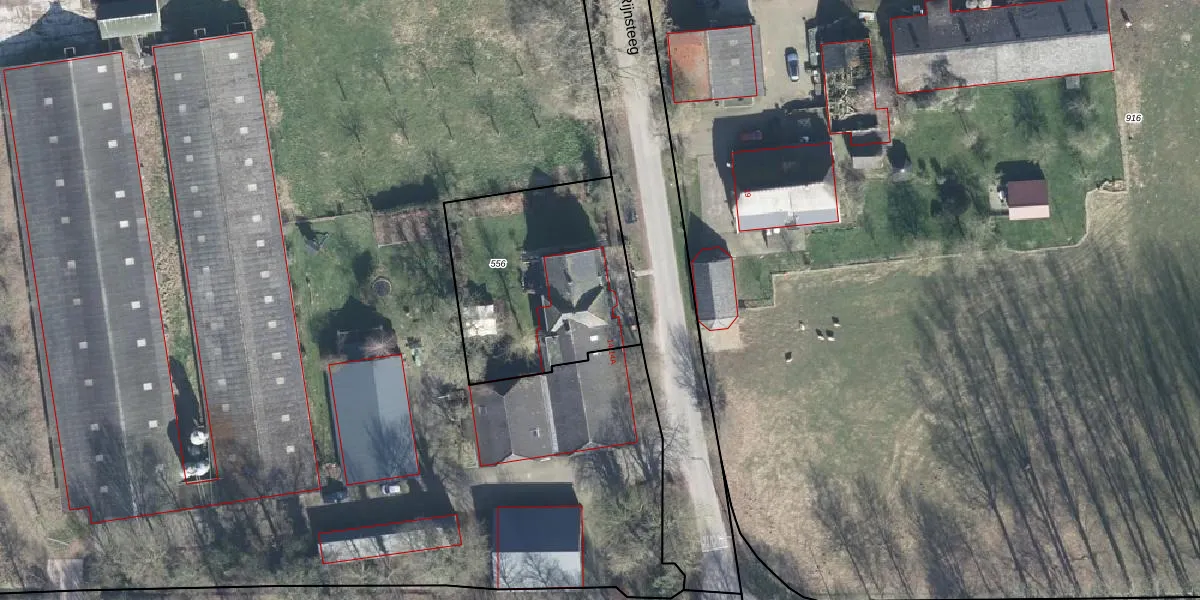
Het adres ligt op het perceel BNK01-A-556, dat zich in de kadastrale gemeente Bennekom bevindt. Het perceel is 905 m² groot. Dat is kleiner dan de gemiddelde perceeloppervlakte in Bennekom, dat op 3163,51 m² ligt. De grootste perceeloppervlakte in de kadastrale gemeente is 63,3 ha. De kleinste oppervlakte bedraagt 0 m². Er zijn geen andere adressen aanwezig op het perceel. In de Basisregistratie Kadaster (BRK) werden de grenzen van het perceel geregistreerd op 02-10-1998.
Het adres ligt in een gebouw van het type 'twee-onder-één-kap'. Bij de laatste meting is voor het adres het energielabel C geregistreerd. Het hoogste energielabel in de straat is A; het laagste is G. Het gemiddelde energielabel is er C. Het adres Rijnsteeg 14-A heeft als status: 'verblijfsobject in gebruik'. Het pand waarin dit adres ligt heeft als status: 'pand in gebruik'.
Rijnsteeg 14-A is een adres gelegen in de gemeente Ede, provincie Gelderland. Dit adres is geregistreerd in de Basisregistratie Adressen en Gebouwen (BAG) met als unieke identificatie 0228010000003264.
Het pand op Rijnsteeg 14-A is gebouwd in 1900, wat betekent dat het 126 jaar oud is. Dit is een ouder pand. Het pand heeft mogelijk aanzienlijke renovaties nodig om aan de huidige standaarden te voldoen.
De woning op Rijnsteeg 14-A heeft een gebruiksoppervlakte van 187 m². Dit is ruim vergeleken met de gemiddelde Nederlandse woning, die een oppervlakte heeft van ongeveer 119 m². De gebruiksoppervlakte is de maat die wordt gebruikt in de BAG-registratie, de landelijke registratie van de Nederlandse overheid.
Rijnsteeg 14-A heeft als functie: logies/verblijf. Deze gebruiksfunctie(s) zijn vastgelegd in de BAG-registratie en geven aan waarvoor het adres officieel mag worden gebruikt.
Rijnsteeg 14-A is gelegen op kadastraal perceel BNK01A556. Deze kadastrale aanduiding is uniek en wordt gebruikt door het Kadaster om eigendomsrechten en andere zakelijke rechten vast te leggen. Het perceel maakt onderdeel uit van de kadastrale gemeente Bennekom.
Het perceel waarop Rijnsteeg 14-A staat heeft een oppervlakte van 905 m². Dit is een groot perceel. De perceeloppervlakte wordt geregistreerd door het Kadaster. Gedetailleerde informatie over de maten van dit perceel kunt u vinden in het rapport Kadastrale kaart met maatvoering van Rijnsteeg 14-A.
De eigenaar van Rijnsteeg 14-A is op te vragen op deze pagina.
De informatie over dit adres is afkomstig uit officiële overheidsregistraties, voornamelijk de Basisregistratie Adressen en Gebouwen (BAG) en de Basisregistratie Kadaster (BRK). Deze gegevens worden beheerd door respectievelijk gemeenten en het Kadaster, en worden regelmatig bijgewerkt. Energielabelgegevens komen uit de database van de Rijksdienst voor Ondernemend Nederland (RVO).
