
De Meerberg 3 is gelegen in de plaats Berg en Dal, de gemeente Berg en Dal en de provincie Gelderland. Het perceel waarop het adres gelegen is heeft een oppervlakte van 1531 m². Het verblijfsobject is met 85 m² relatief klein. In de straat is dit het kleinste object. Het grootste verblijfsobject heeft een oppervlakte van 251 m². De gemiddelde grootte is er 116 m². De Meerberg 3 ligt in een gebouw uit het jaar 2011. Daarmee behoort het tot de groep panden van na 1984, die we als relatief nieuw bestempelen. Het gemiddelde bouwjaar in de straat is 2011 en dat van het oudste pand is 2011. Dit is het nieuwste object in de straat. Voor het verblijfsobject gelden deze gebruiksdoelen: 'woonfunctie'.
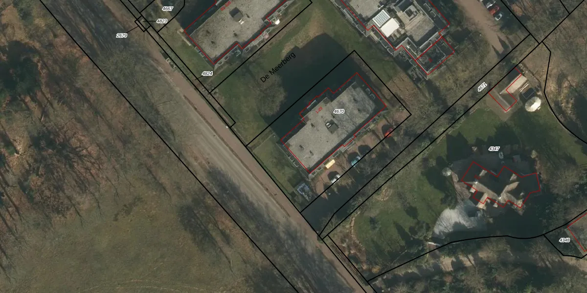
Het perceel waarop het adres ligt is UBG00-B-4670. De afkorting 'UBG00' staat voor kadastrale gemeente Ubbergen. De gemiddelde perceelgrootte in Ubbergen is 2875,08 m². Dit perceel is kleiner: de perceeloppervlakte bedraagt 1531 m². Het grootste perceel in de kadastrale gemeente is 73,7 ha. Het kleinste perceel heeft een oppervlakte van 0 m². Er zijn 15 adressen aanwezig op het perceel. De laatste wijziging in het de Basisregistratie Kadaster (BRK) was op 30-07-2009.
Het adres ligt in een gebouw van het type 'appartement met het subtype hoekvloer'. Bij de laatste meting is voor het adres het energielabel A geregistreerd. Het hoogste energielabel in de straat is A+; het laagste is G. Het gemiddelde energielabel is er A. Het adres De Meerberg 3 heeft als status: 'verblijfsobject in gebruik'. Het pand waarin dit adres ligt heeft als status: 'pand in gebruik'.
De Meerberg 3 is een adres gelegen in de gemeente Berg en Dal, provincie Gelderland. Dit adres is geregistreerd in de Basisregistratie Adressen en Gebouwen (BAG) met als unieke identificatie 0282010000016659.
Het pand op De Meerberg 3 is gebouwd in 2011, wat betekent dat het 15 jaar oud is. Dit is een relatief modern pand. Ten opzichte van de nationale woningvoorraad is het pand relatief modern, maar er kunnen enkele verouderde elementen zijn die aandacht nodig hebben.
De woning op De Meerberg 3 heeft een gebruiksoppervlakte van 85 m². Dit is onder het gemiddelde vergeleken met de gemiddelde Nederlandse woning, die een oppervlakte heeft van ongeveer 119 m². De gebruiksoppervlakte is de maat die wordt gebruikt in de BAG-registratie, de landelijke registratie van de Nederlandse overheid.
De Meerberg 3 heeft als functie: wonen. Deze gebruiksfunctie(s) zijn vastgelegd in de BAG-registratie en geven aan waarvoor het adres officieel mag worden gebruikt.
De Meerberg 3 is gelegen op kadastraal perceel UBG00B4670. Deze kadastrale aanduiding is uniek en wordt gebruikt door het Kadaster om eigendomsrechten en andere zakelijke rechten vast te leggen. Het perceel maakt onderdeel uit van de kadastrale gemeente Ubbergen.
Het perceel waarop De Meerberg 3 staat heeft een oppervlakte van 1531 m². Dit is een zeer groot perceel. De perceeloppervlakte wordt geregistreerd door het Kadaster. Gedetailleerde informatie over de maten van dit perceel kunt u vinden in het rapport Kadastrale kaart met maatvoering van De Meerberg 3.
De eigenaar van De Meerberg 3 is op te vragen op deze pagina.
De informatie over dit adres is afkomstig uit officiële overheidsregistraties, voornamelijk de Basisregistratie Adressen en Gebouwen (BAG) en de Basisregistratie Kadaster (BRK). Deze gegevens worden beheerd door respectievelijk gemeenten en het Kadaster, en worden regelmatig bijgewerkt. Energielabelgegevens komen uit de database van de Rijksdienst voor Ondernemend Nederland (RVO).
