
Boterdorpseweg 76 is gelegen in de plaats Bergschenhoek, de gemeente Lansingerland en de provincie Zuid-Holland. Het perceel waarop het adres gelegen is heeft een oppervlakte van 440 m². Het verblijfsobject is met 59 m² relatief klein. Het object is klein ten opzichte van de andere adressen in de straat. Het grootste verblijfsobject is 1,4 ha groot en het kleinste is 46 m². Boterdorpseweg 76 bevindt zich in een pand uit het jaar 1900. Daarmee behoort het tot de groep relatief oude panden in Nederland die gebouwd zijn vóór 1965. Het gemiddelde bouwjaar in de straat is 1968 en dat van het nieuwste object 2021. In de straat is dit het oudste pand. Het verblijfsobject heeft de volgende gebruiksdoelen: 'woonfunctie'.
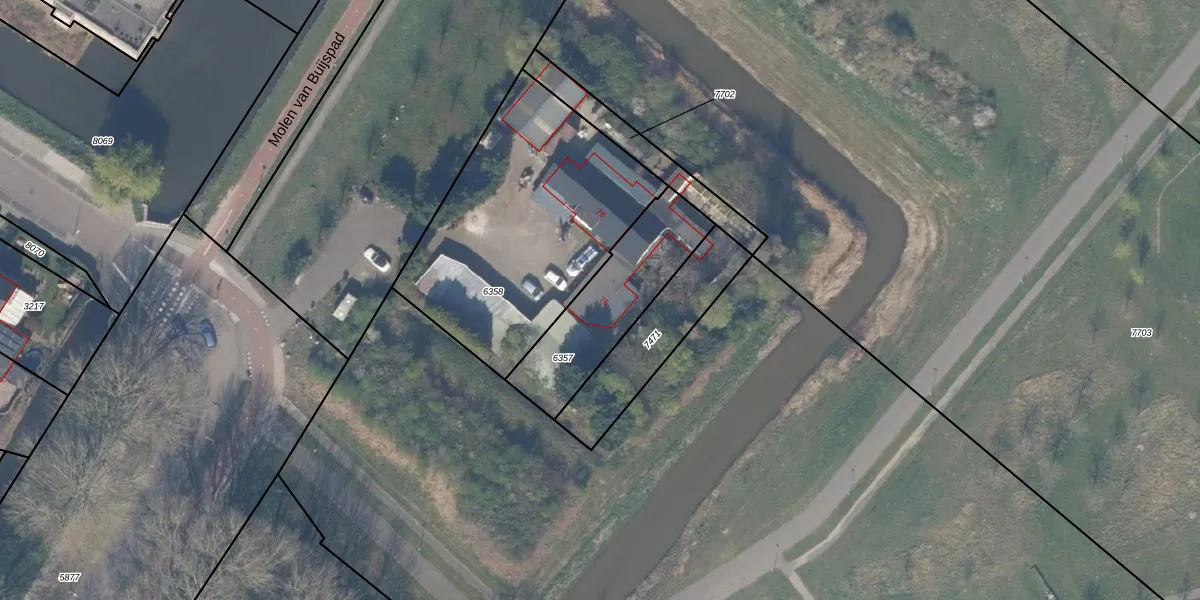
Het perceel waarop het adres ligt is BSH00-B-6357. De afkorting 'BSH00' staat voor kadastrale gemeente Bergschenhoek. Het perceel is kleiner dan gemiddeld in Bergschenhoek. Het perceel is 440 m² groot, terwijl het gemiddelde ligt op 1901,21 m². Het grootste perceel in de kadastrale gemeente is 83,4 ha. Het kleinste perceel heeft een oppervlakte van 0 m². Dit is het enige adres dat aanwezig is op het perceel. De laatste wijziging in het de Basisregistratie Kadaster (BRK) was op 29-04-2009.
Er is geen energielabel geregistreerd voor het adres. Het hoogste energielabel in de straat is A+; het laagste is G. Het gemiddelde energielabel is er A. Het adres Boterdorpseweg 76 heeft als status: 'verblijfsobject in gebruik'. Het pand waarin dit adres ligt heeft als status: 'pand in gebruik'.
Boterdorpseweg 76 is een adres gelegen in de gemeente Lansingerland, provincie Zuid-Holland. Dit adres is geregistreerd in de Basisregistratie Adressen en Gebouwen (BAG) met als unieke identificatie 1621010000001139.
Het pand op Boterdorpseweg 76 is gebouwd in 1900, wat betekent dat het 126 jaar oud is. Dit is een ouder pand. Het pand heeft mogelijk aanzienlijke renovaties nodig om aan de huidige standaarden te voldoen.
De woning op Boterdorpseweg 76 heeft een gebruiksoppervlakte van 59 m². Dit is relatief klein vergeleken met de gemiddelde Nederlandse woning, die een oppervlakte heeft van ongeveer 119 m². De gebruiksoppervlakte is de maat die wordt gebruikt in de BAG-registratie, de landelijke registratie van de Nederlandse overheid.
Boterdorpseweg 76 heeft als functie: wonen. Deze gebruiksfunctie(s) zijn vastgelegd in de BAG-registratie en geven aan waarvoor het adres officieel mag worden gebruikt.
Boterdorpseweg 76 is gelegen op kadastraal perceel BSH00B6357. Deze kadastrale aanduiding is uniek en wordt gebruikt door het Kadaster om eigendomsrechten en andere zakelijke rechten vast te leggen. Het perceel maakt onderdeel uit van de kadastrale gemeente Bergschenhoek.
Het perceel waarop Boterdorpseweg 76 staat heeft een oppervlakte van 440 m². Dit is een groot perceel. De perceeloppervlakte wordt geregistreerd door het Kadaster. Gedetailleerde informatie over de maten van dit perceel kunt u vinden in het rapport Kadastrale kaart met maatvoering van Boterdorpseweg 76.
De eigenaar van Boterdorpseweg 76 is op te vragen op deze pagina.
De informatie over dit adres is afkomstig uit officiële overheidsregistraties, voornamelijk de Basisregistratie Adressen en Gebouwen (BAG) en de Basisregistratie Kadaster (BRK). Deze gegevens worden beheerd door respectievelijk gemeenten en het Kadaster, en worden regelmatig bijgewerkt. Energielabelgegevens komen uit de database van de Rijksdienst voor Ondernemend Nederland (RVO).
