
Het adres Eikenbosch 23 bevindt zich in de plaats Berkel-Enschot, in de gemeente Berkel-Enschot en de provincie Noord-Brabant. De oppervlakte bedraagt 206 m², waarmee het adres groter dan gemiddeld is. De grootte van het perceel waarop het adres ligt is 250 m². In vergelijking met de andere adressen in de straat is de oppervlakte van dit object relatief groot. Het grootste verblijfsobject heeft een oppervlakte van 3677 m², de oppervlakte van het kleinste object bedraagt 7 m². De gemiddelde bouwperiode van gebouwen in Nederland ligt tussen de jaren 1965-1984. Dat geldt ook voor het bouwjaar van Eikenbosch 23: het is gebouwd in het jaar 1970. In de straat komt het nieuwste gebouw uit het jaar 2026 en het oudste uit 1959. Het bouwjaar van dit object is relatief oud. Voor het verblijfsobject gelden deze gebruiksdoelen: 'kantoorfunctie'.
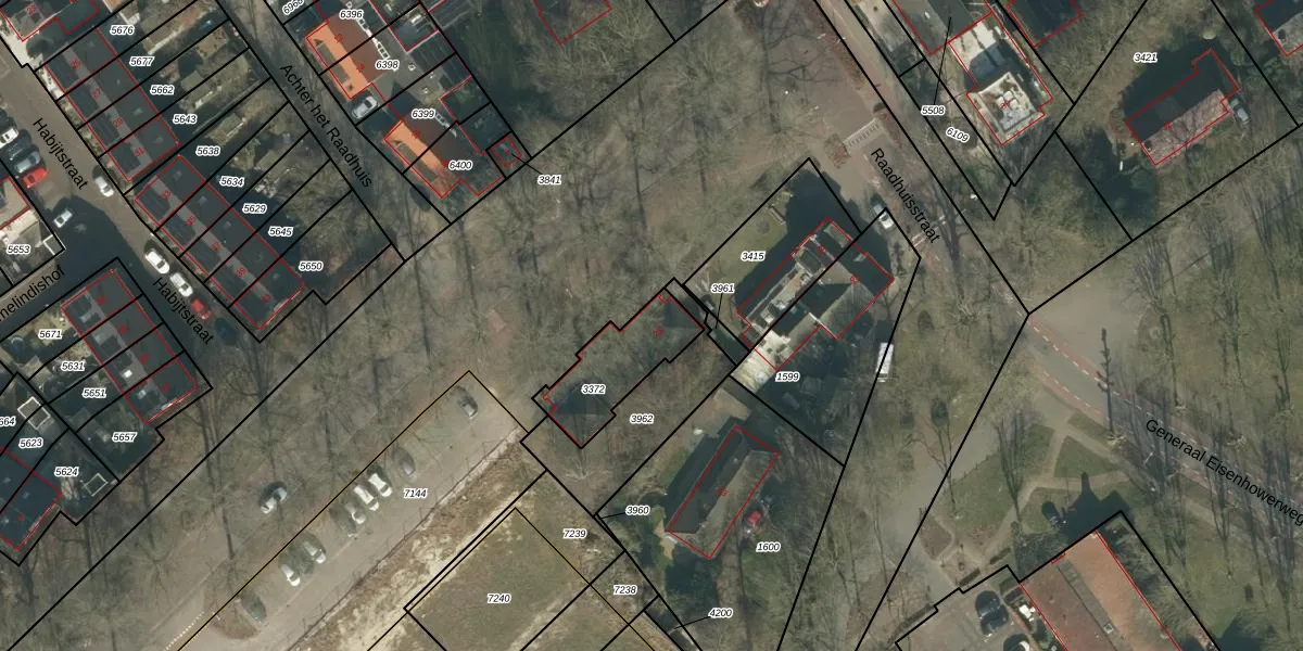
Het perceel waarop het adres ligt is BKL04-A-3372. De afkorting 'BKL04' staat voor kadastrale gemeente Berkel. De gemiddelde perceelgrootte in Berkel is 1557,71 m². Dit perceel is kleiner: de perceeloppervlakte bedraagt 250 m². Het kleinste perceel in de kadastrale gemeente is 0 m² groot. De grootste perceeloppervlakte is 37,4 ha. Er zijn geen andere adressen aanwezig op het perceel. In de Basisregistratie Kadaster (BRK) werden de grenzen van het perceel geregistreerd op 03-03-2006.
Bij de laatste meting is voor het adres het energielabel D geregistreerd. Het hoogste energielabel in de straat is A++++; het laagste is G. Het gemiddelde energielabel is er A+. Het adres Eikenbosch 23 heeft als status: 'verblijfsobject in gebruik'. Het pand waarin dit adres ligt heeft als status: 'pand in gebruik'.
Eikenbosch 23 is een adres gelegen in de gemeente Tilburg, provincie Noord-Brabant. Dit adres is geregistreerd in de Basisregistratie Adressen en Gebouwen (BAG) met als unieke identificatie 0855010000081518.
Het pand op Eikenbosch 23 is gebouwd in 1970, wat betekent dat het 56 jaar oud is. Dit is een ouder pand. Het pand heeft mogelijk aanzienlijke renovaties nodig om aan de huidige standaarden te voldoen.
De woning op Eikenbosch 23 heeft een gebruiksoppervlakte van 206 m². Dit is ruim vergeleken met de gemiddelde Nederlandse woning, die een oppervlakte heeft van ongeveer 119 m². De gebruiksoppervlakte is de maat die wordt gebruikt in de BAG-registratie, de landelijke registratie van de Nederlandse overheid.
Eikenbosch 23 heeft als functie: kantoor. Deze gebruiksfunctie(s) zijn vastgelegd in de BAG-registratie en geven aan waarvoor het adres officieel mag worden gebruikt.
Eikenbosch 23 is gelegen op kadastraal perceel BKL04A3372. Deze kadastrale aanduiding is uniek en wordt gebruikt door het Kadaster om eigendomsrechten en andere zakelijke rechten vast te leggen. Het perceel maakt onderdeel uit van de kadastrale gemeente Berkel.
Het perceel waarop Eikenbosch 23 staat heeft een oppervlakte van 250 m². Dit is een middelgroot perceel. De perceeloppervlakte wordt geregistreerd door het Kadaster. Gedetailleerde informatie over de maten van dit perceel kunt u vinden in het rapport Kadastrale kaart met maatvoering van Eikenbosch 23.
De eigenaar van Eikenbosch 23 is op te vragen op deze pagina.
De informatie over dit adres is afkomstig uit officiële overheidsregistraties, voornamelijk de Basisregistratie Adressen en Gebouwen (BAG) en de Basisregistratie Kadaster (BRK). Deze gegevens worden beheerd door respectievelijk gemeenten en het Kadaster, en worden regelmatig bijgewerkt. Energielabelgegevens komen uit de database van de Rijksdienst voor Ondernemend Nederland (RVO).
