
Westakkers 41 is gelegen in de plaats Berlicum, de gemeente Sint-Michielsgestel en de provincie Noord-Brabant. De oppervlakte bedraagt 506 m², waarmee het adres groter dan gemiddeld is. De grootte van het perceel waarop het adres ligt is 3853 m². In vergelijking met de andere adressen in de straat is de oppervlakte van dit object relatief groot. Het grootste verblijfsobject heeft een oppervlakte van 931 m², de oppervlakte van het kleinste object bedraagt 9 m². In het jaar 1989 is het pand waarin Westakkers 41 ligt gebouwd. Dat is relatief recent: de meeste gebouwen in Nederland zijn gebouwd in de periode 1965-1984. Veel andere gebouwen in de straat zijn ouder dan dit pand. Het oudste pand komt uit het jaar 1878 en het nieuwste uit 2021. Het verblijfsobject heeft de volgende gebruiksdoelen: 'bijeenkomstfunctie'.
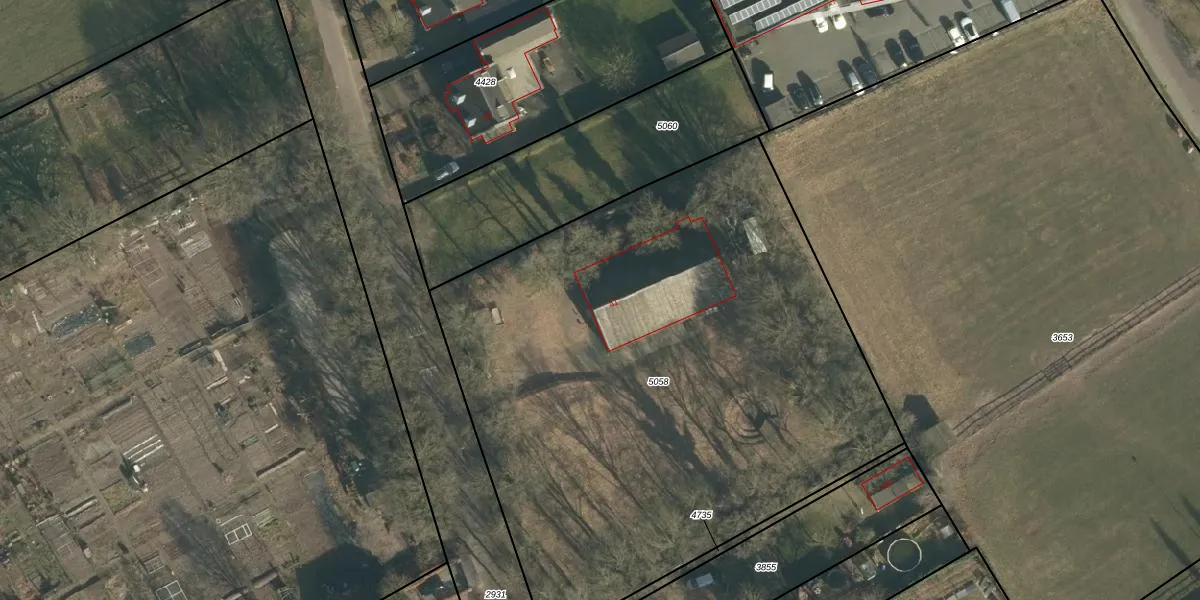
Het perceel waarop het adres ligt is BLC00-H-5058. De afkorting 'BLC00' staat voor kadastrale gemeente Berlicum. De gemiddelde perceeloppervlakte in de kadastrale gemeente Berlicum is 3816,38 m². Dit perceel is met zijn 3853 m² dus groter dan gemiddeld. De grootste perceeloppervlakte in de kadastrale gemeente is 38,3 ha. De kleinste oppervlakte bedraagt 0 m². Er zijn geen andere adressen aanwezig op het perceel. De laatste wijziging in het de Basisregistratie Kadaster (BRK) was op 30-08-2023.
Er is geen energielabel geregistreerd voor het adres. Het hoogste energielabel in de straat is A++; het laagste is G. Het gemiddelde energielabel is er B. Het adres Westakkers 41 heeft als status: 'verblijfsobject in gebruik'. Het pand waarin dit adres ligt heeft als status: 'pand in gebruik'.
Westakkers 41 is een adres gelegen in de gemeente Sint-Michielsgestel, provincie Noord-Brabant. Dit adres is geregistreerd in de Basisregistratie Adressen en Gebouwen (BAG) met als unieke identificatie 0845010000000493.
Het pand op Westakkers 41 is gebouwd in 1989, wat betekent dat het 37 jaar oud is. Dit is een pand van middelbare leeftijd. Het pand is van gemiddelde leeftijd en zal waarschijnlijk verouderde elementen bevatten.
De woning op Westakkers 41 heeft een gebruiksoppervlakte van 506 m². Dit is ruim vergeleken met de gemiddelde Nederlandse woning, die een oppervlakte heeft van ongeveer 119 m². De gebruiksoppervlakte is de maat die wordt gebruikt in de BAG-registratie, de landelijke registratie van de Nederlandse overheid.
Westakkers 41 heeft als functie: bijeenkomsten. Deze gebruiksfunctie(s) zijn vastgelegd in de BAG-registratie en geven aan waarvoor het adres officieel mag worden gebruikt.
Westakkers 41 is gelegen op kadastraal perceel BLC00H5058. Deze kadastrale aanduiding is uniek en wordt gebruikt door het Kadaster om eigendomsrechten en andere zakelijke rechten vast te leggen. Het perceel maakt onderdeel uit van de kadastrale gemeente Berlicum.
Het perceel waarop Westakkers 41 staat heeft een oppervlakte van 3853 m². Dit is een zeer groot perceel. De perceeloppervlakte wordt geregistreerd door het Kadaster. Gedetailleerde informatie over de maten van dit perceel kunt u vinden in het rapport Kadastrale kaart met maatvoering van Westakkers 41.
De eigenaar van Westakkers 41 is op te vragen op deze pagina.
De informatie over dit adres is afkomstig uit officiële overheidsregistraties, voornamelijk de Basisregistratie Adressen en Gebouwen (BAG) en de Basisregistratie Kadaster (BRK). Deze gegevens worden beheerd door respectievelijk gemeenten en het Kadaster, en worden regelmatig bijgewerkt. Energielabelgegevens komen uit de database van de Rijksdienst voor Ondernemend Nederland (RVO).
