
Hoge Startwijk 3 is gelegen in de plaats Beugen, de gemeente Land van Cuijk en de provincie Noord-Brabant. De oppervlakte van het verblijfsobject is met 360 m² aan de grote kant. Het perceel heeft een oppervlakte van 2470 m². De oppervlakte van dit adres is groot vergeleken met de oppervlaktes van andere adressen in de straat. De kleinste oppervlakte bedraagt er 6 m², de grootste 536 m². Het gebouw waarin Hoge Startwijk 3 ligt komt uit het jaar 1779. Objecten die gebouwd zijn vóór 1965 classificeren we hier als oud. Gemiddeld zijn de gebouwen in de straat gebouwd in 1933. Dit is het oudste pand in de straat. Het meest recente komt uit het jaar 1999. De volgende gebruiksdoelen zijn geregistreerd voor dit adres: 'woonfunctie'.
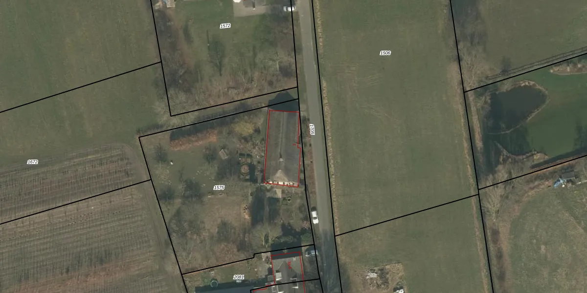
Het adres ligt op het perceel BMR00-G-1575, dat zich in de kadastrale gemeente Boxmeer bevindt. Het perceel is 2470 m² groot. Dat is kleiner dan de gemiddelde perceeloppervlakte in Boxmeer, dat op 4533,01 m² ligt. Het kleinste perceel in de kadastrale gemeente is 0 m² groot. De grootste perceeloppervlakte is 32,3 ha. Op het perceel bevinden zich geen andere adressen. De laatste wijziging in het de Basisregistratie Kadaster (BRK) was op 17-07-2008.
Het adres ligt in een gebouw van het type 'vrijstaande woning'. Bij de laatste meting is voor het adres het energielabel F geregistreerd. Het hoogste energielabel in de straat is A; het laagste is G. Het gemiddelde energielabel is er D. Het adres Hoge Startwijk 3 heeft als status: 'verblijfsobject in gebruik'. Het pand waarin dit adres ligt heeft als status: 'pand in gebruik'.
Hoge Startwijk 3 is een adres gelegen in de gemeente Land van Cuijk, provincie Noord-Brabant. Dit adres is geregistreerd in de Basisregistratie Adressen en Gebouwen (BAG) met als unieke identificatie 0756010000003457.
Het pand op Hoge Startwijk 3 is gebouwd in 1779, wat betekent dat het 247 jaar oud is. Dit is een ouder pand. Het pand heeft mogelijk aanzienlijke renovaties nodig om aan de huidige standaarden te voldoen.
De woning op Hoge Startwijk 3 heeft een gebruiksoppervlakte van 360 m². Dit is ruim vergeleken met de gemiddelde Nederlandse woning, die een oppervlakte heeft van ongeveer 119 m². De gebruiksoppervlakte is de maat die wordt gebruikt in de BAG-registratie, de landelijke registratie van de Nederlandse overheid.
Hoge Startwijk 3 heeft als functie: wonen. Deze gebruiksfunctie(s) zijn vastgelegd in de BAG-registratie en geven aan waarvoor het adres officieel mag worden gebruikt.
Hoge Startwijk 3 is gelegen op kadastraal perceel BMR00G1575. Deze kadastrale aanduiding is uniek en wordt gebruikt door het Kadaster om eigendomsrechten en andere zakelijke rechten vast te leggen. Het perceel maakt onderdeel uit van de kadastrale gemeente Boxmeer.
Het perceel waarop Hoge Startwijk 3 staat heeft een oppervlakte van 2470 m². Dit is een zeer groot perceel. De perceeloppervlakte wordt geregistreerd door het Kadaster. Gedetailleerde informatie over de maten van dit perceel kunt u vinden in het rapport Kadastrale kaart met maatvoering van Hoge Startwijk 3.
De eigenaar van Hoge Startwijk 3 is op te vragen op deze pagina.
De informatie over dit adres is afkomstig uit officiële overheidsregistraties, voornamelijk de Basisregistratie Adressen en Gebouwen (BAG) en de Basisregistratie Kadaster (BRK). Deze gegevens worden beheerd door respectievelijk gemeenten en het Kadaster, en worden regelmatig bijgewerkt. Energielabelgegevens komen uit de database van de Rijksdienst voor Ondernemend Nederland (RVO).
