
Molenveldweg 7 is gelegen in de plaats Beugen, de gemeente Land van Cuijk en de provincie Noord-Brabant. De oppervlakte bedraagt 197 m², waarmee het adres groter dan gemiddeld is. De grootte van het perceel waarop het adres ligt is 1975 m². Het adres is klein vergeleken met andere objecten in de straat. Het grootste object in de straat heeft een oppervlakte van 1047 m², het kleinste is 187 m² groot. De meeste Nederlandse gebouwen zijn gebouwd in de periode 1965-1984. Zo ook het pand waarin Molenveldweg 7 ligt, dat gebouwd is in 1970. Veel andere gebouwen in de straat zijn ouder dan dit pand. Het oudste pand komt uit het jaar 1880 en het nieuwste uit 2015. Het verblijfsobject heeft de volgende gebruiksdoelen: 'woonfunctie'.
Deze woning is voor het laatst verkocht op 1 december 2022. Meer informatie over deze transactie? Bestel het Woningtransactierapport om de verkoopprijs en andere informatie te zien.
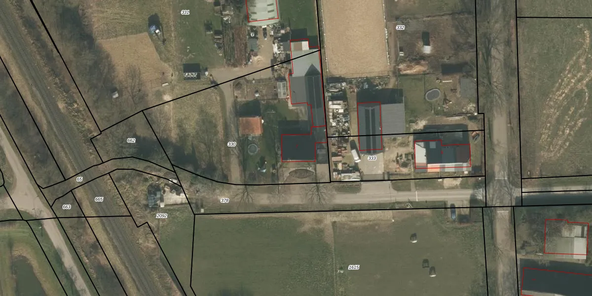
Het adres ligt op het perceel BMR00-R-330, dat zich in de kadastrale gemeente Boxmeer bevindt. Het perceel is kleiner dan gemiddeld in Boxmeer. Het perceel is 1975 m² groot, terwijl het gemiddelde ligt op 4530,55 m². De grootste perceeloppervlakte in de kadastrale gemeente is 32,3 ha. De kleinste oppervlakte bedraagt 0 m². Er zijn geen andere adressen aanwezig op het perceel. De laatste wijziging in het de Basisregistratie Kadaster (BRK) was op 14-03-2007.
Het adres ligt in een gebouw van het type 'vrijstaande woning'. Bij de laatste meting is voor het adres het energielabel D geregistreerd. Het hoogste energielabel in de straat is B; het laagste is G. Het gemiddelde energielabel is er D. Het adres Molenveldweg 7 heeft als status: 'verbouwing verblijfsobject'. Het pand waarin dit adres ligt heeft als status: 'verbouwing pand'.
Molenveldweg 7 is een adres gelegen in de gemeente Land van Cuijk, provincie Noord-Brabant. Dit adres is geregistreerd in de Basisregistratie Adressen en Gebouwen (BAG) met als unieke identificatie 0756010000007718.
Het pand op Molenveldweg 7 is gebouwd in 1970, wat betekent dat het 56 jaar oud is. Dit is een ouder pand. Het pand heeft mogelijk aanzienlijke renovaties nodig om aan de huidige standaarden te voldoen.
De woning op Molenveldweg 7 heeft een gebruiksoppervlakte van 197 m². Dit is ruim vergeleken met de gemiddelde Nederlandse woning, die een oppervlakte heeft van ongeveer 119 m². De gebruiksoppervlakte is de maat die wordt gebruikt in de BAG-registratie, de landelijke registratie van de Nederlandse overheid.
Molenveldweg 7 heeft als functie: wonen. Deze gebruiksfunctie(s) zijn vastgelegd in de BAG-registratie en geven aan waarvoor het adres officieel mag worden gebruikt.
Molenveldweg 7 is gelegen op kadastraal perceel BMR00R330. Deze kadastrale aanduiding is uniek en wordt gebruikt door het Kadaster om eigendomsrechten en andere zakelijke rechten vast te leggen. Het perceel maakt onderdeel uit van de kadastrale gemeente Boxmeer.
Het perceel waarop Molenveldweg 7 staat heeft een oppervlakte van 1975 m². Dit is een zeer groot perceel. De perceeloppervlakte wordt geregistreerd door het Kadaster. Gedetailleerde informatie over de maten van dit perceel kunt u vinden in het rapport Kadastrale kaart met maatvoering van Molenveldweg 7.
De eigenaar van Molenveldweg 7 is op te vragen op deze pagina.
De informatie over dit adres is afkomstig uit officiële overheidsregistraties, voornamelijk de Basisregistratie Adressen en Gebouwen (BAG) en de Basisregistratie Kadaster (BRK). Deze gegevens worden beheerd door respectievelijk gemeenten en het Kadaster, en worden regelmatig bijgewerkt. Energielabelgegevens komen uit de database van de Rijksdienst voor Ondernemend Nederland (RVO).
