
Bankenlaan 54-C is gelegen in de plaats Beverwijk, de gemeente Beverwijk en de provincie Noord-Holland. Het verblijfsobject is vergeleken met het Nederlandse gemiddelde aan de kleine kant: de oppervlakte is 86 m². Het perceel waarop het adres zich bevindt heeft een oppervlakte van 273 m². Het adres is klein vergeleken met andere objecten in de straat. Het grootste object in de straat heeft een oppervlakte van 573 m², het kleinste is 18 m² groot. Bankenlaan 54-C ligt in een gebouw uit het jaar 1991. Daarmee behoort het tot de groep panden van na 1984, die we als relatief nieuw bestempelen. Dit object is relatief nieuw in de straat. Het nieuwste gebouw komt er uit het jaar 2019 en het oudste uit het jaar 1900. Het verblijfsobject heeft de volgende gebruiksdoelen: 'industriefunctie'.
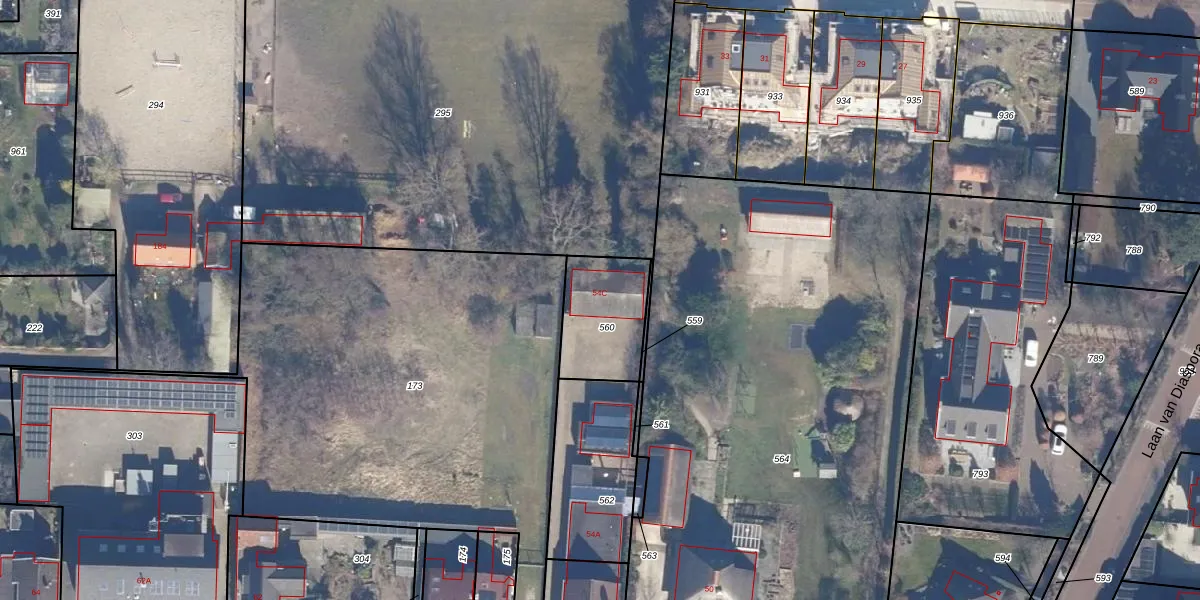
Het adres ligt op het perceel WIJ02-E-560, dat zich in de kadastrale gemeente Wijk aan Zee en Duin bevindt. Het perceel is kleiner dan gemiddeld in Wijk aan Zee en Duin. Het perceel is 273 m² groot, terwijl het gemiddelde ligt op 1106,08 m². Het grootste perceel in de kadastrale gemeente is 99,9 ha. Het kleinste perceel heeft een oppervlakte van 0 m². Op het perceel bevinden zich geen andere adressen. De laatste wijziging in het de Basisregistratie Kadaster (BRK) was op 25-09-2008.
Er is geen energielabel geregistreerd voor het adres. Het hoogste energielabel in de straat is A; het laagste is G. Het gemiddelde energielabel is er C. Het adres Bankenlaan 54-C heeft als status: 'verblijfsobject in gebruik'. Het pand waarin dit adres ligt heeft als status: 'pand in gebruik'.
Bankenlaan 54-C is een adres gelegen in de gemeente Beverwijk, provincie Noord-Holland. Dit adres is geregistreerd in de Basisregistratie Adressen en Gebouwen (BAG) met als unieke identificatie 0375010000001875.
Het pand op Bankenlaan 54-C is gebouwd in 1991, wat betekent dat het 35 jaar oud is. Dit is een pand van middelbare leeftijd. Het pand is van gemiddelde leeftijd en zal waarschijnlijk verouderde elementen bevatten.
De woning op Bankenlaan 54-C heeft een gebruiksoppervlakte van 86 m². Dit is onder het gemiddelde vergeleken met de gemiddelde Nederlandse woning, die een oppervlakte heeft van ongeveer 119 m². De gebruiksoppervlakte is de maat die wordt gebruikt in de BAG-registratie, de landelijke registratie van de Nederlandse overheid.
Bankenlaan 54-C heeft als functie: industrie. Deze gebruiksfunctie(s) zijn vastgelegd in de BAG-registratie en geven aan waarvoor het adres officieel mag worden gebruikt.
Bankenlaan 54-C is gelegen op kadastraal perceel WIJ02E560. Deze kadastrale aanduiding is uniek en wordt gebruikt door het Kadaster om eigendomsrechten en andere zakelijke rechten vast te leggen. Het perceel maakt onderdeel uit van de kadastrale gemeente Wijk aan Zee en Duin.
Het perceel waarop Bankenlaan 54-C staat heeft een oppervlakte van 273 m². Dit is een middelgroot perceel. De perceeloppervlakte wordt geregistreerd door het Kadaster. Gedetailleerde informatie over de maten van dit perceel kunt u vinden in het rapport Kadastrale kaart met maatvoering van Bankenlaan 54-C.
De eigenaar van Bankenlaan 54-C is op te vragen op deze pagina.
De informatie over dit adres is afkomstig uit officiële overheidsregistraties, voornamelijk de Basisregistratie Adressen en Gebouwen (BAG) en de Basisregistratie Kadaster (BRK). Deze gegevens worden beheerd door respectievelijk gemeenten en het Kadaster, en worden regelmatig bijgewerkt. Energielabelgegevens komen uit de database van de Rijksdienst voor Ondernemend Nederland (RVO).
