
Warande 41 is gelegen in de plaats Beverwijk, de gemeente Beverwijk en de provincie Noord-Holland. De oppervlakte van het object bedraagt 76 m². Dat is klein vergeleken met het Nederlandse gemiddelde. Het perceel waarop het adres ligt is 578 m² groot. De oppervlakte van het adres is klein vergeleken met de andere objecten in de straat. De oppervlakte van het kleinste object in de straat bedraagt 19 m², terwijl het grootste object 419 m² groot is. De gemiddelde bouwperiode van gebouwen in Nederland ligt tussen de jaren 1965-1984. Dat geldt ook voor het bouwjaar van Warande 41: het is gebouwd in het jaar 1967. Veel andere gebouwen in de straat zijn ouder dan dit pand. Het oudste pand komt uit het jaar 1948 en het nieuwste uit 1975. Voor het verblijfsobject gelden deze gebruiksdoelen: 'woonfunctie'.
Deze woning is voor het laatst verkocht op 1 februari 2021. Meer informatie over deze transactie? Bestel het Woningtransactierapport om de verkoopprijs en andere informatie te zien.
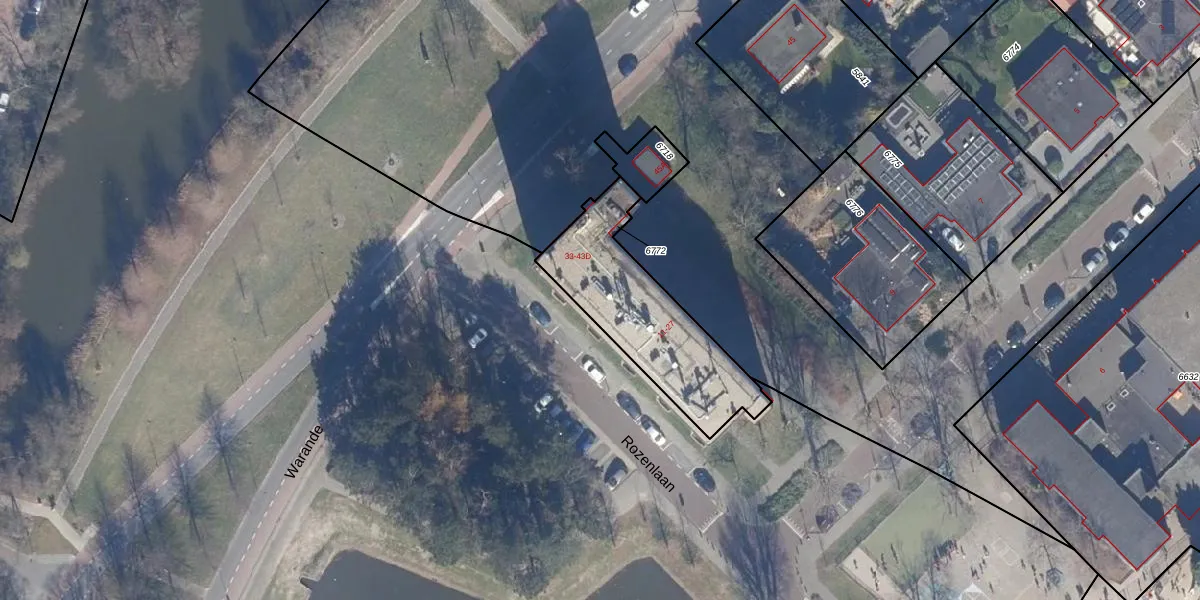
Het adres is gelegen op perceel 6772 in de sectie B en de kadastrale gemeente Wijk aan Zee en Duin. De kadastrale aanduiding is aldus WIJ02-B-6772. De gemiddelde perceelgrootte in Wijk aan Zee en Duin is 1106,28 m². Dit perceel is kleiner: de perceeloppervlakte bedraagt 578 m². Het kleinste perceel in de kadastrale gemeente is 0 m² groot. De grootste perceeloppervlakte is 99,9 ha. Op het perceel zijn 39 adressen aanwezig. De laatste wijziging in het de Basisregistratie Kadaster (BRK) was op 07-12-2004.
Het adres ligt in een gebouw van het type 'flatwoning (overig) met het subtype hoekmidden'. Bij de laatste meting is voor het adres het energielabel C geregistreerd. Het hoogste energielabel in de straat is A+; het laagste is G. Het gemiddelde energielabel is er D. Het adres Warande 41 heeft als status: 'verblijfsobject in gebruik'. Het pand waarin dit adres ligt heeft als status: 'pand in gebruik'.
Warande 41 is een adres gelegen in de gemeente Beverwijk, provincie Noord-Holland. Dit adres is geregistreerd in de Basisregistratie Adressen en Gebouwen (BAG) met als unieke identificatie 0375010000020172.
Het pand op Warande 41 is gebouwd in 1967, wat betekent dat het 59 jaar oud is. Dit is een ouder pand. Het pand heeft mogelijk aanzienlijke renovaties nodig om aan de huidige standaarden te voldoen.
De woning op Warande 41 heeft een gebruiksoppervlakte van 76 m². Dit is onder het gemiddelde vergeleken met de gemiddelde Nederlandse woning, die een oppervlakte heeft van ongeveer 119 m². De gebruiksoppervlakte is de maat die wordt gebruikt in de BAG-registratie, de landelijke registratie van de Nederlandse overheid.
Warande 41 heeft als functie: wonen. Deze gebruiksfunctie(s) zijn vastgelegd in de BAG-registratie en geven aan waarvoor het adres officieel mag worden gebruikt.
Warande 41 is gelegen op kadastraal perceel WIJ02B6772. Deze kadastrale aanduiding is uniek en wordt gebruikt door het Kadaster om eigendomsrechten en andere zakelijke rechten vast te leggen. Het perceel maakt onderdeel uit van de kadastrale gemeente Wijk aan Zee en Duin.
Het perceel waarop Warande 41 staat heeft een oppervlakte van 578 m². Dit is een groot perceel. De perceeloppervlakte wordt geregistreerd door het Kadaster. Gedetailleerde informatie over de maten van dit perceel kunt u vinden in het rapport Kadastrale kaart met maatvoering van Warande 41.
De eigenaar van Warande 41 is op te vragen op deze pagina.
De informatie over dit adres is afkomstig uit officiële overheidsregistraties, voornamelijk de Basisregistratie Adressen en Gebouwen (BAG) en de Basisregistratie Kadaster (BRK). Deze gegevens worden beheerd door respectievelijk gemeenten en het Kadaster, en worden regelmatig bijgewerkt. Energielabelgegevens komen uit de database van de Rijksdienst voor Ondernemend Nederland (RVO).
