
Biezenmortelsestraat 15 is een adres in Biezenmortel, dat zich bevindt binnen de gemeentegrenzen van Biezenmortel en de grenzen van de provincie Noord-Brabant. Het object heeft een oppervlakte van 187 m², wat relatief groot is. Het perceel waarop het adres ligt is 2038 m² groot. Het adres is klein vergeleken met andere objecten in de straat. Het grootste object in de straat heeft een oppervlakte van 2381 m², het kleinste is 4 m² groot. Het gebouw waarin Biezenmortelsestraat 15 ligt komt uit het jaar 1935. Objecten die gebouwd zijn vóór 1965 classificeren we hier als oud. Het bouwjaar is oud vergeleken met dat van de andere panden in de straat. Het oudste bouwjaar is er 1750 en de nieuwste is 2025. De volgende gebruiksdoelen zijn geregistreerd voor dit adres: 'woonfunctie'.
Deze woning is voor het laatst verkocht op 1 november 2007. Meer informatie over deze transactie? Bestel het Woningtransactierapport om de verkoopprijs en andere informatie te zien.
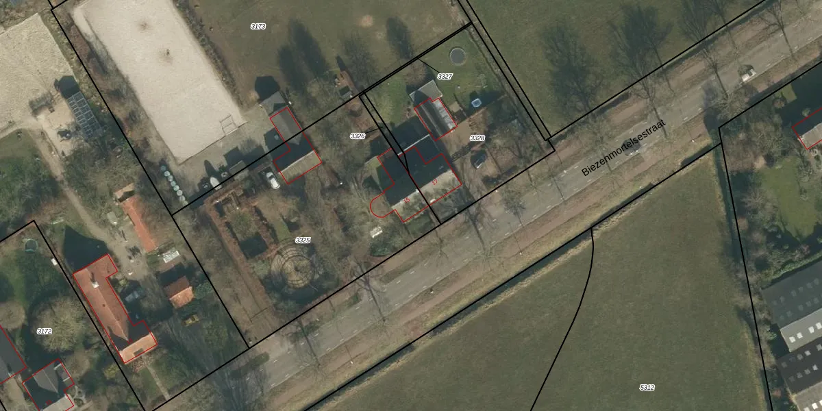
Het adres ligt op het perceel UDH00-B-3325, dat zich in de kadastrale gemeente Udenhout bevindt. Het perceel is 2038 m² groot. Dat is kleiner dan de gemiddelde perceeloppervlakte in Udenhout, dat op 4175,59 m² ligt. Het kleinste perceel in de kadastrale gemeente is 1 m² groot. De grootste perceeloppervlakte is 38,7 ha. Dit is het enige adres dat aanwezig is op het perceel. De huidige grenzen van het perceel zijn digitaal in de Basisregistratie Kadaster (BRK) geregistreerd op 05-01-2021.
Er is geen energielabel geregistreerd voor het adres. Het hoogste energielabel in de straat is A++++; het laagste is G. Het gemiddelde energielabel is er B. Het adres Biezenmortelsestraat 15 heeft als status: 'verblijfsobject in gebruik'. Het pand waarin dit adres ligt heeft als status: 'pand in gebruik'.
Biezenmortelsestraat 15 is een adres gelegen in de gemeente Tilburg, provincie Noord-Brabant. Dit adres is geregistreerd in de Basisregistratie Adressen en Gebouwen (BAG) met als unieke identificatie 0788010000000380.
Het pand op Biezenmortelsestraat 15 is gebouwd in 1935, wat betekent dat het 91 jaar oud is. Dit is een ouder pand. Het pand heeft mogelijk aanzienlijke renovaties nodig om aan de huidige standaarden te voldoen.
De woning op Biezenmortelsestraat 15 heeft een gebruiksoppervlakte van 187 m². Dit is ruim vergeleken met de gemiddelde Nederlandse woning, die een oppervlakte heeft van ongeveer 119 m². De gebruiksoppervlakte is de maat die wordt gebruikt in de BAG-registratie, de landelijke registratie van de Nederlandse overheid.
Biezenmortelsestraat 15 heeft als functie: wonen. Deze gebruiksfunctie(s) zijn vastgelegd in de BAG-registratie en geven aan waarvoor het adres officieel mag worden gebruikt.
Biezenmortelsestraat 15 is gelegen op kadastraal perceel UDH00B3325. Deze kadastrale aanduiding is uniek en wordt gebruikt door het Kadaster om eigendomsrechten en andere zakelijke rechten vast te leggen. Het perceel maakt onderdeel uit van de kadastrale gemeente Udenhout.
Het perceel waarop Biezenmortelsestraat 15 staat heeft een oppervlakte van 2038 m². Dit is een zeer groot perceel. De perceeloppervlakte wordt geregistreerd door het Kadaster. Gedetailleerde informatie over de maten van dit perceel kunt u vinden in het rapport Kadastrale kaart met maatvoering van Biezenmortelsestraat 15.
De eigenaar van Biezenmortelsestraat 15 is op te vragen op deze pagina.
De informatie over dit adres is afkomstig uit officiële overheidsregistraties, voornamelijk de Basisregistratie Adressen en Gebouwen (BAG) en de Basisregistratie Kadaster (BRK). Deze gegevens worden beheerd door respectievelijk gemeenten en het Kadaster, en worden regelmatig bijgewerkt. Energielabelgegevens komen uit de database van de Rijksdienst voor Ondernemend Nederland (RVO).
