
Het adres Oude Bosschebaan 20 bevindt zich in de plaats Biezenmortel, in de gemeente Biezenmortel en de provincie Noord-Brabant. De oppervlakte bedraagt 172 m², waarmee het adres groter dan gemiddeld is. De grootte van het perceel waarop het adres ligt is 2785 m². Het adres is klein vergeleken met andere objecten in de straat. Het grootste object in de straat heeft een oppervlakte van 3002 m², het kleinste is 17 m² groot. De gemiddelde bouwperiode van gebouwen in Nederland ligt tussen de jaren 1965-1984. Dat geldt ook voor het bouwjaar van Oude Bosschebaan 20: het is gebouwd in het jaar 1970. Veel andere gebouwen in de straat zijn ouder dan dit pand. Het oudste pand komt uit het jaar 1900 en het nieuwste uit 2022. Het verblijfsobject heeft de volgende gebruiksdoelen: 'woonfunctie'.
Deze woning is voor het laatst verkocht op 1 augustus 2002. Meer informatie over deze transactie? Bestel het Woningtransactierapport om de verkoopprijs en andere informatie te zien.
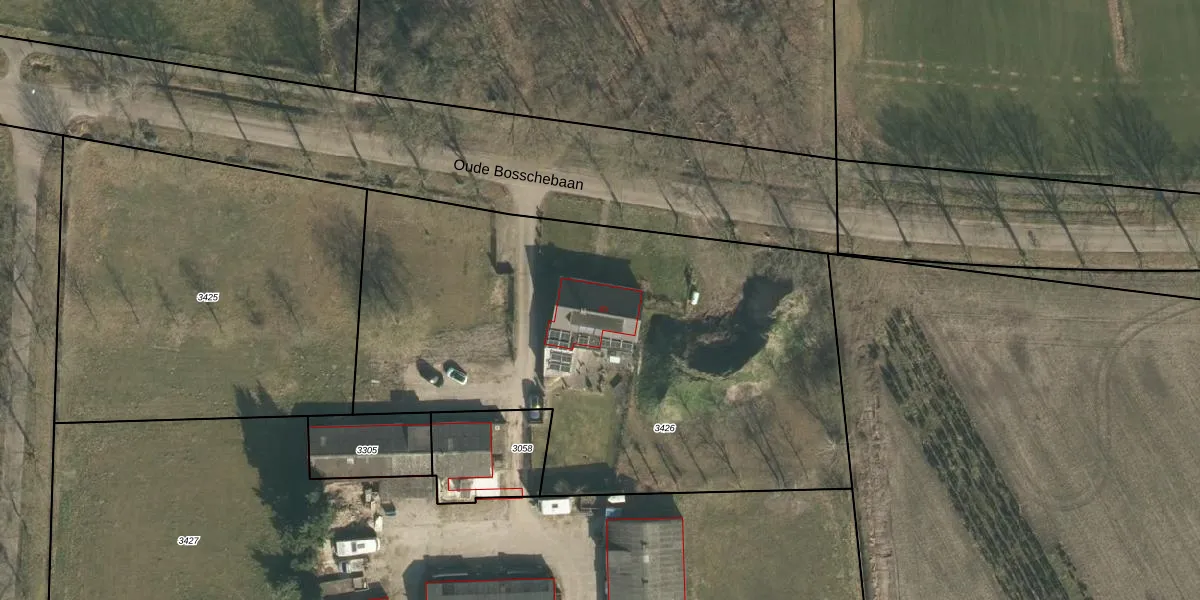
Het adres ligt op het perceel UDH00-B-3426, dat zich in de kadastrale gemeente Udenhout bevindt. Het perceel is kleiner dan gemiddeld in Udenhout. Het perceel is 2785 m² groot, terwijl het gemiddelde ligt op 4175,59 m². Het kleinste perceel in de kadastrale gemeente is 1 m² groot. De grootste perceeloppervlakte is 38,7 ha. Er zijn geen andere adressen aanwezig op het perceel. In de Basisregistratie Kadaster (BRK) werden de grenzen van het perceel geregistreerd op 27-02-2024.
Er is geen energielabel geregistreerd voor het adres. Het hoogste energielabel in de straat is A++++; het laagste is G. Het gemiddelde energielabel is er A. Het adres Oude Bosschebaan 20 heeft als status: 'verblijfsobject in gebruik'. Het pand waarin dit adres ligt heeft als status: 'pand in gebruik'.
Oude Bosschebaan 20 is een adres gelegen in de gemeente Tilburg, provincie Noord-Brabant. Dit adres is geregistreerd in de Basisregistratie Adressen en Gebouwen (BAG) met als unieke identificatie 0788010000000063.
Het pand op Oude Bosschebaan 20 is gebouwd in 1970, wat betekent dat het 56 jaar oud is. Dit is een ouder pand. Het pand heeft mogelijk aanzienlijke renovaties nodig om aan de huidige standaarden te voldoen.
De woning op Oude Bosschebaan 20 heeft een gebruiksoppervlakte van 172 m². Dit is ruim vergeleken met de gemiddelde Nederlandse woning, die een oppervlakte heeft van ongeveer 119 m². De gebruiksoppervlakte is de maat die wordt gebruikt in de BAG-registratie, de landelijke registratie van de Nederlandse overheid.
Oude Bosschebaan 20 heeft als functie: wonen. Deze gebruiksfunctie(s) zijn vastgelegd in de BAG-registratie en geven aan waarvoor het adres officieel mag worden gebruikt.
Oude Bosschebaan 20 is gelegen op kadastraal perceel UDH00B3426. Deze kadastrale aanduiding is uniek en wordt gebruikt door het Kadaster om eigendomsrechten en andere zakelijke rechten vast te leggen. Het perceel maakt onderdeel uit van de kadastrale gemeente Udenhout.
Het perceel waarop Oude Bosschebaan 20 staat heeft een oppervlakte van 2785 m². Dit is een zeer groot perceel. De perceeloppervlakte wordt geregistreerd door het Kadaster. Gedetailleerde informatie over de maten van dit perceel kunt u vinden in het rapport Kadastrale kaart met maatvoering van Oude Bosschebaan 20.
De eigenaar van Oude Bosschebaan 20 is op te vragen op deze pagina.
De informatie over dit adres is afkomstig uit officiële overheidsregistraties, voornamelijk de Basisregistratie Adressen en Gebouwen (BAG) en de Basisregistratie Kadaster (BRK). Deze gegevens worden beheerd door respectievelijk gemeenten en het Kadaster, en worden regelmatig bijgewerkt. Energielabelgegevens komen uit de database van de Rijksdienst voor Ondernemend Nederland (RVO).
