
De Platanen 17 is gelegen in de plaats Boekel, de gemeente Boekel en de provincie Noord-Brabant. Het object heeft een oppervlakte van 187 m², wat relatief groot is. Het perceel waarop het adres ligt is 419 m² groot. De oppervlakte van dit adres is groot vergeleken met de oppervlaktes van andere adressen in de straat. De kleinste oppervlakte bedraagt er 81 m², de grootste 200 m². De gemiddelde bouwperiode van gebouwen in Nederland ligt tussen de jaren 1965-1984. Dat geldt ook voor het bouwjaar van De Platanen 17: het is gebouwd in het jaar 1980. Vergeleken met de andere panden in de straat is dit gebouw nieuw. Het vroegste bouwjaar is er 1979 en het laatste is 1983. De volgende gebruiksdoelen zijn geregistreerd voor dit adres: 'woonfunctie'.
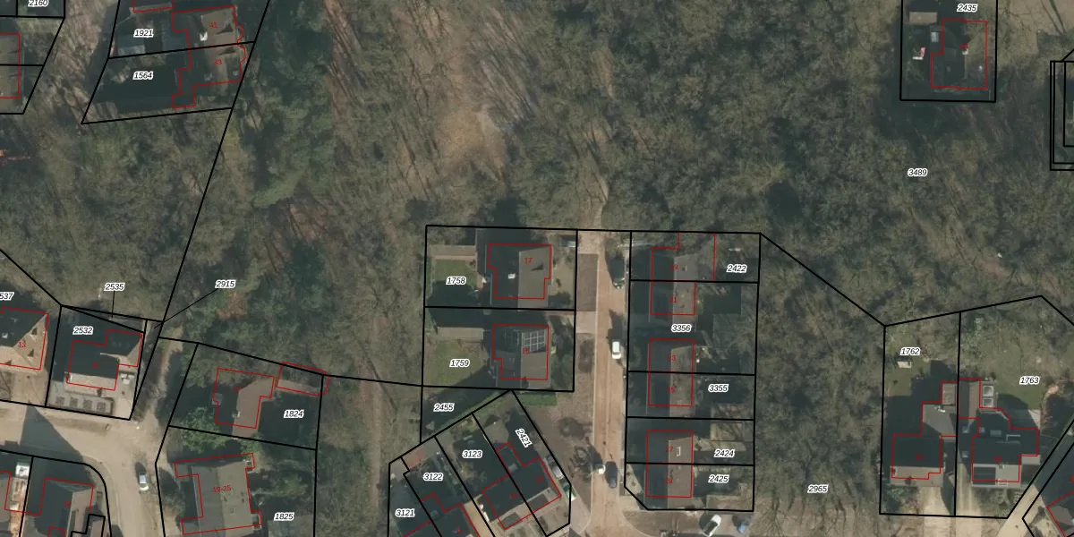
Het adres ligt op het perceel BKL05-I-1758, dat zich in de kadastrale gemeente Boekel bevindt. Het perceel is 419 m² groot. Dat is kleiner dan de gemiddelde perceeloppervlakte in Boekel, dat op 4719,73 m² ligt. Het kleinste perceel in de kadastrale gemeente is 0 m² groot. De grootste perceeloppervlakte is 18,0 ha. Dit is het enige adres dat aanwezig is op het perceel. De laatste wijziging in het de Basisregistratie Kadaster (BRK) was op 10-10-2011.
Er is geen energielabel geregistreerd voor het adres. Het hoogste energielabel in de straat is A; het laagste is G. Het gemiddelde energielabel is er B. Het adres De Platanen 17 heeft als status: 'verblijfsobject in gebruik'. Het pand waarin dit adres ligt heeft als status: 'pand in gebruik'.
De Platanen 17 is een adres gelegen in de gemeente Boekel, provincie Noord-Brabant. Dit adres is geregistreerd in de Basisregistratie Adressen en Gebouwen (BAG) met als unieke identificatie 0755010000001865.
Het pand op De Platanen 17 is gebouwd in 1980, wat betekent dat het 46 jaar oud is. Dit is een pand van middelbare leeftijd. Het pand is van gemiddelde leeftijd en zal waarschijnlijk verouderde elementen bevatten.
De woning op De Platanen 17 heeft een gebruiksoppervlakte van 187 m². Dit is ruim vergeleken met de gemiddelde Nederlandse woning, die een oppervlakte heeft van ongeveer 119 m². De gebruiksoppervlakte is de maat die wordt gebruikt in de BAG-registratie, de landelijke registratie van de Nederlandse overheid.
De Platanen 17 heeft als functie: wonen. Deze gebruiksfunctie(s) zijn vastgelegd in de BAG-registratie en geven aan waarvoor het adres officieel mag worden gebruikt.
De Platanen 17 is gelegen op kadastraal perceel BKL05I1758. Deze kadastrale aanduiding is uniek en wordt gebruikt door het Kadaster om eigendomsrechten en andere zakelijke rechten vast te leggen. Het perceel maakt onderdeel uit van de kadastrale gemeente Boekel.
Het perceel waarop De Platanen 17 staat heeft een oppervlakte van 419 m². Dit is een groot perceel. De perceeloppervlakte wordt geregistreerd door het Kadaster. Gedetailleerde informatie over de maten van dit perceel kunt u vinden in het rapport Kadastrale kaart met maatvoering van De Platanen 17.
De eigenaar van De Platanen 17 is op te vragen op deze pagina.
De informatie over dit adres is afkomstig uit officiële overheidsregistraties, voornamelijk de Basisregistratie Adressen en Gebouwen (BAG) en de Basisregistratie Kadaster (BRK). Deze gegevens worden beheerd door respectievelijk gemeenten en het Kadaster, en worden regelmatig bijgewerkt. Energielabelgegevens komen uit de database van de Rijksdienst voor Ondernemend Nederland (RVO).
