
Langestraat 20-f is een adres in Braamt, dat zich bevindt binnen de gemeentegrenzen van Braamt en de grenzen van de provincie Gelderland. De oppervlakte van het adres is 103 m². Dat is vergelijkbaar met het gemiddelde Nederlandse oppervlakte van 119 m². De oppervlakte van het perceel waarin het adres ligt is 1129 m². Het adres is klein vergeleken met andere objecten in de straat. Het grootste object in de straat heeft een oppervlakte van 1283 m², het kleinste is 11 m² groot. Het gebouw waarin Langestraat 20-f ligt komt uit het jaar 1949. Objecten die gebouwd zijn vóór 1965 classificeren we hier als oud. Het nieuwste gebouw in de straat komt uit 2025 en het oudste uit 1917. Dit object is relatief oud. Het verblijfsobject heeft de volgende gebruiksdoelen: 'woonfunctie'.
Deze woning is voor het laatst verkocht op 1 september 2025. Meer informatie over deze transactie? Bestel het Woningtransactierapport om de verkoopprijs en andere informatie te zien.
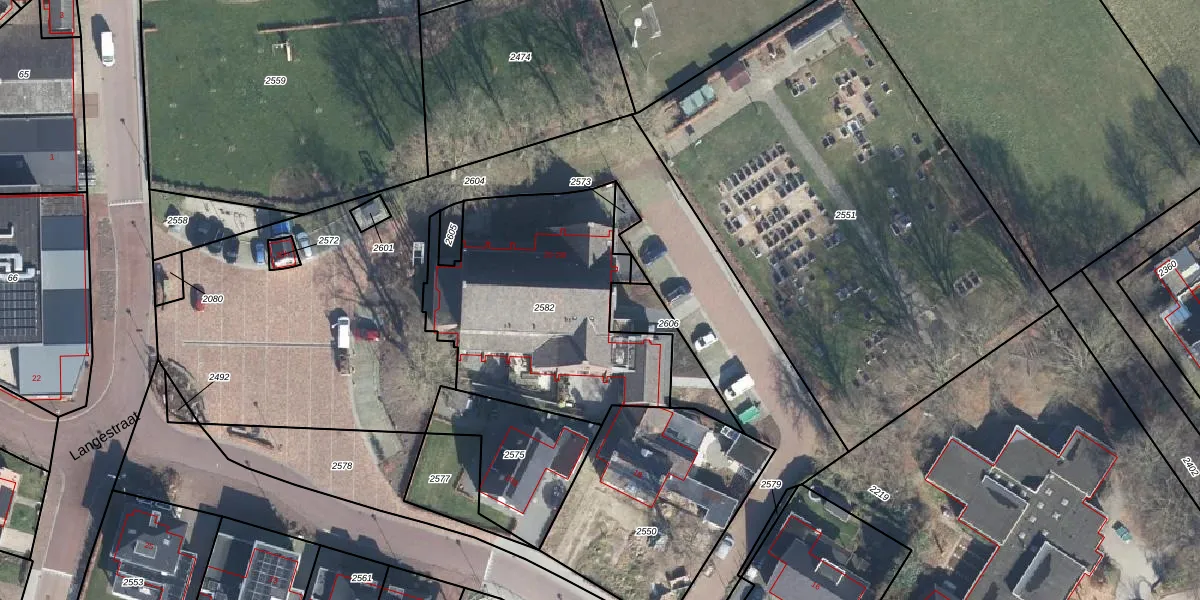
Het adres ligt op het perceel ZDM02-H-2582, dat zich in de kadastrale gemeente Zeddam bevindt. Het perceel is kleiner dan gemiddeld in Zeddam. Het perceel is 1129 m² groot, terwijl het gemiddelde ligt op 5994,64 m². Het kleinste perceel in de kadastrale gemeente is 1 m² groot. De grootste perceeloppervlakte is 1,39 km². Op het perceel liggen in totaal 7 adressen. De huidige grenzen van het perceel zijn digitaal in de Basisregistratie Kadaster (BRK) geregistreerd op 30-05-2024.
Het adres ligt in een gebouw van het type 'appartement met het subtype tussendak'. Bij de laatste meting is voor het adres het energielabel A++ geregistreerd. Het hoogste energielabel in de straat is A++++; het laagste is G. Het gemiddelde energielabel is er C. Het adres Langestraat 20-f heeft als status: 'verblijfsobject in gebruik'. Het pand waarin dit adres ligt heeft als status: 'pand in gebruik'.
Langestraat 20-f is een adres gelegen in de gemeente Montferland, provincie Gelderland. Dit adres is geregistreerd in de Basisregistratie Adressen en Gebouwen (BAG) met als unieke identificatie 1955010000045173.
Het pand op Langestraat 20-f is gebouwd in 1949, wat betekent dat het 77 jaar oud is. Dit is een ouder pand. Het pand heeft mogelijk aanzienlijke renovaties nodig om aan de huidige standaarden te voldoen.
De woning op Langestraat 20-f heeft een gebruiksoppervlakte van 103 m². Dit is onder het gemiddelde vergeleken met de gemiddelde Nederlandse woning, die een oppervlakte heeft van ongeveer 119 m². De gebruiksoppervlakte is de maat die wordt gebruikt in de BAG-registratie, de landelijke registratie van de Nederlandse overheid.
Langestraat 20-f heeft als functie: wonen. Deze gebruiksfunctie(s) zijn vastgelegd in de BAG-registratie en geven aan waarvoor het adres officieel mag worden gebruikt.
Langestraat 20-f is gelegen op kadastraal perceel ZDM02H2582. Deze kadastrale aanduiding is uniek en wordt gebruikt door het Kadaster om eigendomsrechten en andere zakelijke rechten vast te leggen. Het perceel maakt onderdeel uit van de kadastrale gemeente Zeddam.
Het perceel waarop Langestraat 20-f staat heeft een oppervlakte van 1129 m². Dit is een zeer groot perceel. De perceeloppervlakte wordt geregistreerd door het Kadaster. Gedetailleerde informatie over de maten van dit perceel kunt u vinden in het rapport Kadastrale kaart met maatvoering van Langestraat 20-f.
De eigenaar van Langestraat 20-f is op te vragen op deze pagina.
De informatie over dit adres is afkomstig uit officiële overheidsregistraties, voornamelijk de Basisregistratie Adressen en Gebouwen (BAG) en de Basisregistratie Kadaster (BRK). Deze gegevens worden beheerd door respectievelijk gemeenten en het Kadaster, en worden regelmatig bijgewerkt. Energielabelgegevens komen uit de database van de Rijksdienst voor Ondernemend Nederland (RVO).
