
Het adres Scharenburgstraat 1 bevindt zich in de plaats Breda, in de gemeente Breda en de provincie Noord-Brabant. De oppervlakte van het verblijfsobject is met 155 m² aan de grote kant. Het perceel heeft een oppervlakte van 304 m². De oppervlakte van dit adres is groot vergeleken met de oppervlaktes van andere adressen in de straat. De kleinste oppervlakte bedraagt er 11 m², de grootste 171 m². Het gebouw waarin Scharenburgstraat 1 ligt komt uit het jaar 1933. Objecten die gebouwd zijn vóór 1965 classificeren we hier als oud. Gemiddeld zijn de gebouwen in de straat gebouwd in 1953. Dit is het oudste pand in de straat. Het meest recente komt uit het jaar 1964. De volgende gebruiksdoelen zijn geregistreerd voor dit adres: 'woonfunctie'.
Deze woning is voor het laatst verkocht op 1 oktober 2001. Meer informatie over deze transactie? Bestel het Woningtransactierapport om de verkoopprijs en andere informatie te zien.
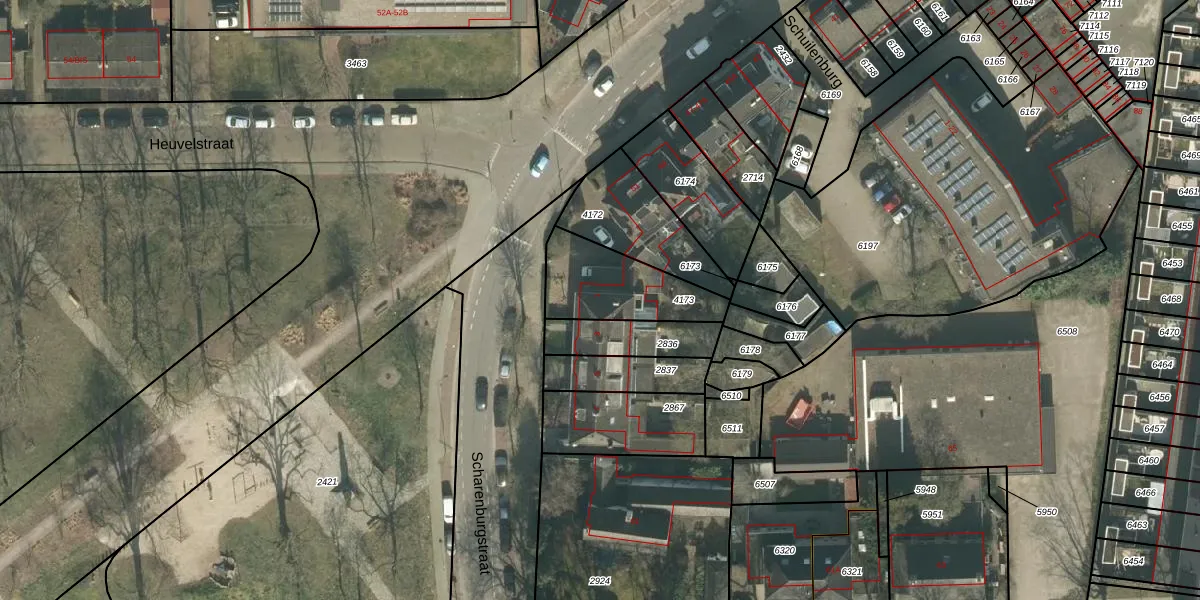
Het adres ligt op het perceel PCH00-I-4173, dat zich in de kadastrale gemeente Princenhage bevindt. Het perceel is 304 m² groot. Dat is kleiner dan de gemiddelde perceeloppervlakte in Princenhage, dat op 2923,11 m² ligt. Het kleinste perceel in de kadastrale gemeente is 0 m² groot. De grootste perceeloppervlakte is 31,9 ha. Op het perceel bevinden zich geen andere adressen. In de Basisregistratie Kadaster (BRK) werden de grenzen van het perceel geregistreerd op 05-07-2012.
Er is geen energielabel geregistreerd voor het adres. Het hoogste energielabel in de straat is A++; het laagste is G. Het gemiddelde energielabel is er B. Het adres Scharenburgstraat 1 heeft als status: 'verblijfsobject in gebruik'. Het pand waarin dit adres ligt heeft als status: 'pand in gebruik'.
Scharenburgstraat 1 is een adres gelegen in de gemeente Breda, provincie Noord-Brabant. Dit adres is geregistreerd in de Basisregistratie Adressen en Gebouwen (BAG) met als unieke identificatie 0758010000053414.
Het pand op Scharenburgstraat 1 is gebouwd in 1933, wat betekent dat het 93 jaar oud is. Dit is een ouder pand. Het pand heeft mogelijk aanzienlijke renovaties nodig om aan de huidige standaarden te voldoen.
De woning op Scharenburgstraat 1 heeft een gebruiksoppervlakte van 155 m². Dit is ruim vergeleken met de gemiddelde Nederlandse woning, die een oppervlakte heeft van ongeveer 119 m². De gebruiksoppervlakte is de maat die wordt gebruikt in de BAG-registratie, de landelijke registratie van de Nederlandse overheid.
Scharenburgstraat 1 heeft als functie: wonen. Deze gebruiksfunctie(s) zijn vastgelegd in de BAG-registratie en geven aan waarvoor het adres officieel mag worden gebruikt.
Scharenburgstraat 1 is gelegen op kadastraal perceel PCH00I4173. Deze kadastrale aanduiding is uniek en wordt gebruikt door het Kadaster om eigendomsrechten en andere zakelijke rechten vast te leggen. Het perceel maakt onderdeel uit van de kadastrale gemeente Princenhage.
Het perceel waarop Scharenburgstraat 1 staat heeft een oppervlakte van 304 m². Dit is een groot perceel. De perceeloppervlakte wordt geregistreerd door het Kadaster. Gedetailleerde informatie over de maten van dit perceel kunt u vinden in het rapport Kadastrale kaart met maatvoering van Scharenburgstraat 1.
De eigenaar van Scharenburgstraat 1 is op te vragen op deze pagina.
De informatie over dit adres is afkomstig uit officiële overheidsregistraties, voornamelijk de Basisregistratie Adressen en Gebouwen (BAG) en de Basisregistratie Kadaster (BRK). Deze gegevens worden beheerd door respectievelijk gemeenten en het Kadaster, en worden regelmatig bijgewerkt. Energielabelgegevens komen uit de database van de Rijksdienst voor Ondernemend Nederland (RVO).
