
Het adres Schippersdonk 108 bevindt zich in de plaats Breda, in de gemeente Breda en de provincie Noord-Brabant. Het perceel waarop het adres gelegen is heeft een oppervlakte van 1257 m². Het verblijfsobject is met 91 m² relatief klein. In vergelijking met de andere adressen in de straat is de oppervlakte van dit object relatief groot. Het grootste verblijfsobject heeft een oppervlakte van 151 m², de oppervlakte van het kleinste object bedraagt 52 m². In Nederland komt het grootste deel van de gebouwen uit de periode 1965-1984. Ook het bouwjaar van Schippersdonk 108 is afkomstig uit die periode: het betreft namelijk een pand uit 1981. Het gemiddelde bouwjaar in de straat is 1981 en dat van het nieuwste object 1994. In de straat is dit het oudste pand. Het verblijfsobject heeft de volgende gebruiksdoelen: 'woonfunctie'.
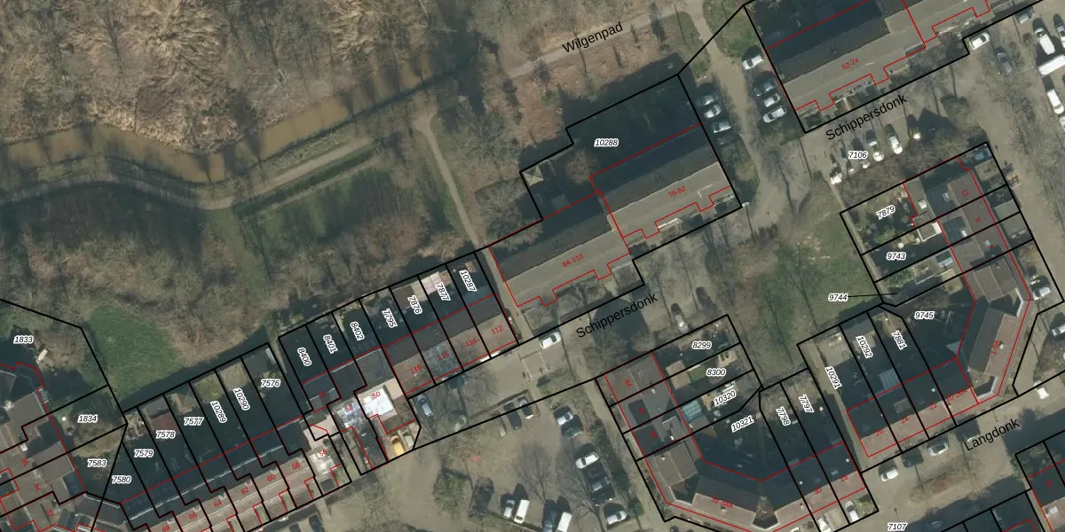
Het perceel waarop het adres ligt is BDA00-H-10288. De afkorting 'BDA00' staat voor kadastrale gemeente Breda. De gemiddelde perceeloppervlakte in de kadastrale gemeente Breda is 1059,71 m². Dit perceel is met zijn 1257 m² dus groter dan gemiddeld. Het grootste perceel in de kadastrale gemeente is 44,1 ha. Het kleinste perceel heeft een oppervlakte van 0 m². Er zijn 18 adressen aanwezig op het perceel. In de Basisregistratie Kadaster (BRK) werden de grenzen van het perceel geregistreerd op 03-11-2006.
Er is geen energielabel geregistreerd voor het adres. Het hoogste energielabel in de straat is A; het laagste is G. Het gemiddelde energielabel is er C. Het adres Schippersdonk 108 heeft als status: 'verblijfsobject in gebruik'. Het pand waarin dit adres ligt heeft als status: 'pand in gebruik'.
Schippersdonk 108 is een adres gelegen in de gemeente Breda, provincie Noord-Brabant. Dit adres is geregistreerd in de Basisregistratie Adressen en Gebouwen (BAG) met als unieke identificatie 0758010000054832.
Het pand op Schippersdonk 108 is gebouwd in 1981, wat betekent dat het 45 jaar oud is. Dit is een pand van middelbare leeftijd. Het pand is van gemiddelde leeftijd en zal waarschijnlijk verouderde elementen bevatten.
De woning op Schippersdonk 108 heeft een gebruiksoppervlakte van 91 m². Dit is onder het gemiddelde vergeleken met de gemiddelde Nederlandse woning, die een oppervlakte heeft van ongeveer 119 m². De gebruiksoppervlakte is de maat die wordt gebruikt in de BAG-registratie, de landelijke registratie van de Nederlandse overheid.
Schippersdonk 108 heeft als functie: wonen. Deze gebruiksfunctie(s) zijn vastgelegd in de BAG-registratie en geven aan waarvoor het adres officieel mag worden gebruikt.
Schippersdonk 108 is gelegen op kadastraal perceel BDA00H10288. Deze kadastrale aanduiding is uniek en wordt gebruikt door het Kadaster om eigendomsrechten en andere zakelijke rechten vast te leggen. Het perceel maakt onderdeel uit van de kadastrale gemeente Breda.
Het perceel waarop Schippersdonk 108 staat heeft een oppervlakte van 1257 m². Dit is een zeer groot perceel. De perceeloppervlakte wordt geregistreerd door het Kadaster. Gedetailleerde informatie over de maten van dit perceel kunt u vinden in het rapport Kadastrale kaart met maatvoering van Schippersdonk 108.
De eigenaar van Schippersdonk 108 is op te vragen op deze pagina.
De informatie over dit adres is afkomstig uit officiële overheidsregistraties, voornamelijk de Basisregistratie Adressen en Gebouwen (BAG) en de Basisregistratie Kadaster (BRK). Deze gegevens worden beheerd door respectievelijk gemeenten en het Kadaster, en worden regelmatig bijgewerkt. Energielabelgegevens komen uit de database van de Rijksdienst voor Ondernemend Nederland (RVO).
