
Het adres Schippersdonk 98 bevindt zich in de plaats Breda, in de gemeente Breda en de provincie Noord-Brabant. De oppervlakte van het object bedraagt 91 m². Dat is klein vergeleken met het Nederlandse gemiddelde. Het perceel waarop het adres ligt is 1257 m² groot. In vergelijking met de andere adressen in de straat is de oppervlakte van dit object relatief groot. Het grootste verblijfsobject heeft een oppervlakte van 151 m², de oppervlakte van het kleinste object bedraagt 52 m². De gemiddelde bouwperiode van gebouwen in Nederland ligt tussen de jaren 1965-1984. Dat geldt ook voor het bouwjaar van Schippersdonk 98: het is gebouwd in het jaar 1981. Dit is het oudste object in de straat. Het nieuwste pand komt uit 1994 en het gemiddelde bouwjaar in de straat is 1981. Voor het verblijfsobject gelden deze gebruiksdoelen: 'woonfunctie'.
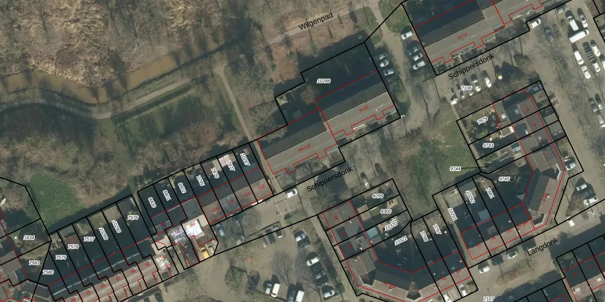
Het perceel waarop het adres ligt is BDA00-H-10288. De afkorting 'BDA00' staat voor kadastrale gemeente Breda. Het perceel is met 1257 m² relatief groot. Het gemiddelde ligt in de kadastrale gemeente Breda op 1059,8 m². Het kleinste perceel in de kadastrale gemeente is 0 m² groot. De grootste perceeloppervlakte is 44,1 ha. Op het perceel zijn 18 adressen aanwezig. In de Basisregistratie Kadaster (BRK) werden de grenzen van het perceel geregistreerd op 03-11-2006.
Het adres ligt in een gebouw van het type 'appartement met het subtype tussendak'. Bij de laatste meting is voor het adres het energielabel B geregistreerd. Het hoogste energielabel in de straat is A; het laagste is G. Het gemiddelde energielabel is er C. Het adres Schippersdonk 98 heeft als status: 'verblijfsobject in gebruik'. Het pand waarin dit adres ligt heeft als status: 'pand in gebruik'.
Schippersdonk 98 is een adres gelegen in de gemeente Breda, provincie Noord-Brabant. Dit adres is geregistreerd in de Basisregistratie Adressen en Gebouwen (BAG) met als unieke identificatie 0758010000054826.
Het pand op Schippersdonk 98 is gebouwd in 1981, wat betekent dat het 45 jaar oud is. Dit is een pand van middelbare leeftijd. Het pand is van gemiddelde leeftijd en zal waarschijnlijk verouderde elementen bevatten.
De woning op Schippersdonk 98 heeft een gebruiksoppervlakte van 91 m². Dit is onder het gemiddelde vergeleken met de gemiddelde Nederlandse woning, die een oppervlakte heeft van ongeveer 119 m². De gebruiksoppervlakte is de maat die wordt gebruikt in de BAG-registratie, de landelijke registratie van de Nederlandse overheid.
Schippersdonk 98 heeft als functie: wonen. Deze gebruiksfunctie(s) zijn vastgelegd in de BAG-registratie en geven aan waarvoor het adres officieel mag worden gebruikt.
Schippersdonk 98 is gelegen op kadastraal perceel BDA00H10288. Deze kadastrale aanduiding is uniek en wordt gebruikt door het Kadaster om eigendomsrechten en andere zakelijke rechten vast te leggen. Het perceel maakt onderdeel uit van de kadastrale gemeente Breda.
Het perceel waarop Schippersdonk 98 staat heeft een oppervlakte van 1257 m². Dit is een zeer groot perceel. De perceeloppervlakte wordt geregistreerd door het Kadaster. Gedetailleerde informatie over de maten van dit perceel kunt u vinden in het rapport Kadastrale kaart met maatvoering van Schippersdonk 98.
De eigenaar van Schippersdonk 98 is op te vragen op deze pagina.
De informatie over dit adres is afkomstig uit officiële overheidsregistraties, voornamelijk de Basisregistratie Adressen en Gebouwen (BAG) en de Basisregistratie Kadaster (BRK). Deze gegevens worden beheerd door respectievelijk gemeenten en het Kadaster, en worden regelmatig bijgewerkt. Energielabelgegevens komen uit de database van de Rijksdienst voor Ondernemend Nederland (RVO).
