
St. Ignatiusstraat 147 is gelegen in de plaats Breda, de gemeente Breda en de provincie Noord-Brabant. Het verblijfsobject is vergeleken met het Nederlandse gemiddelde aan de kleine kant: de oppervlakte is 64 m². Het perceel waarop het adres zich bevindt heeft een oppervlakte van 1340 m². Het adres is klein vergeleken met andere objecten in de straat. Het grootste object in de straat heeft een oppervlakte van 1206 m², het kleinste is 16 m² groot. St. Ignatiusstraat 147 ligt in een gebouw uit het jaar 2011. Daarmee behoort het tot de groep panden van na 1984, die we als relatief nieuw bestempelen. Dit object is relatief nieuw in de straat. Het nieuwste gebouw komt er uit het jaar 2012 en het oudste uit het jaar 1900. De volgende gebruiksdoelen zijn geregistreerd voor dit adres: 'woonfunctie'.
Deze woning is voor het laatst verkocht op 1 december 2022. Meer informatie over deze transactie? Bestel het Woningtransactierapport om de verkoopprijs en andere informatie te zien.
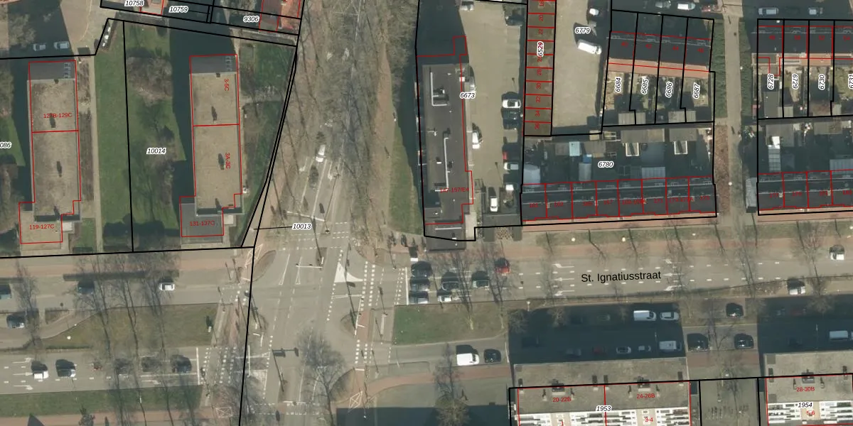
Het adres ligt op het perceel GNK02-A-6673, dat zich in de kadastrale gemeente Ginneken bevindt. De oppervlakte van het perceel is 1340 m². Dat is groter dan gemiddeld in Ginneken, waar de gemiddelde perceeloppervlakte op 1250,42 m² ligt. Het grootste perceel in de kadastrale gemeente is 41,2 ha. Het kleinste perceel heeft een oppervlakte van 0 m². Op het perceel liggen in totaal 26 adressen. De laatste wijziging in het de Basisregistratie Kadaster (BRK) was op 29-12-2010.
Het adres ligt in een gebouw van het type 'flatwoning (overig) met het subtype hoekvloer'. Bij de laatste meting is voor het adres het energielabel A geregistreerd. Het hoogste energielabel in de straat is A+; het laagste is G. Het gemiddelde energielabel is er C. Het adres St. Ignatiusstraat 147 heeft als status: 'verblijfsobject in gebruik'. Het pand waarin dit adres ligt heeft als status: 'pand in gebruik'.
St. Ignatiusstraat 147 is een adres gelegen in de gemeente Breda, provincie Noord-Brabant. Dit adres is geregistreerd in de Basisregistratie Adressen en Gebouwen (BAG) met als unieke identificatie 0758010000093376.
Het pand op St. Ignatiusstraat 147 is gebouwd in 2011, wat betekent dat het 15 jaar oud is. Dit is een relatief modern pand. Ten opzichte van de nationale woningvoorraad is het pand relatief modern, maar er kunnen enkele verouderde elementen zijn die aandacht nodig hebben.
De woning op St. Ignatiusstraat 147 heeft een gebruiksoppervlakte van 64 m². Dit is relatief klein vergeleken met de gemiddelde Nederlandse woning, die een oppervlakte heeft van ongeveer 119 m². De gebruiksoppervlakte is de maat die wordt gebruikt in de BAG-registratie, de landelijke registratie van de Nederlandse overheid.
St. Ignatiusstraat 147 heeft als functie: wonen. Deze gebruiksfunctie(s) zijn vastgelegd in de BAG-registratie en geven aan waarvoor het adres officieel mag worden gebruikt.
St. Ignatiusstraat 147 is gelegen op kadastraal perceel GNK02A6673. Deze kadastrale aanduiding is uniek en wordt gebruikt door het Kadaster om eigendomsrechten en andere zakelijke rechten vast te leggen. Het perceel maakt onderdeel uit van de kadastrale gemeente Ginneken.
Het perceel waarop St. Ignatiusstraat 147 staat heeft een oppervlakte van 1340 m². Dit is een zeer groot perceel. De perceeloppervlakte wordt geregistreerd door het Kadaster. Gedetailleerde informatie over de maten van dit perceel kunt u vinden in het rapport Kadastrale kaart met maatvoering van St. Ignatiusstraat 147.
De eigenaar van St. Ignatiusstraat 147 is op te vragen op deze pagina.
De informatie over dit adres is afkomstig uit officiële overheidsregistraties, voornamelijk de Basisregistratie Adressen en Gebouwen (BAG) en de Basisregistratie Kadaster (BRK). Deze gegevens worden beheerd door respectievelijk gemeenten en het Kadaster, en worden regelmatig bijgewerkt. Energielabelgegevens komen uit de database van de Rijksdienst voor Ondernemend Nederland (RVO).
