
Teteringsedijk 120-B24 is gelegen in de plaats Breda, de gemeente Breda en de provincie Noord-Brabant. Het verblijfsobject is vergeleken met het Nederlandse gemiddelde aan de kleine kant: de oppervlakte is 22 m². Het perceel waarop het adres zich bevindt heeft een oppervlakte van 1009 m². Het object is klein ten opzichte van de andere adressen in de straat. Het grootste verblijfsobject is 1,3 ha groot en het kleinste is 16 m². Teteringsedijk 120-B24 ligt in een gebouw uit het jaar 2020. Daarmee behoort het tot de groep panden van na 1984, die we als relatief nieuw bestempelen. Dit object is relatief nieuw in de straat. Het nieuwste gebouw komt er uit het jaar 2024 en het oudste uit het jaar 1840. De volgende gebruiksdoelen zijn geregistreerd voor dit adres: 'woonfunctie'.
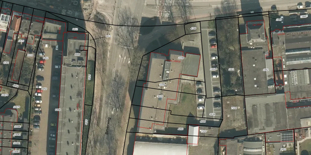
Het perceel waarop het adres ligt is GNK02-A-2208. De afkorting 'GNK02' staat voor kadastrale gemeente Ginneken. Het perceel is 1009 m² groot. Dat is kleiner dan de gemiddelde perceeloppervlakte in Ginneken, dat op 1250,42 m² ligt. Het grootste perceel in de kadastrale gemeente is 41,2 ha. Het kleinste perceel heeft een oppervlakte van 0 m². Op het perceel liggen in totaal 47 adressen. De laatste wijziging in het de Basisregistratie Kadaster (BRK) was op 14-04-2010.
Het adres ligt in een gebouw van het type 'flatwoning (overig) met het subtype tussenmidden'. Bij de laatste meting is voor het adres het energielabel A geregistreerd. Het hoogste energielabel in de straat is A+++; het laagste is G. Het gemiddelde energielabel is er B. Het adres Teteringsedijk 120-B24 heeft als status: 'verblijfsobject in gebruik'. Het pand waarin dit adres ligt heeft als status: 'pand in gebruik'.
Teteringsedijk 120-B24 is een adres gelegen in de gemeente Breda, provincie Noord-Brabant. Dit adres is geregistreerd in de Basisregistratie Adressen en Gebouwen (BAG) met als unieke identificatie 0758010000103367.
Het pand op Teteringsedijk 120-B24 is gebouwd in 2020, wat betekent dat het 6 jaar oud is. Dit is een vrij nieuw pand. Het pand is dus waarschijnlijk goed geïsoleerd, geluidsdicht en voldoet aan de huidige bouwstandaarden. Op korte termijn zijn er waarschijnlijk weinig onderhoudskosten.
De woning op Teteringsedijk 120-B24 heeft een gebruiksoppervlakte van 22 m². Dit is relatief klein vergeleken met de gemiddelde Nederlandse woning, die een oppervlakte heeft van ongeveer 119 m². De gebruiksoppervlakte is de maat die wordt gebruikt in de BAG-registratie, de landelijke registratie van de Nederlandse overheid.
Teteringsedijk 120-B24 heeft als functie: wonen. Deze gebruiksfunctie(s) zijn vastgelegd in de BAG-registratie en geven aan waarvoor het adres officieel mag worden gebruikt.
Teteringsedijk 120-B24 is gelegen op kadastraal perceel GNK02A2208. Deze kadastrale aanduiding is uniek en wordt gebruikt door het Kadaster om eigendomsrechten en andere zakelijke rechten vast te leggen. Het perceel maakt onderdeel uit van de kadastrale gemeente Ginneken.
Het perceel waarop Teteringsedijk 120-B24 staat heeft een oppervlakte van 1009 m². Dit is een zeer groot perceel. De perceeloppervlakte wordt geregistreerd door het Kadaster. Gedetailleerde informatie over de maten van dit perceel kunt u vinden in het rapport Kadastrale kaart met maatvoering van Teteringsedijk 120-B24.
De eigenaar van Teteringsedijk 120-B24 is op te vragen op deze pagina.
De informatie over dit adres is afkomstig uit officiële overheidsregistraties, voornamelijk de Basisregistratie Adressen en Gebouwen (BAG) en de Basisregistratie Kadaster (BRK). Deze gegevens worden beheerd door respectievelijk gemeenten en het Kadaster, en worden regelmatig bijgewerkt. Energielabelgegevens komen uit de database van de Rijksdienst voor Ondernemend Nederland (RVO).
