
Teteringsedijk 120-D12 is gelegen in de plaats Breda, de gemeente Breda en de provincie Noord-Brabant. Het perceel waarop het adres gelegen is heeft een oppervlakte van 615 m². Het verblijfsobject is met 21 m² relatief klein. Het object is klein ten opzichte van de andere adressen in de straat. Het grootste verblijfsobject is 1,3 ha groot en het kleinste is 16 m². Teteringsedijk 120-D12 ligt in een gebouw uit het jaar 2020. Daarmee behoort het tot de groep panden van na 1984, die we als relatief nieuw bestempelen. Vergeleken met de andere panden in de straat is dit gebouw nieuw. Het vroegste bouwjaar is er 1840 en het laatste is 2024. De volgende gebruiksdoelen zijn geregistreerd voor dit adres: 'woonfunctie'.
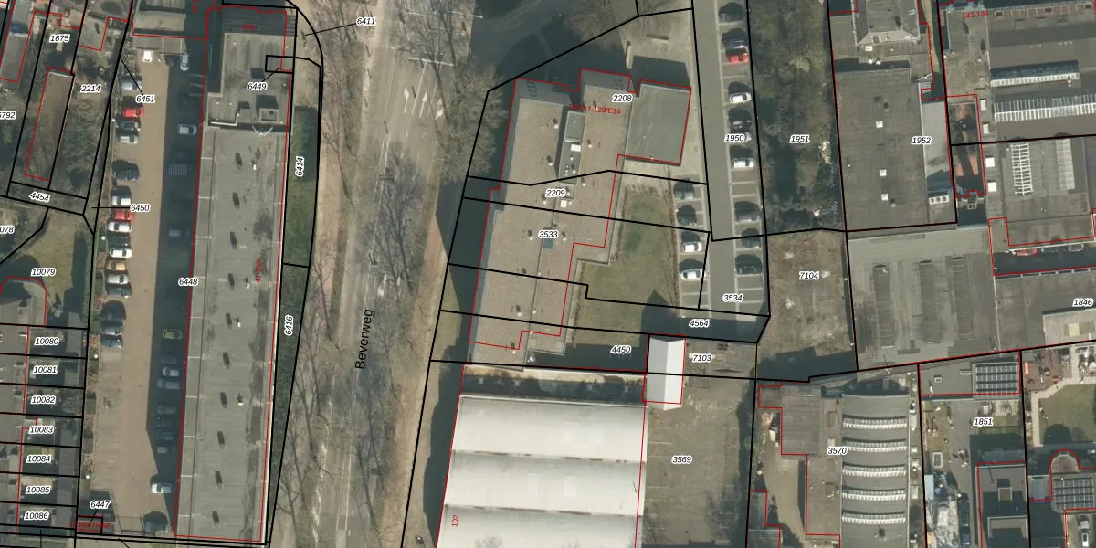
Het perceel waarop het adres ligt is GNK02-A-3533. De afkorting 'GNK02' staat voor kadastrale gemeente Ginneken. Het perceel is 615 m² groot. Dat is kleiner dan de gemiddelde perceeloppervlakte in Ginneken, dat op 1250,42 m² ligt. Het grootste perceel in de kadastrale gemeente is 41,2 ha. Het kleinste perceel heeft een oppervlakte van 0 m². Er zijn 35 adressen aanwezig op het perceel. De laatste wijziging in het de Basisregistratie Kadaster (BRK) was op 14-04-2010.
Het adres ligt in een gebouw van het type 'flatwoning (overig) met het subtype tussendak'. Bij de laatste meting is voor het adres het energielabel A geregistreerd. Het hoogste energielabel in de straat is A+++; het laagste is G. Het gemiddelde energielabel is er B. Het adres Teteringsedijk 120-D12 heeft als status: 'verblijfsobject in gebruik'. Het pand waarin dit adres ligt heeft als status: 'pand in gebruik'.
Teteringsedijk 120-D12 is een adres gelegen in de gemeente Breda, provincie Noord-Brabant. Dit adres is geregistreerd in de Basisregistratie Adressen en Gebouwen (BAG) met als unieke identificatie 0758010000103409.
Het pand op Teteringsedijk 120-D12 is gebouwd in 2020, wat betekent dat het 6 jaar oud is. Dit is een vrij nieuw pand. Het pand is dus waarschijnlijk goed geïsoleerd, geluidsdicht en voldoet aan de huidige bouwstandaarden. Op korte termijn zijn er waarschijnlijk weinig onderhoudskosten.
De woning op Teteringsedijk 120-D12 heeft een gebruiksoppervlakte van 21 m². Dit is relatief klein vergeleken met de gemiddelde Nederlandse woning, die een oppervlakte heeft van ongeveer 119 m². De gebruiksoppervlakte is de maat die wordt gebruikt in de BAG-registratie, de landelijke registratie van de Nederlandse overheid.
Teteringsedijk 120-D12 heeft als functie: wonen. Deze gebruiksfunctie(s) zijn vastgelegd in de BAG-registratie en geven aan waarvoor het adres officieel mag worden gebruikt.
Teteringsedijk 120-D12 is gelegen op kadastraal perceel GNK02A3533. Deze kadastrale aanduiding is uniek en wordt gebruikt door het Kadaster om eigendomsrechten en andere zakelijke rechten vast te leggen. Het perceel maakt onderdeel uit van de kadastrale gemeente Ginneken.
Het perceel waarop Teteringsedijk 120-D12 staat heeft een oppervlakte van 615 m². Dit is een groot perceel. De perceeloppervlakte wordt geregistreerd door het Kadaster. Gedetailleerde informatie over de maten van dit perceel kunt u vinden in het rapport Kadastrale kaart met maatvoering van Teteringsedijk 120-D12.
De eigenaar van Teteringsedijk 120-D12 is op te vragen op deze pagina.
De informatie over dit adres is afkomstig uit officiële overheidsregistraties, voornamelijk de Basisregistratie Adressen en Gebouwen (BAG) en de Basisregistratie Kadaster (BRK). Deze gegevens worden beheerd door respectievelijk gemeenten en het Kadaster, en worden regelmatig bijgewerkt. Energielabelgegevens komen uit de database van de Rijksdienst voor Ondernemend Nederland (RVO).
