
Teteringsedijk 313 is gelegen in de plaats Breda, de gemeente Breda en de provincie Noord-Brabant. Het verblijfsobject is vergeleken met het Nederlandse gemiddelde aan de kleine kant: de oppervlakte is 94 m². Het perceel waarop het adres zich bevindt heeft een oppervlakte van 1375 m². De oppervlakte van het adres is klein vergeleken met de andere objecten in de straat. De oppervlakte van het kleinste object in de straat bedraagt 16 m², terwijl het grootste object 1,3 ha groot is. Teteringsedijk 313 ligt in een gebouw uit het jaar 1997. Daarmee behoort het tot de groep panden van na 1984, die we als relatief nieuw bestempelen. Dit object is relatief nieuw in de straat. Het nieuwste gebouw komt er uit het jaar 2024 en het oudste uit het jaar 1840. Voor het verblijfsobject gelden deze gebruiksdoelen: 'woonfunctie'.
Deze woning is voor het laatst verkocht op 1 juli 2010. Meer informatie over deze transactie? Bestel het Woningtransactierapport om de verkoopprijs en andere informatie te zien.
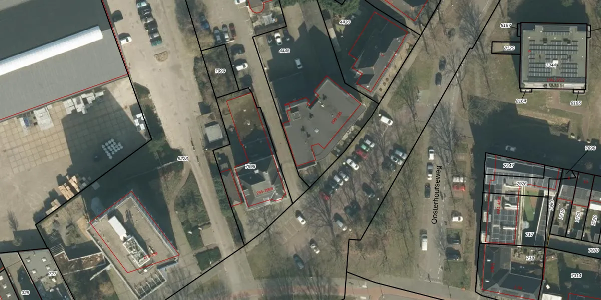
Het adres is gelegen op perceel 4448 in de sectie G en de kadastrale gemeente Breda. De kadastrale aanduiding is aldus BDA00-G-4448. Het perceel is met 1375 m² relatief groot. Het gemiddelde ligt in de kadastrale gemeente Breda op 1059,71 m². Het grootste perceel in de kadastrale gemeente is 44,1 ha. Het kleinste perceel heeft een oppervlakte van 0 m². Op het perceel liggen in totaal 19 adressen. De laatste wijziging in het de Basisregistratie Kadaster (BRK) was op 20-10-2006.
Er is geen energielabel geregistreerd voor het adres. Het hoogste energielabel in de straat is A+++; het laagste is G. Het gemiddelde energielabel is er B. Het adres Teteringsedijk 313 heeft als status: 'verblijfsobject in gebruik'. Het pand waarin dit adres ligt heeft als status: 'pand in gebruik'.
Teteringsedijk 313 is een adres gelegen in de gemeente Breda, provincie Noord-Brabant. Dit adres is geregistreerd in de Basisregistratie Adressen en Gebouwen (BAG) met als unieke identificatie 0758010000085714.
Het pand op Teteringsedijk 313 is gebouwd in 1997, wat betekent dat het 29 jaar oud is. Dit is een pand van middelbare leeftijd. Het pand is van gemiddelde leeftijd en zal waarschijnlijk verouderde elementen bevatten.
De woning op Teteringsedijk 313 heeft een gebruiksoppervlakte van 94 m². Dit is onder het gemiddelde vergeleken met de gemiddelde Nederlandse woning, die een oppervlakte heeft van ongeveer 119 m². De gebruiksoppervlakte is de maat die wordt gebruikt in de BAG-registratie, de landelijke registratie van de Nederlandse overheid.
Teteringsedijk 313 heeft als functie: wonen. Deze gebruiksfunctie(s) zijn vastgelegd in de BAG-registratie en geven aan waarvoor het adres officieel mag worden gebruikt.
Teteringsedijk 313 is gelegen op kadastraal perceel BDA00G4448. Deze kadastrale aanduiding is uniek en wordt gebruikt door het Kadaster om eigendomsrechten en andere zakelijke rechten vast te leggen. Het perceel maakt onderdeel uit van de kadastrale gemeente Breda.
Het perceel waarop Teteringsedijk 313 staat heeft een oppervlakte van 1375 m². Dit is een zeer groot perceel. De perceeloppervlakte wordt geregistreerd door het Kadaster. Gedetailleerde informatie over de maten van dit perceel kunt u vinden in het rapport Kadastrale kaart met maatvoering van Teteringsedijk 313.
De eigenaar van Teteringsedijk 313 is op te vragen op deze pagina.
De informatie over dit adres is afkomstig uit officiële overheidsregistraties, voornamelijk de Basisregistratie Adressen en Gebouwen (BAG) en de Basisregistratie Kadaster (BRK). Deze gegevens worden beheerd door respectievelijk gemeenten en het Kadaster, en worden regelmatig bijgewerkt. Energielabelgegevens komen uit de database van de Rijksdienst voor Ondernemend Nederland (RVO).
