
Sepulchrestraat 162 is gelegen in de plaats Budel-Dorplein, de gemeente Cranendonck en de provincie Noord-Brabant. De oppervlakte van het verblijfsobject is met 237 m² aan de grote kant. Het perceel heeft een oppervlakte van 1035 m². In vergelijking met de andere adressen in de straat is de oppervlakte van dit object relatief groot. Het grootste verblijfsobject heeft een oppervlakte van 352 m², de oppervlakte van het kleinste object bedraagt 62 m². Het gebouw waarin Sepulchrestraat 162 ligt komt uit het jaar 1905. Objecten die gebouwd zijn vóór 1965 classificeren we hier als oud. Gemiddeld zijn de gebouwen in de straat gebouwd in 1921. Dit is het oudste pand in de straat. Het meest recente komt uit het jaar 1961. Voor het verblijfsobject gelden deze gebruiksdoelen: 'woonfunctie'.
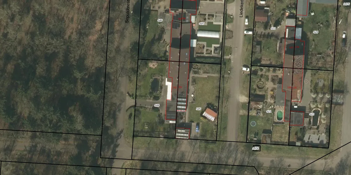
Het perceel waarop het adres ligt is BDL02-G-544. De afkorting 'BDL02' staat voor kadastrale gemeente Budel. De gemiddelde perceelgrootte in Budel is 4695,06 m². Dit perceel is kleiner: de perceeloppervlakte bedraagt 1035 m². Het kleinste perceel in de kadastrale gemeente is 0 m² groot. De grootste perceeloppervlakte is 1,97 km². Op het perceel bevinden zich geen andere adressen. De laatste wijziging in het de Basisregistratie Kadaster (BRK) was op 25-02-2005.
Er is geen energielabel geregistreerd voor het adres. Het hoogste energielabel in de straat is C; het laagste is G. Het gemiddelde energielabel is er D. Het adres Sepulchrestraat 162 heeft als status: 'verblijfsobject in gebruik'. Het pand waarin dit adres ligt heeft als status: 'pand in gebruik'.
Sepulchrestraat 162 is een adres gelegen in de gemeente Cranendonck, provincie Noord-Brabant. Dit adres is geregistreerd in de Basisregistratie Adressen en Gebouwen (BAG) met als unieke identificatie 1706010000017393.
Het pand op Sepulchrestraat 162 is gebouwd in 1905, wat betekent dat het 121 jaar oud is. Dit is een ouder pand. Het pand heeft mogelijk aanzienlijke renovaties nodig om aan de huidige standaarden te voldoen.
De woning op Sepulchrestraat 162 heeft een gebruiksoppervlakte van 237 m². Dit is ruim vergeleken met de gemiddelde Nederlandse woning, die een oppervlakte heeft van ongeveer 119 m². De gebruiksoppervlakte is de maat die wordt gebruikt in de BAG-registratie, de landelijke registratie van de Nederlandse overheid.
Sepulchrestraat 162 heeft als functie: wonen. Deze gebruiksfunctie(s) zijn vastgelegd in de BAG-registratie en geven aan waarvoor het adres officieel mag worden gebruikt.
Sepulchrestraat 162 is gelegen op kadastraal perceel BDL02G544. Deze kadastrale aanduiding is uniek en wordt gebruikt door het Kadaster om eigendomsrechten en andere zakelijke rechten vast te leggen. Het perceel maakt onderdeel uit van de kadastrale gemeente Budel.
Het perceel waarop Sepulchrestraat 162 staat heeft een oppervlakte van 1035 m². Dit is een zeer groot perceel. De perceeloppervlakte wordt geregistreerd door het Kadaster. Gedetailleerde informatie over de maten van dit perceel kunt u vinden in het rapport Kadastrale kaart met maatvoering van Sepulchrestraat 162.
De eigenaar van Sepulchrestraat 162 is op te vragen op deze pagina.
De informatie over dit adres is afkomstig uit officiële overheidsregistraties, voornamelijk de Basisregistratie Adressen en Gebouwen (BAG) en de Basisregistratie Kadaster (BRK). Deze gegevens worden beheerd door respectievelijk gemeenten en het Kadaster, en worden regelmatig bijgewerkt. Energielabelgegevens komen uit de database van de Rijksdienst voor Ondernemend Nederland (RVO).
