
Parallelweg 15 is een adres in Budel-Schoot, dat zich bevindt binnen de gemeentegrenzen van Budel-Schoot en de grenzen van de provincie Noord-Brabant. De oppervlakte bedraagt 189 m², waarmee het adres groter dan gemiddeld is. De grootte van het perceel waarop het adres ligt is 1152 m². Het object is klein ten opzichte van de andere adressen in de straat. Het grootste verblijfsobject is 1763 m² groot en het kleinste is 5 m². Het adres Parallelweg 15 ligt in een relatief oud pand uit het jaar 1926. Panden van vóór het jaar 1965 hebben we hier geclassificeerd als oud. In de straat komt het nieuwste gebouw uit het jaar 2025 en het oudste uit 1880. Het bouwjaar van dit object is relatief oud. Het verblijfsobject heeft de volgende gebruiksdoelen: 'woonfunctie'.
Deze woning is voor het laatst verkocht op 1 december 2021. Meer informatie over deze transactie? Bestel het Woningtransactierapport om de verkoopprijs en andere informatie te zien.
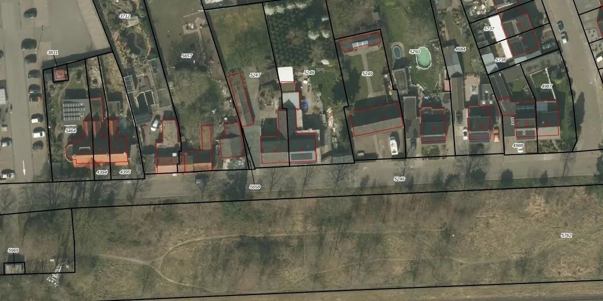
Het perceel waarop het adres ligt is BDL02-D-5248. De afkorting 'BDL02' staat voor kadastrale gemeente Budel. Het perceel is kleiner dan gemiddeld in Budel. Het perceel is 1152 m² groot, terwijl het gemiddelde ligt op 4698,32 m². De grootste perceeloppervlakte in de kadastrale gemeente is 1,97 km². De kleinste oppervlakte bedraagt 0 m². Er zijn geen andere adressen aanwezig op het perceel. De huidige grenzen van het perceel zijn digitaal in de Basisregistratie Kadaster (BRK) geregistreerd op 01-03-2005.
Het adres ligt in een gebouw van het type 'twee-onder-één-kap'. Bij de laatste meting is voor het adres het energielabel G geregistreerd. Het hoogste energielabel in de straat is A; het laagste is G. Het gemiddelde energielabel is er D. Het adres Parallelweg 15 heeft als status: 'verblijfsobject in gebruik'. Het pand waarin dit adres ligt heeft als status: 'pand in gebruik'.
Parallelweg 15 is een adres gelegen in de gemeente Cranendonck, provincie Noord-Brabant. Dit adres is geregistreerd in de Basisregistratie Adressen en Gebouwen (BAG) met als unieke identificatie 1706010000016295.
Het pand op Parallelweg 15 is gebouwd in 1926, wat betekent dat het 100 jaar oud is. Dit is een ouder pand. Het pand heeft mogelijk aanzienlijke renovaties nodig om aan de huidige standaarden te voldoen.
De woning op Parallelweg 15 heeft een gebruiksoppervlakte van 189 m². Dit is ruim vergeleken met de gemiddelde Nederlandse woning, die een oppervlakte heeft van ongeveer 119 m². De gebruiksoppervlakte is de maat die wordt gebruikt in de BAG-registratie, de landelijke registratie van de Nederlandse overheid.
Parallelweg 15 heeft als functie: wonen. Deze gebruiksfunctie(s) zijn vastgelegd in de BAG-registratie en geven aan waarvoor het adres officieel mag worden gebruikt.
Parallelweg 15 is gelegen op kadastraal perceel BDL02D5248. Deze kadastrale aanduiding is uniek en wordt gebruikt door het Kadaster om eigendomsrechten en andere zakelijke rechten vast te leggen. Het perceel maakt onderdeel uit van de kadastrale gemeente Budel.
Het perceel waarop Parallelweg 15 staat heeft een oppervlakte van 1152 m². Dit is een zeer groot perceel. De perceeloppervlakte wordt geregistreerd door het Kadaster. Gedetailleerde informatie over de maten van dit perceel kunt u vinden in het rapport Kadastrale kaart met maatvoering van Parallelweg 15.
De eigenaar van Parallelweg 15 is op te vragen op deze pagina.
De informatie over dit adres is afkomstig uit officiële overheidsregistraties, voornamelijk de Basisregistratie Adressen en Gebouwen (BAG) en de Basisregistratie Kadaster (BRK). Deze gegevens worden beheerd door respectievelijk gemeenten en het Kadaster, en worden regelmatig bijgewerkt. Energielabelgegevens komen uit de database van de Rijksdienst voor Ondernemend Nederland (RVO).
